ПЗ (1194655), страница 7
Текст из файла (страница 7)
Рисунок 3.3 – Контактная подвеска в пролете (а) и ее схема замещения (б)
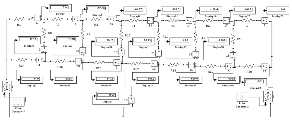
R1-R7– сопротивления участков несущего троса (ПБСМ-95); R9-R13 – сопротивления струн (БМ-4);
R14-R20 – сопротивления участков контактного провода (МФ-100); R8 – сопротивление электрического соединителя (М-70)
1 – источник тока (Iа=1500А); 10 – нагрузка (ЭПС)
Рисунок 3.4 – Электрическая модель одного пролета контактной подвески переменного тока
Как видно из рисунка 3.4 распределение токов между несущим тросом и контактным проводом соответствует выше приведенным расчетам, в дальнейшем расчеты будем производить с помощью программного пакета Matlab.
В результате моделирования процессов распределения токов между проводами контактной подвески постоянного и переменного тока следует, что различие в расчете на линиях постоянного и переменного тока заключается только в значении тока потребляемого ЭПС, а схема расчета одинакова. В дальнейшем для расчета будем использовать электрическую модель приведенную на рисунке 3.4.
3.3 Распределение тока в межподстанционной зоне при двухсторонней схеме питания
Рассмотрим двухстороннюю схему питания. Примем двухпутных участок с длиной межподстанционной зоны Lав, с постом секционирования (рисунок 3.5).
Рисунок 3.5 – Двухсторонняя схема питания меж
подстанционной зоны
Произведем теоретический расчет токов фидеров подстанций.
-
Разнесем ток I1 на подстанцию А и пост секционирования:
; (3.6)
. (3.7)
-
Разносим ток поста секционирования на подстанции:
; (3.8)
. (3.9)
-
Ток фидера подстанции А:
. (3.10)
Для анализа изменения тока фидера подстанции А в зависимости от расположения ЭПС зададимся следующими параметрами: lАВ=40 км, lАП=20 км, l1=1..20 км, I1=1500 А. При l1=20 км:
А;
А;
А;
А;
А.
Как видно из расчета при нахождении ЭПС на посту секционирования, подвижной состав питается от двух фидеров с одинаковым значением тока. Дальнейший расчет аналогичен приведенному выше, результаты сведены в таблицу 3.7.
Таблица 3.7 – Результаты расчета
| L1,км | Iфа1, А | Iпс, А | Iфв1, А |
| 20 | 750,0 | 1500,0 | 750,0 |
| 19 | 787,5 | 1425,0 | 712,5 |
| 18 | 825,0 | 1350,0 | 675,0 |
| 17 | 862,5 | 1275,0 | 637,5 |
| 16 | 900,0 | 1200,0 | 600,0 |
| 15 | 937,5 | 1125,0 | 562,5 |
| 14 | 975,0 | 1050,0 | 525,0 |
| 13 | 1012,5 | 975,0 | 487,5 |
| 12 | 1050,0 | 900,0 | 450,0 |
| 11 | 1087,5 | 825,0 | 412,5 |
| 10 | 1125,0 | 750,0 | 375,0 |
| 9 | 1162,5 | 675,0 | 337,5 |
| 8 | 1200,0 | 600,0 | 300,0 |
| 7 | 1237,5 | 525,0 | 262,5 |
| 6 | 1275,0 | 450,0 | 225,0 |
| 5 | 1312,5 | 375,0 | 187,5 |
| 4 | 1350,0 | 300,0 | 150,0 |
| 3 | 1387,5 | 225,0 | 112,5 |
| 2 | 1425,0 | 150,0 | 75,0 |
На рис.3.6 графически приведены изменения токов фидеров подстанции А и В, в зависимости от положения ЭПС по мере приближения к подстанции А.
Рисунок 3.6 – Токи фидеров в зависимости от
положения нагрузки
По результатам расчета видно, что по мере приближения к подстанции А нагрузки, ток фидера Iфа1 увеличивается по линейной зависимости а ток фидера Iфв1 убывает (рисунок 3.6). При нахождении нагрузки у места подключения фидера подстанции А, током фидера Iфв1 можно пренебречь.
Смоделируем в зоне поста секционирования, где питание осуществляется двумя фидерами с одинаковым значением током (750 А). Нагрузка находится в середине пролета.
В середине межподстанционной зоны питающие зажимы работают в критическом режиме, так как токи, протекающие по ним, превышают допустимые. Проанализируем величину протекающего тока через питающий зажим в зависимости от расположения нагрузки. Результаты моделирования сведены в таблицу 3.8.
Таблица 3.8 – Результаты моделирования
| L1,км | 20 | 18 | 16 | 14 | 12 | 10 | 8 | 6 | 4 | 2 |
| Iкп, А | 640,0 | 688,4 | 736,8 | 785,2 | 833,7 | 882,1 | 930,5 | 979,0 | 1027,0 | 1076,0 |
На рисунке 3.7 представлена электрическая модель одного пролета контактной подвески при двухстороннем питании
R1-R7– сопротивления участков несущего троса (ПБСМ-95); R9-R13 – сопротивления струн (БМ-4);
R14-R20 – сопротивления участков контактного провода (МФ-100); R8 – сопротивление электрического соединителя (М-70)
1 – источник тока (Iфа1=750А); 8 – источник тока (Iфв1=750А); 10 – нагрузка (ЭПС)
Рисунок 3.7 – Электрическая модель одного пролета контактной подвески при двухстороннем питании
В данной главе смоделировав подвеску в программной среде Matlab и выяснили как распределяется ток в межподстанционной зоне и по элементам контактной подвески, так же сравнили распределение тока при постоянном и переменном токе, определили ток протекающий в электрических соединениях.
По результатам моделирования определили изменение тока в контактной подвеске в зависимости от расстояния.
Вследствие проведенного анализа работы контактной сети, электрических соединений, выяснили, что определяющим фактором срока службы и надежности работы питающих зажимов является температура их нагрева. Статистика отказов в работе контактной сети показывает, что 10 % всех браков связанных с контактной сетью приходится на зажимы и детали. Около 20 % всех повреждений приходиться на недопустимые превышения температур в узлах контактной подвески.
В настоящее время применяется входной контроль питающих зажимов предложенный автором работы. Но зачастую входной контроль не может обеспечить надежность работы электрических зажимов в процессе эксплуатации. Используют различные методы дополнительного диагностирования зажимов и деталей контактной сети, одним из которых является тепловая диагностика.
3.4 Исследование коэффициента дефектности в цикле «нагрев‒охлаждение»
В работе Григорьева В.Л. и Игнатьева В.В. [84] подробно описан процесс создания уравнения нагрева провода:
|
| (3.11) |
где Спр – удельная теплоёмкость материала провода, Вт∙с/(кг∙К); mпр – погонная масса провода, м; I – тяговый ток, А; ρ20 – удельное электрическое сопротивление материала провода при температуре 20 °С, Ом∙мм2/м; S – площадь поперечного сечения провода, мм2; α´ – температурный коэффициент изменения сопротивления, 1/°С; Токр – температура воздуха, °С; θ(t) = Tпр – Токр – превышение температуры провода над температурой окружающей среды, °С;
– коэффициент, зависящий от температуры окружающей среды;Р – периметр сечения провода, м;h – угловой коэффициент прямой.
И процесс создания уравнения процесса охлаждения провода от его начального превышения θ0:
. (3.12)
В диссертационной работе предлагается решение уравнений теплового баланса 2.2 и 3.11 совместно с уравнениями охлаждения 2.12 и 3.12 в среде MathCAD (рисунок 3.8, а.).
Программный код для расчета температуры зажима в цикле «нагрев-охлаждение» в программной среде MathCAD [98]:
Спр :=375 – удельная теплоёмкость материала провода, Вт∙с/(кг∙К);
mпр :=0,132 –масса провода зажатого между плашками зажима, кг;
Сз :=61 – удельная теплоёмкость материала зажима, Вт∙с/(кг∙К);
mз :=0,5 –масса зажима, кг;
t := ‒заданный интервал времени, сек.;
tn := –время протекания тягового тока, сек.;
I(t) := – тяговый ток, А;
,














