ПЗ (1194655), страница 5
Текст из файла (страница 5)
, (2.10)
и возведения левой и правой частей выражения (2.10) в степень
, уравнение процесса охлаждения зажима примет вид:
. (2.11)
Если подставить значение
, получим конечную формулу для расчета превышения температуры зажима
при его охлаждении от начального превышения
в виде:
. (2.12)
Полученное уравнение описывает изменение температуры плашек зажима с течением времени при отсутствии тягового тока протекающего по соединению.
2.3 Экспериментальные исследования процесса охлаждения питающего зажима КС-053
С целью определения достоверности и погрешности вычислений, производимых по полученной формуле (2.12), был проведен ряд экспериментов.
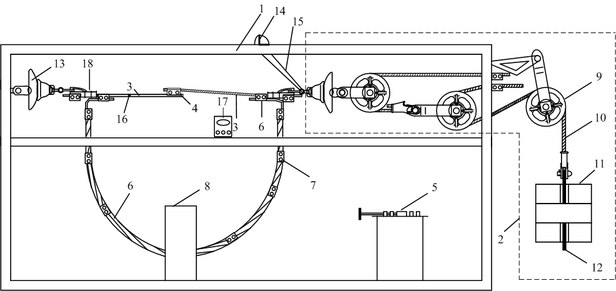
Опыты проводились на специально сконструированном стенде (рисунок 2.3) [86]. Особенностью конструкции стенда является возможность практически полного получения эксплуатационных условий. Для проведения испытаний размещение датчиков температуры и условия длины электрического соединения проводов (lc) принимались в соответствии с ГОСТ 12393-2013 (рисунок 2.4).
Электрическая схема стенда, представляет собой замкнутый контур, по которому пропускают необходимую величину тока. Чтобы создать ток в контуре, используется нагрузочный трансформатор, который индуцирует ток в замкнутом контуре величиной до 1000 А, что позволяет нагревать испытываемый образец до температуры более 300 0С. Для плавного регулирования тока в схеме применяется трансформатор РНО – 250/10. Контроль напряжения ведется двумя вольтметрами (до 300 В) на первичной и вторичной обмотках трансформатора, контроль тока в контуре осуществляется при помощи мультиметра, рассчитанного до 1000 А или при помощи двух трансформаторов тока типа УТТ – 5М, которые при последовательном присоединении создают кратность 6000/5 (1200). Температура нагрева контролируется при помощи цифрового термометра марки «Техноас» ТК-5, пирометра марки MIKRON M120 [92].
| Рисунок 2.3 - Испытательный стенд для токопроводящих элементов контактной подвески: 1 – металлическая рама; 2 – устройство натяжения; 3 – соединяемые провода; 4 – испытуемый зажим контактной сети; 5 – регулировочный трансформатор; 6 – шлейф параллельного провода; 7 – соединительные зажимы КС-053; 8 – трансформатор тока; 9 – трехблочный компенсатор температурных удлинений провода; 10 – трос; 11 – бетонные грузы; 12 – штанга для грузов; 13 – подвесные изоляторы ПС-70; 14 – балка страховочного троса; 15 – страховочный трос; 16 – температурный датчик, 17 – место установки термокамеры; 18 – натяжные зажимы |
|
|
| Рисунок 2.4 -Схема подключения датчиков при испытании соединений: |
Эксперимент проводился при температуре окружающего воздуха плюс 20С, нагрев осуществлялся током 600 А до температуры зажима 100 С с дальнейшим его охлаждением. Замеры температуры производились в соответствии со схемой, представленной на рисунке 2.4 с промежутком между измерениями 3 минуты. Результаты одного из экспериментов представлены на рисунке 2.5, на котором так же изображены планки погрешности в 5 %, по которым видно, что полученная формула (2.12) является адекватной.
Таблица 2.1 – Экспериментальное исследование процесса охлаждения
| Время, мин. | Температура зажима в ходе эксперимента, С | Температура зажима при мат. моделировании, С |
| 21 | 93,4 | 97,4 |
| 24 | 85,5 | 82,3 |
| 27 | 71,2 | 71,4 |
| 30 | 61,9 | 63,3 |
| 33 | 57 | 57,1 |
| 36 | 52,1 | 52,3 |
| 39 | 47,1 | 48,4 |
| 42 | 45,4 | 45,3 |
| 45 | 43,7 | 42,7 |
| 48 | 40 | 40,6 |
Рисунок 2.5 – Экспериментальное исследование процесса охлаждения
Методика, предложенная в работе [97] предполагает вычисление коэффициента дефектности в момент протекания по болтовому зажиму тягового тока. Было проведено математическое моделирование по предложенной методике с использованием полученного уравнения охлаждения для цикла «нагрев – охлаждение».
Проверка качества электрического контакта питающих зажимов контактной сети производится в соответствии с ГОСТ 12393-2013 [30], ГОСТ 10434-82 [87] и ГОСТ 17441-84 [88]. Болтовые соединения собирались тарированным ключом, момент затяжки варьировался от 10 до 40
. Нормируемой величиной затяжки является 30 и 40
в зависимости от типа болта.
Качество полученных соединительных узлов определяется коэффициентами дефектности электрического контакта:
1) по электрическому сопротивлению –
;
2) по перегреву условным номинальным током –
.
Коэффициенты дефектности соединений по нагреву
и по электрическому сопротивлению
были определены для питающего зажима КС-053-8 (соединений проводов М-95 и МФ-100).
Коэффициенты дефектности вычислялись по формулам:
|
| (2.13) |
|
| (2.14) |
где
,
,
и
соответственно сопротивления и падение напряжения на соединении и на участке целого провода той же длины, мкОм, мВ;
и
соответственно превышение температуры зажима и соединяемого провода вне зажима над температурой окружающего воздуха, 0С.
Коэффициент дефектности по сопротивлению определялся при помощи двойного моста как среднее арифметическое из пяти полученных значений. Результаты тепловых испытаний питающих зажимов подвески контактной сети, представлены в таблице 2.2 [89].
Таблица 2.2 - Показатели эффективности работы электрических соединений
| Вид арматуры | Коэффициент дефектности | |
|
|
| |
| Питающий, соединительный и переходной зажимы (нормируемое значение) | 1,0 | 0,9 |
| Питающий зажим без покрытия | 0,68-1,17 | 0,85-1,25 |
| Питающий зажим с серебряноцинковым покрытием | 0,52-0,72 | 0,75-0,82 |
Для определения коэффициента дефектности по нагреву
ток задавался равным 600 А согласно нормам [30] и поддерживался в процессе испытания неизменным с погрешностью 3–5 %.
Коэффициент дефектности по нагреву для питающих зажимов не должен превышать 0,9. Величина коэффициента дефектности показывает, насколько эффективнее соединительная арматура отводит тепло со своей поверхности, чем провод. В некоторых работах приводится разная трактовка того, каким должен быть по величине рассматриваемый коэффициент и ставится вопрос о способности коэффициента оценивать качество электрического соединения. Так, в работе [6] отмечено, что коэффициент дефектности по нагреву не может быть показателем качества работы зажимов КС из-за нестационарности режимов работы.
3 ВЛИЯНИЕ ПРОЦЕССА ОХЛАЖДЕНИЯ НА КРИТЕРИЙ ОЦЕНКИ СОСТОЯНИЯ ЭЛЕКТРИЧЕСКОГО СОЕДИНЕНИЯ
3.1 Распределение тока в подвеске
Контактная сеть (КС) должна обеспечивать бесперебойный токосъем электроподвижного состава (ЭПС). КС – нерезервированное сложное техническое сооружение электрифицированных железных дорог. Задача обслуживающего персонала – постоянно содержать устройства контактной сети и воздушные линии электропередач в технически исправном состоянии [12,13,18].
Система КС состоит из нескольких десятков элементов, которые соединены последовательно. При отказе одного из элементов выходит из строя вся система, что приводит к длительным перерывам в работе железнодорожного транспорта. Поэтому необходимо стремиться к более высокой надежности работы каждого элемента подвески в условиях эксплуатации.
Основные причины отказов устройств контактной сети приведены в таблице 3.1, 3.2
Таблица 3.1 – Количество нарушений нормальной работы контактной сети
| Показатели | Годы | ||||
| 2012 | 2013 | 2014 | 2015 | 2016 | |
| Количество случаев отказов по вине хозяйства «Э» | 937 | 843 | 561 | 502 | 419 |
| Количество случаев событий в работе | 6 | 6 | 6 | 4 | 2 |
| Удельная повреждаемость по вине «Э» | 0,9 | 0,8 | 0,5 | 0,47 | 0,2 |
Таблица 3.2 – Основные причины отказов устройств
| Основные причины отказов | Годы | ||||
| 2012 | 2013 | 2014 | 2015 | 2016 | |
| Недостатки эксплуатации, монтажа | 49,6 | 54,3 | 52,1 | 54,7 | 56,8 |
| Старение устройств | 20,4 | 20,0 | 16,5 | 15,51 | 14,9 |
| Влияние метеоусловий | 10,4 | 10,2 | 12,1 | 11,1 | 10,9 |
| По вине посторонних предметов | 11,9 | 15,5 | 19,3 | 29,5 | 31,5 |
Необходимо отметить, что контактная сеть наиболее уязвимый объект в системе тягового электроснабжения. Именно ее работа в большинстве случаев является причиной браков, задержек поездов.
— точки присоединения датчиков температуры нагрева;
— точки присоединения потенциальных концов измерительного прибора;
;
,














