Тузлуков Диплом (1192708), страница 2
Текст из файла (страница 2)
В качестве провода применяется провод марки АС-300/66 – алюминиевый провод со стальным сердечником российского производства. Провод предлагаемой марки провода имеет повышенную механическую прочность, что позволит обеспечить надёжность и устойчивость работы ВЛ без ограничения плавки гололёда.
Схема провода представлена на рисунке 2.1.
Рисунок 2.1 - Схема провода.
Паспортные данные провода АС 300/66 сведены в таблицу 2.1
Таблица 2.1 – Характеристики провода марки АС – 300/66
| Сечение, мм2: | |
| -алюминиевая часть | 288 |
| -стальная часть | 65 |
| Всего провода | 353 |
| Диаметр провода, мм: | 25 |
| Вес провода кг/км: | 1313 |
| Модуль упругости дaH/ мм2: | 7,7×10-3 |
| t коэффициент линейного удлинения, ×10-6 град-1: | 19,8×10-6 |
Окончание таблицы 2.1
| Допустимое U, даH/ мм2: | |
| -при средней температуре | 10,2 |
| -при низшей температуре | 15.3 |
| -при наибольшей нагрузке | 15.3 |
2.2 Выбор грозозащитного троса
Защита ВЛ от грозовых перенапряжений предусматривается грозозащитным тросом. В качестве грозотроса по всей длине линии будет использоваться трос со встроенным волоконно-оптическим кабелем связи ОКГТц-1-24(С.652)-13.9/58 представлен на рисунке 2.2:
Рисунок 2.2 - Волоконно-оптический
кабель ОКГТц-1-24
Параметры провода представлены в таблице 2.2:
Таблица 2.2 - Технические характеристики кабеля ОКГТц-1-24
| Характеристика грозотроса | |
| Сечение стали | 31.60 мм* |
| Сечение алюминиевой сплава | 77.75 мм* |
| Расчетное сечение | 109.35 мм* |
| Номинальный диаметр | 13.9 мм |
| Масса кабеля | 433 кг/км |
| Прочность на разрыв | 5920 кг |
| Максимально допустимая нагрузка | 3550 кг |
| Среднеэксплуатационная нагрузка | 1770 кг |
| R постоянному току при 20C | 0.374 |
| Е (модуль упругости конечный) | 87.48 |
| КТЛР | 17.85 |
| Рабочий диапазон температур | -60…+85 |
| Минимальная температура при монтаже | -30 |
3. ВЫБОР ТИПА ОПОР
На ВЛ 220 кВ Февральская- Рудная- типы опор были приняты с учетом марки подвешенных проводов, напряжения ЛЭП, условий прохождения трассы и климатических условий IV район по гололёду и III район по ветру.
В качестве анкерно-угловых опор приняты унифицированные стальные двухцепные и одноцепные анкерно-угловые опоры ВЛ 220 кВ типа У220-1 и У220-2 с подставками +5, +9 +14. При пересечении инженерных сооружений для обеспечения требуемых габаритах применяются двухцепные опоры с подвесом на средние траверсы. На участках косогоров с развитым склоном для снижения количества опор применяются двухцепные опоры с креплением провода только с одной стороны.
В качестве промежуточных приняты унифицированные стальные одноцепные промежуточные опоры ВЛ 220 кВ типа П220-3 с подставкой +5. Так же в качестве промежуточных приняты унифицированные стальные двухцепные промежуточные опоры ВЛ 220 кВ типа П220-2 с подставкой +5. На двухцепном участке совместной подвески с ВЛ 220 кВ Февральская-Тунгала в качестве промежуточных используются многогранные опоры ПМ220-2т представлены на рисунке 3.1. Анкерная опора представлена на рисунке 3.2.
Рисунок 3.1 - Опора типа ПС220-3
Рисунок 3.2 – Опора У220-1,У220-1+5, У220-1+9,
У220-1+14
4.ВЫБОР ИЗОЛЯЦИИ
Трасса проектируемой В Л 220 кВ Февральская - Рудная не попадает в зону влияния промышленных источников загрязнения, и в соответствии с п. 1.9.29 ПУЭ-7, отнесена к району с 1-й степенью загрязнения (СЗ). Удельная эффективная длина пути утечки изоляции составляет не менее 1,6 см/кВ.
Выбор изоляторов или изоляционных конструкций из стекла и фарфора производится по удельной эффективной длине пути утечки в зависимости от СЗ в месте расположения электроустановки и ее номинального напряжения.
ВЛ 220 кВ Февральская - Рудная, расположена в районе Крайнего Севера. Исходя из особо сложных климатических условий прохождения трассы, в соответствии с п.2.5.98 ПУЭ-7, на данной ВЛ следует применять стеклянную изоляцию.
С учетом коэффициента запаса прочности по механической нагрузке выбирается тип изолятора. Отношение нормативной нагрузки на изолятор к разрушающей электромеханической нагрузке называется коэффициент запаса прочности. Согласно [6], коэффициенты запаса прочности в режиме наибольшей нагрузки должны быть не менее 2,7, а в режиме среднегодовой температуры – не менее 5,0 [8, 9].
Гирлянда изоляторов поддерживающая воспринимает осевую нагрузку, состоящую из веса провода, гололеда и веса самой гирлянды в нормальных режимах. С учетом этого для выбора типа изоляторов расчетные условия в подвесной гирлянде имеют вид:
| | (4.1) |
где
– от веса провода нагрузка на изолятор, покрытого гололедом;
– от веса гирлянды, нагрузка на изолятор;
– нагрузка от веса провода на изолятор;
–электромеханическая разрушающая нагрузка.
Нагрузки
и
рассчитываем следующим образом:
| | (4.2) |
где
- длина весового пролета ; F –фактическое сечение провода общее;
- удельная нагрузка от веса провода и ветра, покрытого гололедом;
- удельная нагрузка от собственного веса провода.
Так как вес гирлянды неизвестен до выбора типа изолятора, то в выражение (4.1) подставляются усредненные значения
, известные из практики [6]. При номинальном напряжении ВЛ 220кВ усредненное значение веса гирлянды изоляторов составляет
.
Рассчитаем для изоляторов нагрузку поддерживающих гирлянд по формулам (4.1) и (4.2):
(4.1)
(4.2)
Эффективная длина пути утечки – в условиях загрязнения и увлажнения часть длины пути утечки, определяющая электрическую прочность изолятора.
Удельная эффективная длина пути утечки (эф.) – отношение наибольшего рабочего межфазного напряжения сети к эффективной длине пути утечки.
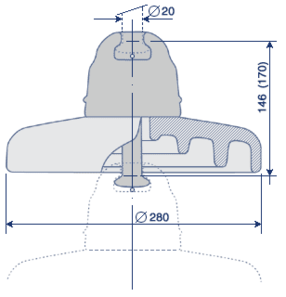
Технические характеристики подвесного изолятора ПС 70-Е представлены в таблице 4.1.
Таблица 4.1 – Технические характеристики подвесного изолятора ПС 70-Е
| Строительная высота, h, мм | 127 |
| Диаметр изолятора, D, мм | 255 |
| Длина пути утечки, мм | 303 |
| Механическая нагрузка, кН, не менее | 70 |
| Масса изолятора, кг, не более | 3,49 |
Перед монтажом изоляторы из закаленного стекла не требуют проверки на электрическую прочность. Характеристики изоляторов эксплуатационные зависят от аэродинамических показателей изолирующей детали («тарелки») изолятора. Хорошее обтекание изолятора способствует уменьшению загрязнения, лучше происходит его само очистка ветром и дождем, и как следствие, не происходит значительного снижения уровня изоляции в гирлянде. На рисуне 4.1 представлен типо изолятора ПС 70-Е.
Рисунок 4.1 - Тип изолятора ПС 70-Е
Далее в гирлянде после выбора типа изоляторов определяется их количество. Показатель количества должен быть таким, чтобы обеспечить надежную работу ЛЭП в условиях росы и тумана или моросящего дождя в сочетании с загрязнением поверхности изоляторов [6]. На металлических и железобетонных опорах определим по формуле количество подвесных тарельчатых изоляторов в поддерживающих гирляндах для ВЛ:
Эффективная длина утечки:
(4.3)
п
ри [3]
(4.4)
Количество изоляторов в гирлянде
(4.5)
В связи с возможностью выхода из строя отдельных изоляторов во время эксплуатации и относительно большой трудоемкостью их замены количество изоляторов увеличивают на один для ВЛ 220кВ [3].
Длина гирлянды изоляторов:
(4.6)
г
де– длина арматуры, м; – строительная высота изолятора, м;- число изоляторов в гирлянде.
Полученное значение изоляторов округляется до десяти штук и увеличивается на один. Общее число изоляторов в гирлянде составляет одиннадцать штук.
Выбор типа изоляторов натяжных гирлянд, воспринимающих нагрузку от тяжения провода и собственного веса гирлянда, производится по формуле (4.7); (4.8):
(4.7)
(4.8)
где
– напряжение в проводе при наибольшей нагрузке и при среднегодовой температуре, Па;
– сечение провода,
;
– вес гирлянды, кг: средние значение 80 кг;
(4.7)
(4.8)
Принимаем изолятор, выполненный из стекла типа ПС-160Д. Изолятор ПС 160Д представлен на картинке 4.2.
Рисунок 4.2 - Изолятор ПС-160 Д
Технические характеристики представлены в таблице 4.2
Таблица 4.2 - Техническая характеристика изолятора ПС-160Д
| Тип | Разрушающая механическая сила, кН, не менее | Длина пути утечки, мм | Напряжение, кВ, не менее | Масса, кг, не более | ||||
| Пробивное в изоляционной среде | Выдерживаемое импульсное | Выдерживаемое частотой 50 Гц | ||||||
| В сухом состоянии | Под дождем | |||||||
| ПС‒160Д | 160 | 370 | 130 | +100/-100 | 72 | 45 | 6 | |
Количество изоляторов находим по расчету представленного выше. Находим коэффициент
:















