Магистерская диссертация Суслов А.В. ИВ2 ДВГУПС 2017 (1189802), страница 5
Текст из файла (страница 5)
Анализ современных типовых решений малых и средних мостов показывает, что их просветность изменяется в пределах от 0,6 до 0,8, а соответствующие этим просветностям коэффициент сжатия – от 0,66 до 0,72. Поэтому для упрощения вычислений коэффициент сжатия потока может быть принят постоянным и равным 0,7.
Коэффициенты турбулентности
и
практически одинаковы и равны 0,06, а для потока в просвете он (
) в 4-5 раз больше, чем
и
[6]. Тогда, при
;
;
и с учетом выражения (4) расчетная формула получит вид:
Уравнением (5) описывается профиль изменения приземной скорости снеговетрового потока за фасадом моста, график приведён на рисунке 11.
Рисунок 11 – Профиль изменения приземной скорости снеговетрового потока за мостом (дефляционная метель). 1- профиль приземной скорости снеговетрового
потока; 2 – профиль отложений снега; 3 – область выметания снега
Анализ кривой скорости потока позволяет выделить две характерные области – область локального повышения скорости ветра под мостом и область относительного затишья в пространстве за мостом. Отсюда следует, что подмостовое пространство, равное 2-4 кратной высоте моста будет оголенным, а далее будет формироваться снежный вал, который занимает пространство, равное 4-6 высотам моста. Высота этого вала будет определяться мощность снежного покрова в районе расположения моста.
Приведенное выше теоретическое обоснование формирования снежного покрова в зоне малых и средних мостов при дефляционных метелях весьма удовлетворительно согласуется с натурными измерениями мощности снега у сооружений, расположенных вблизи г. Хабаровска. Для Хабаровска
, т.е. формирование снежного покрова происходит преимущественно в условиях дефляционных метелей.
Здесь же необходимо отметить еще несколько особенностей, связанных с формированием снежных отложений у искусственных сооружений при дефляционных метелях:
– процесс дефляции снега во многом зависит от преград на пути снеговетрового потока, таких как лес, холмы и прочее. Экспериментальные исследования [6] показывают, что в зоне их действии, равных 15-20 кратной высоте преграды, снегоперенос практически отсутствует, т.е. не хватает пространства для разгона метели;
– для процесса дефляции снега существенное значение имеет величина температуры воздуха. Известно, что температура воздуха, равная минус 5°С, является порогом слипаемости снежных частиц, и поэтому при температурах выше минус 5°С, дефляционные метели практически не возникают. В связи с этим расчетный период времени, когда происходит процесс дефляции снега следует ограничить интервалом температур воздуха ниже минус 5°С в начале и конце зимы;
– существенное значение для процесса отложения снега у искусственных сооружений имеет угол встречи снеговетрового потока и сооружения. Исследованиями [6] установлено, что в случае косых ветров, дующих под углом менее 30° к сооружению, возможно отложение снега непосредственно в подмостовом пространстве;
– данные проведенных натурных наблюдений за формированием снежного покрова в зоне ряда железнодорожных мостов, расположенных вблизи г. Хабаровска, на открытой местности, а также материалы, имеющиеся в литературе [3-5] показывают, что при высоте подмостового пространства, соизмеримой с высотой снежного вала, последний имеет тенденцию к движению в отверстие моста после достижения этой высоты. Поэтому, в местностях с большим количеством твердых осадков и метелей вполне может наблюдаться полная забивка подмостового пространства снегом. Однако высота снежного покрова остается при этом, как правило, на прежнем, первоначально достигнутом валом максимальном уровне.
Количество снега за время дефляционной метели (в г/сек на 1 пог. м. фронта сооружения) можно определить, используя выражение
.
Величина аккумуляции метелевого снега в зоне снижения скорости ветра от первоначальной (
) до конечной (
) определится выпадающим из потока излишком:
.
Приведенные выше результаты исследований по формированию снежного покрова в местах расположения малых и средних мостов могут быть использованы в практической деятельности при проектировании и эксплуатации этих сооружений. Они позволяют определиться с условиями формирования снежных отложений, а также оценить мощность и объемы отложений снега как при спокойном снегопаде (или верховой метели), так и при дефляционной метели.
Получаемые параметры аккумуляции снега в зоне мостов, могут быть использованы в математических моделях прогноза деградации вечномерзлых оснований, а также уточнения мощности деятельного слоя грунтов при расчетах мостовых опор на выпучивание.
-
Проблемы строительства автомобильных дорог в районах вечной мерзлоты
-
Укрощение деформаций. Проблемы проектирования автомобильных дорог в зоне вечной мерзлоты.
-
Строительство автомобильных дорог в сложных грунтово-гидрологических и природно-климатических условиях уже в течение нескольких десятков лет практически не обходится без применения тех или иных геосинтетических материалов. В зоне распространения вечномерзлых грунтов геосинтетики помогают решить две основные для этого региона задачи: предотвращение оттаивания мерзлых грунтов в основании сооружения и в непосредственной близости от него, и уменьшение деформаций оттаявшего основания до допустимых величин. Геосинтетики применяются в зоне вечной мерзлоты также и для выполнения других функций: дренирование, разделение, фильтрация, борьба с эрозией. Климат северных широт характеризуется низкой испаряемостью, в результате чего грунты имеют высокую суммарную влажность. Поверхность мерзлых грунтов является водоупором, поэтому при оттаивании грунты остаются пропитанными водой, вследствие этого имеют низкую несущую способность. По этой причине задача обеспечения устойчивости сооружения как правило и сводится к мерам, направленным либо на сохранение грунтов оснований в мерзлом состоянии, либо на снижение деформаций в оттаявшем грунте.
В настоящее время действующим нормативным документом, регламентирующим проектирование и строительство автомобильных дорог в зоне вечной мерзлоты, является ВСН 84-89 [1]. Документ предусматривает следующий порядок проектирования:
– исходя из грунтово-гидрологических и природно-климатических условий назначают принцип проектирования: первый, в соответствии с которым основание насыпи сохраняется в мерзлом состоянии и верхний горизонт вечной мерзлоты (ВГВМ) поднимается не ниже подошвы насыпи, или второй, допускающий оттаивание основания на расчетную глубину, исходя из его допустимой осадки (по СНиП 2.02.05-85, [2]);
– выполняют расчет требуемой высоты насыпи (по ее оси), сооружаемой в соответствии с 1 или 2 принципом.
В основу расчетных зависимостей для определения требуемой высоты насыпи положена нормативная глубина оттаивания грунта, из которого отсыпана насыпь, определяемая по справочным данным для района строительства дороги. Влияние материалов дорожной одежды, имеющих иные теплофизические характеристики, на глубину оттаивания дорожной конструкции, учитывают путем введения эквивалентных слоев, заменяя один материал другим, исходя из пропорциональной зависимости между толщиной слоя в конструкции и нормативной глубиной оттаивания материала этого слоя. Это справедливо при условии, когда глубина оттаивания зависит от времени линейно, что имеет место в первой половине теплого периода. В расчете высоты насыпи, запроектированной по 2-му принципу, учитывается допускаемая осадка для используемого типа покрытия.
Обычно высота насыпи, сооружаемой по 1-му принципу, составляет не менее 2,5 – 3,5 м для различных регионов зоны вечной мерзлоты.
В случае использования 2-го принципа при строительстве на непросадочных и малопросадочных при оттаивании грунтах, высоту насыпи назначают не ниже, чем по условию снегонезаносимости, что составляет от 1,3 м до 1,5 м в зависимости от региона и категории дороги. Как правило, ВГВМ поднимается под центральной частью насыпи на некоторую высоту, не достигая подошвы насыпи и опускается под ее откосом. Оттаивание многолетнемерзлых грунтов под откосами насыпи происходит потому, что мохоторфяной покров, являющийся естественным теплоизолятором, сжимается, а толщина слоя грунта над ним недостаточна, чтобы компенсировать термическое сопротивление мохоторфа. Торф может быть теплоизолятором только в неуплотненном состоянии, когда содержит большое количество воздуха и воды. Пузырьки воздуха одинаково препятствуют теплопередаче в летнее и зимнее время, вода же способствует понижению температуры грунтов основания, поскольку теплопроводность льда в 4 раза выше теплопроводности воды: в зимнее время лед, имея высокую теплопроводность, способствует охлаждению грунтов, а в летнее время вода с более низкой теплопроводностью препятствует их растеплению.
В силу этих причин основание под откосом насыпи является ее «слабым местом» независимо от высоты насыпи. Так, при увеличении ее высоты ВГВМ поднимается в тело насыпи, образуя в ее центральной части мерзлое ядро, которое, однако, не может препятствовать оттаиванию под откосами. При этом, чем выше насыпь, тем больше снега скапливается у подножия ее откосов. Как известно, снег является мощным природным теплоизолятором, оказывающим значительное влияние на процессы теплообмена между атмосферой и дневной поверхностью. При достижении снежным покровом определенной для данных природных условий мощности температура поверхности грунта под ним повышается, что может привести к деградации мерзлоты [3].
Следовательно, в регионах со значительным снегопереносом, например, в некоторых районах Крайнего Севера, следует ожидать оттаивания мерзлых грунтов под откосами насыпи независимо от ее высоты. Так, результаты компьютерного моделирования, выполненные в Центральной лаборатории инженерной теплофизики ОАО ЦНИИС, показали следующее [4]. Основание насыпи автомобильной дороги высотой 1,20 м в условиях г. Новый Порт оттаяло на глубину 1,30 м при фоновом оттаивании деятельного слоя на глубину 1 м, приведена на рисунке 12. В процессе реконструкции дороги предполагалось увеличить высоту насыпи до 3 м, график представлен на рисунке 13.
Рисунок 12 – Установившееся температурное поле в основании насыпи в конце
теплого периода года (октябрь) высота насыпи 1,2 м
Рисунок 13 – Установившееся температурное поле в основании насыпи в конце
теплого периода года (октябрь) высота насыпи 3 м
В этом случае ВГВМ под центральной частью насыпи поднимается к ее подошве, а под откосами опускается на глубину 2 м. Для того, чтобы снег не скапливался у откосов насыпи, их заложение должно быть 1:5 и положе, что по понятным причинам не практикуется.
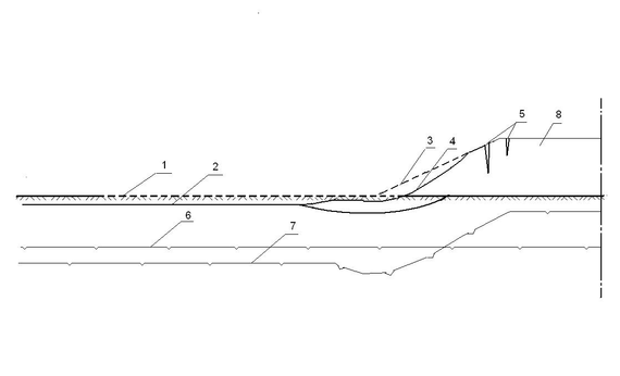
Вследствие просадок оттаявших грунтов обычно наблюдается деформация откоса: в нижней его части происходит сдвиг, в верхней части откоса и в теле насыпи образуются вертикальные трещины (так называемые трещины отседания). Затем происходит обрушение верхней части откоса и постепенное разрушение насыпи, рисунок 14.
Рисунок 14 – Деформация насыпи в результате просадки оттаявшего основания под ее откосом
На рисунке цифрами обозначены: 1-поверхность тундры до сооружения насыпи; 2 – то же, после сооружения; 3 – поверхность откоса насыпи по проекту; 4 – то же, после протаивания основания; 5 – трещины в теле насыпи; 6 – ВГВМ до сооружения насыпи; 7 – то же, после сооружения насыпи; 8 – насыпь.
Следовательно, проектирование насыпи в соответствии с ВСН 84-89 по 1-му принципу не обязательно обеспечивает ее устойчивость.
На устойчивость насыпи также влияет нарушение в процессе строительства мохорастительного покрова вдоль насыпи в зоне, примыкающей к ее подошве: тепловые потоки беспрепятственно перемещаются к основанию насыпи, способствуя повышению температуры многолетнемерзлых грунтов. Кроме того, в результате деградации мерзлоты происходит вытаивание льда, что может привести к обводнению сооружения. Если влага, присутствующая в торфе, способствует сохранению мерзлоты, то вода, стоящая около насыпи, вызывает обратный эффект: в летнее время под воздействием солнечной радиации вода нагревается и отепляет грунт. Если же вдоль насыпи рельеф имеет уклон, то достаточно часто наблюдается размыв с образованием канав, разрушающих откосы, рисунок 15.














