7_лаб (1172824), страница 2
Текст из файла (страница 2)
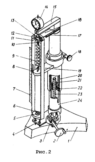
а) подвесить испытуемую пружину №1 зацепами к крючку 10 верхней планки рамки 11 и крючку кронштейна 19; вращением маховичка 2 переместить втулку 20 с кронштейном 19 вниз, слегка натягивая пружину, чтобы выбрать зазоры между зацепами пружины и крючками;
б) установить нулевое показание индикатора 14 поворотом его шкалы и отметить нулевое показание измерителя деформации λ0 по шкалам 7 и 8;
в) вращая маховичок 2, деформировать испытуемую пружину, фиксируя нагрузку P’ по индикатору 14 (число делений) и показания измерителя деформации λ’; при выполнении этого пункта , а также при испытании пружин сжатия (пункт 6) следить за тем, чтобы измерительная пружина 16 не садилась на упор 17; каждая пружина и соединения пружин здесь и далее испытываются не менее чем при 5 различных нагрузках;
г) результаты опытов по п.в) занести в табл.2;
д) снять пружину № 1 и повторить операции по пп. а)…г) с пружиной растяжения №2;
е) подвесить в установку пружины № 1 и 2, соединенные зацепами последовательно и проделать операции по п. а)..г).
5. Снять с помощью установки упругие характеристики двух пружин сжатия - каждой в отдельности и их параллельного соединения. Этот пункт выполняется в той же последовательности, что и п.5, при этом пружины располагаются между кронштейном 19 и нижней планкой 6 рамки 11 и фиксируются выступами 5 (при параллельном соединении пружины вставляют одна в другую). Результаты опытов по п.6 занесите в табл.3.
6. Проделайте необходимые вычисления для заполнения табл.2 и 3. Определите теоретические значения жесткостей Ктеор всех испытанных пружин и их соединений , используя формулы (1),(2),(3),(4), а также очевидную связьD=Dнар-d, где Dнар- наружный диаметр пружины (размеры пружин d и D необходимо измерить предварительно с помощью штангенциркуля).
7. По данным табл. 2 и 3 построить упругие характеристики λ= λ(P) испытанных пружин и их соединений . На одном рисунке разместить характеристики пружин растяжения и их последовательного соединения, на другом – характеристики пружин сжатия и их параллельного соединения. Найти значения жесткостей пружин Кэкспер из графиков и занести результаты в таблицы. Сравнить значения теоретических Ктеор и экспериментальных Кэкспер жесткостей и объяснить полученные результаты.
IV.СОДЕРЖАНИЕ ОТЧЕТА.
-
Наименование и цель работы.
-
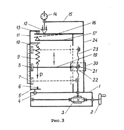
Схема установки (см.рис.3).
-
Основные теоретические формулы, которые использовались при выполнении работы.
-
Таблицы с результатами опытов (табл.1,2,3).
-
Графики упругих характеристик пружин и их соединений (на миллиметровой бумаге или бумаге в клеточку).
-
Ответы на контрольные вопросы карты Б.
КОНТРОЛЬНЫЕ ВОПРОСЫ ИЗ КАРТ А.
1. Как изменится жесткость винтовой пружины, если диаметр проволоки увеличить в 2 раза при сохранении прочих размеров и характеристик пружины неизменными?
2. Как изменится жесткость винтовой пружины, если диаметр D увеличить в 2 раза при сохранении прочих размеров и характеристик неизменными?
3. Как изменится жесткость винтовой пружины, если диаметр проволоки d и диаметр пружины D увеличить в 2 раза при сохранении прочих размеров и характеристик неизменными?
4. В результате неправильной термообработки жесткость пружины оказалась равной 0,4 Н/мм и меньше расчетной на 20%. Характеристики пружины таковы: D=20 мм, d=1 мм, число витков 25. Сколько витков должна иметь такая пружина при том же режиме термообработки , чтобы получить расчетное значение жесткости?
5. Чему равна относительная погрешность осевого усилия, развиваемого винтовой пружиной при сжатии, если отклонение диаметра проволоки от расчетного оценивается величиной 10%, а погрешность диаметра навивки, получающаяся при изготовлении равна 5% (остальные размеры и характеристики пружины выдерживаются точно)?
6. Чему равна относительная погрешность деформации винтовой пружины при растяжении, если отклонение диаметра проволоки пружины от расчетного значения оценивается величиной 5%, а погрешность диаметра навивки, получающаяся при изготовлении пружины равна 3% (остальные размеры и характеристики пружины выдерживаются точно)?
7.Определить жесткость соединения пружин, изображенных на рисунках.
8. Какую физическую величину непосредственно измеряет индикатор 14 в лабораторной установке (см.рис.2,3)?
9. Как отразится на результатах испытаний пружины растяжения подсоединение ее верхним зацепом не к крючку 10 рамки 11, а непосредственно к измерительной пружине 16 (см.рис.2 и 3), если бы такая возможность существовала?
10. Как повлияет на результаты испытаний подсоединение пружины растяжения верхним зацепом не к крючку 10 рамки 11, а к упору 17, если бы такая возможность существовала?
11. Для чего служит упор 17 в установке?
КОНТРОЛЬНЫЕ ВОПРОСЫ ИЗ КАРТ Б (ПРИМЕРЫ)
1. Какие значения С, полученные при тарировке ,лучше всего подходят для конкретной точки на снятой экспериментально упругой характеристике?
2. Чем объясняется отличие значений теоретических и экспериментальных жесткостей пружин?
3. Как пойдет упругая характеристика, если в начале испытаний зазоры между зацепами пружины и крючками установки выбраны не полностью?
4. Укажите основные источники погрешностей результатов испытаний.
5. Перечислите возможные погрешности в расчете значений жесткости.
6. Как зависят результаты испытаний от скорости вращения маховичка 2?
-
Как изменятся результаты испытаний, если при их проведении установка развернута на 90˚ (т.е. испытуемая пружина заняла горизонтальное положение)?
2 – маховичок,
3 – червячный редуктор,
4 – направляющий штифт,
5 – нижняя планка рамки,
6 – направляющий выступ,
7 – основная шкала,
8 – шкала нониуса,
9 –пружина растяжения,
10 - крючок,
11 – рамка,
12 – ножка индикатора,
13 – шарик,
14 – индикатор перемещения,
15 – кронштейн,
16 – плоская измерительная пружина,
17 – упор,
18 – винт (см. рис. 2),
19 – кронштейн,
20 – втулка,
21 – гайка,
22–соединительный палец,
23 – ходовой винт,
24 – направляющая колонка















