Главная » Просмотр файлов » ТРаздаточный материал (восстановленный)

ТРаздаточный материал (восстановленный) (1095675)

Файл №1095675 ТРаздаточный материал (восстановленный) (ОАПр.part4)ТРаздаточный материал (восстановленный) (1095675)2018-10-07СтудИзба
Просмтор этого файла доступен только зарегистрированным пользователям. Но у нас супер быстрая регистрация: достаточно только электронной почты!

Текст из файла

Взято из

nastran_2012_training_120_coursenotes.pdf

SECTION 2 INTRODUCTION TO THE FINITE ELEMENT METHOD

Методы решения инженерных задач

  • Как будет показано ниже, метод конечных элементов является одним из наиболее используемых методов решения инженерных задач

Методы решения инженерных задач

  • Классические аналитические методы:

  • Решения в замкнутой форме могут быть получены для ограниченного числа простейших задач, таких как, например, изгиб балок и кручение призматических брусьев;

  • Приближенные аналитические методы, использующие разложения в ряды искомого решения дифференциальных уравнений, применяются для анализа многих сложных конструкций, таких как пластины и оболочки;

  • Классические методы могут быть использованы только при исследовании конструкций относительно простых геометрии, вида нагружения и граничных условий.

Численные методы:

  • Метод граничных элементов

  • Преобразование дифференциального уравнения задачи к интегральным уравнениям на границе рассматриваемой области. При этом только граничная поверхность разбивается на подобласти

  • Метод конечных разностей

  • Дифференциальные уравнения задачи и граничные условия записываются соответствующими алгебраическими уравнениями в конечных разностях

Метод конечных элементов (МКЭ)

• Позволяет решать широкий круг сложных задач для конструкций с произвольной геометрией при различных видах нагружения и граничных условиях;

• Это универсальный инструмент проектировщиков и конструкторов для анализа конструкций, находящий все возрастающее применение в различных областях науки и техники;

• Метод Конечных Элементов известен в литературе как Матричный Метод Структурного анализа, поскольку для решения систем алгебраических уравнений используются формулировки матричной алгебры.

Идея метода конечных элементов

Метод Конечных Элементов (МКЭ) это приближенный численный метод исследования поведения сложных конструкций. Метод основан на представлении конструкции в виде совокупности малых и простых подобластей.

Эти малые подобласти конструкции называются конечными элементами. Все элементы соединяются между собой в узловых точках, называемых узлами.

Совокупность или ансамбль элементов и узлов называют конечно-элементной моделью конструкции. На рисунке в качестве примера показана конечно-элементная модель поршня с днищем.

Простейшая конечно-элементная модель головки поршня

SAMPLE FINITE ELEMENT MODEL

конечные элементы

  • Конечные элементы имеют формы, с помощью которых относительно просто описать геометрию конструкции и провести ее расчет. Существуют три основных типа конечных элементов beams, plates и solids.


Одномерные конечные элементы (1D)

Одномерные (1D) beam элементы используют для моделирования протяженных стержневых элементов конструкций, таких как, например, вышка ферменного типа.

Двумерные конечные элементы (2D)

Двумерные плоские элементы (2D) используются при

моделировании тонкостенных элементов конструкций, таких как оболочки фюзеляжа самолета, топливные отсеки ракет, кузова автомобиля и т.п.


Трехмерные конечные элементы (3D)

THREE DIMENSIONAL ELEMENTS

Трехмерные (3D) solid элементы используют при моделировании трехмерных тел или толстостенных конструкций таких как, например, головка поршня, показанного на рисунке:


Построение конечно-элементной модели

В Методе Конечных Элементов континуальная конструкция представляется совокупностью конечного числа подобластей -элементов.

При увеличении количества элементов, на которые разбивается конструкция (что соответствует уменьшению размеров элементов), получаемые результаты расчета стремятся к точному решению, но при этом время расчета также возрастает.

Пре-пост-процессор Patran предоставляет пользователю многочисленные инструменты для построения конечно-элементной модели конструкции с учетом сбалансированного соотношения между точностью вычислений и размерностью модели.

Сущность МКЭ и этапы его практической реализации

Основные особенности МКЭ

  • Одна из задач в МКЭ является задача дискретизация рассматриваемой области, заключающаяся в ее аппроксимации ансамблем элементов простых форм;

  • При этом связь каждого элемента с окружающими его элементами осуществляется по общим для смежных элементов узлам.


• Каждый узел дискретной модели может иметь шесть независимых движений: три линейных перемещения (translations) и три вращательных движения (rotations). Эти движения называются степенями свободы узла (the degrees of freedom (DOF)).

• Условие равновесия типичного конечного элемента, выделенного из ансамбля элементов дискретной модели, в матричной форме записи имеет вид

[ k ]e { u }e = { f }e , где

[ k ]e матрица жесткости конечного элемента, учитывающая геометрию области, свойства материала и свойства используемого конечного элемента;

{ f }e – вектор приведенных к узлам сил, действующих на элемент;

{ u }e – неизвестный вектор узловых перемещений элемента, характеризующий перемещения узлов при воздействии на элемент приложенных сил.

 S- 16

[ k ]e { u }e = { f }e

Условие равновесия конечного элемента (е)

• Матрицы жесткости всех конечных элементов дискретной модели объединяются в глобальную матрицу жесткости системы. Векторы узловых сил также объединяются в глобальный вектор узловых сил системы. В результате может быть получено матричное уравнение равновесия дискретной модели конструкции:

[ K ] { u } = { F }

17

[ k ]e { u }e = { f }e [ K ] { u } = { F }

Elemental Equation Global Equation

  • Граничные условия (Boundary Condition)

NAS120, Section 2, July 2012

C• Следующим необходимым этапом при решении задачи по МКЭ является задание граничных условий для рассматриваемой модели( модель закрепления). Математически это выражается в исключении из уравнений системы строк и столбцов матрицы жесткости, соответствующих закрепленным степеням свободы.


[ K ] { u } = { F }

Global Matrix Equation

with boundary condition

applied

Последовательность расчета по мкэ -6

• Finally, the global matrix equation is solved to determine the unknown nodal displacements.

• Element strains and stresses are then computed from the nodal displacements.AS120, Section 2, July 2012

Deformation Plot Stress Fringe Plot

• В итоге после введения граничных условий уравнение равновесия дискретной модели может быть разрешено относительно неизвестных узловых перемещений.

• По найденным узловым перемещениям могут быть вычислены компоненты тензоров деформаций и напряжений

Последовательность расчета по мкэ -7

Summary of the finite element method:

Represent continuous structure as a collection of discrete elements connected by nodes

Derive element stiffness matrices from material properties, element properties, and geometry, July 2012

Assemble all element stiffness matrices into a global stiffness matrix [K]

Assemble loads into a global load vector {F}

Apply boundary conditions to constrain the model

Solve the matrix equation [K] {u} = {F} for nodal displacements

Compute strains and stresses from displacement results

Представление континуальной структуры совокупностью дискретных элементов, соединенных в узлах

Формирование матриц жесткости элементов с учетом свойств материала, типа элемента и геометрии

Объединение матриц жесткости элементов в глобальную матрицу жесткости системы [K]

Формирование глобального вектора узловых сил системы дискретных элементов {F}

Задание граничных условий в модели закрепления системы

Решение матричного уравнения [K] {u} = {F} относительно узловых перемещений

Вычисление компонент деформаций и напряжений по найденным значениям узловых перемещений


формулировка матрицы жесткости конечного элемента

FORMULATION OF THE ELEMENT STIFFNESS MATRIX

A key step in the displacement method is the formulation of the

element stiffness matrix

Each element in a finite element model is represented by an

element stiffness matrix [K]e

A single-rod case study is used to demonstrate the element

stiffness matrix formulation for a rod element

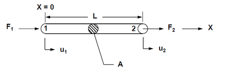
Пример: Вывод матрицы жесткости для стержневого элемента

CASE STUDY: ROD ELEMENT STIFFNESS MATRIX

  • Рассмотрим упругий стержень постоянного сечения А и длиной L при действии осевой нагрузки

  • При этом перемещения u1 и u2 есть осевые перемещения только точек начала 1 и конца 2 стержня (далее их будем называть узлами), т.е. узловые перемещения стержня.

  • Говорят, что такой стержневой элемент имеет две степени свободы.

Рассмотрим последовательность получения матрицы жесткости такого стержневого элемента по шагам.

• Step 1: Satisfy static equilibrium

  • Шаг 1: Уравнение статического равновесия стержня

или

(1)

Характеристики

Тип файла
Документ
Размер
23,88 Mb
Материал
Тип материала
Высшее учебное заведение

Тип файла документ

Документы такого типа открываются такими программами, как Microsoft Office Word на компьютерах Windows, Apple Pages на компьютерах Mac, Open Office - бесплатная альтернатива на различных платформах, в том числе Linux. Наиболее простым и современным решением будут Google документы, так как открываются онлайн без скачивания прямо в браузере на любой платформе. Существуют российские качественные аналоги, например от Яндекса.

Будьте внимательны на мобильных устройствах, так как там используются упрощённый функционал даже в официальном приложении от Microsoft, поэтому для просмотра скачивайте PDF-версию. А если нужно редактировать файл, то используйте оригинальный файл.

Файлы такого типа обычно разбиты на страницы, а текст может быть форматированным (жирный, курсив, выбор шрифта, таблицы и т.п.), а также в него можно добавлять изображения. Формат идеально подходит для рефератов, докладов и РПЗ курсовых проектов, которые необходимо распечатать. Кстати перед печатью также сохраняйте файл в PDF, так как принтер может начудить со шрифтами.

Список файлов курсовой работы

ОАПр (для baumanki
OAPRMax
OAPr (chapter 2)
Resistance
Доказательство на разных разбиениях
Resistance
4
Stable 4
Stable
Защиты
Защита 0
Защита 1
Защита 2
Защита 3
Защита 4
Правки
Вариант 9
Oapr_work
ОАПР
Правки
Вариант 17
Что-то с лекций
0
balka1.DBALL
balka1.IFPDAT
balka1.MASTER
balka1.bdf
balka1.db.bak
balka1.db.jou
Свежие статьи
Популярно сейчас
Как Вы думаете, сколько людей до Вас делали точно такое же задание? 99% студентов выполняют точно такие же задания, как и их предшественники год назад. Найдите нужный учебный материал на СтудИзбе!
Ответы на популярные вопросы
Да! Наши авторы собирают и выкладывают те работы, которые сдаются в Вашем учебном заведении ежегодно и уже проверены преподавателями.
Да! У нас любой человек может выложить любую учебную работу и зарабатывать на её продажах! Но каждый учебный материал публикуется только после тщательной проверки администрацией.
Вернём деньги! А если быть более точными, то автору даётся немного времени на исправление, а если не исправит или выйдет время, то вернём деньги в полном объёме!
Да! На равне с готовыми студенческими работами у нас продаются услуги. Цены на услуги видны сразу, то есть Вам нужно только указать параметры и сразу можно оплачивать.
Отзывы студентов
Ставлю 10/10
Все нравится, очень удобный сайт, помогает в учебе. Кроме этого, можно заработать самому, выставляя готовые учебные материалы на продажу здесь. Рейтинги и отзывы на преподавателей очень помогают сориентироваться в начале нового семестра. Спасибо за такую функцию. Ставлю максимальную оценку.
Лучшая платформа для успешной сдачи сессии
Познакомился со СтудИзбой благодаря своему другу, очень нравится интерфейс, количество доступных файлов, цена, в общем, все прекрасно. Даже сам продаю какие-то свои работы.
Студизба ван лав ❤
Очень офигенный сайт для студентов. Много полезных учебных материалов. Пользуюсь студизбой с октября 2021 года. Серьёзных нареканий нет. Хотелось бы, что бы ввели подписочную модель и сделали материалы дешевле 300 рублей в рамках подписки бесплатными.
Отличный сайт
Лично меня всё устраивает - и покупка, и продажа; и цены, и возможность предпросмотра куска файла, и обилие бесплатных файлов (в подборках по авторам, читай, ВУЗам и факультетам). Есть определённые баги, но всё решаемо, да и администраторы реагируют в течение суток.
Маленький отзыв о большом помощнике!
Студизба спасает в те моменты, когда сроки горят, а работ накопилось достаточно. Довольно удобный сайт с простой навигацией и огромным количеством материалов.
Студ. Изба как крупнейший сборник работ для студентов
Тут дофига бывает всего полезного. Печально, что бывают предметы по которым даже одного бесплатного решения нет, но это скорее вопрос к студентам. В остальном всё здорово.
Спасательный островок
Если уже не успеваешь разобраться или застрял на каком-то задание поможет тебе быстро и недорого решить твою проблему.
Всё и так отлично
Всё очень удобно. Особенно круто, что есть система бонусов и можно выводить остатки денег. Очень много качественных бесплатных файлов.
Отзыв о системе "Студизба"
Отличная платформа для распространения работ, востребованных студентами. Хорошо налаженная и качественная работа сайта, огромная база заданий и аудитория.
Отличный помощник
Отличный сайт с кучей полезных файлов, позволяющий найти много методичек / учебников / отзывов о вузах и преподователях.
Отлично помогает студентам в любой момент для решения трудных и незамедлительных задач
Хотелось бы больше конкретной информации о преподавателях. А так в принципе хороший сайт, всегда им пользуюсь и ни разу не было желания прекратить. Хороший сайт для помощи студентам, удобный и приятный интерфейс. Из недостатков можно выделить только отсутствия небольшого количества файлов.
Спасибо за шикарный сайт
Великолепный сайт на котором студент за не большие деньги может найти помощь с дз, проектами курсовыми, лабораторными, а также узнать отзывы на преподавателей и бесплатно скачать пособия.
Популярные преподаватели
Добавляйте материалы
и зарабатывайте!
Продажи идут автоматически
7026
Авторов
на СтудИзбе
260
Средний доход
с одного платного файла
Обучение Подробнее