Динамика печатного аппарата листовой ротационной машины (1095021), страница 2
Текст из файла (страница 2)
Рис. 2. Изменение прогиба в средней Рис. 3. Изменение прогиба в средней
точке оси печатного цилиндра точке оси печатного цилиндра
при n = 300 об / мин. (без учета выемки) при n = 300 об / мин (с учетом выемки) .
внешней нагрузке стремится к постоянной величине (рис.2 ). Наличие выемки существенно меняет характер колебательного процесса. После переходных процессов в системе устанавливаются колебания, обусловленные периодическим изменением изгибной жесткости цилиндра, частота которых зависит от скорости вращения (рис.3).
Печатный цилиндр обладает достаточной жесткостью и соответственно высокой первой собственной частотой, поэтому попадание в область динамической неустойчивости вблизи главного параметрического резонанса при частотах вращения современных печатных машин практически невозможно. Однако параметрические колебания печатного цилиндра, тем не менее, будут возбуждаться вследствие периодического изменения изгибной жесткости (рис.3), и частота этих колебаний будет зависеть от частоты вращения.
Наряду с параметрическими колебаниями печатный цилиндр испытывает воздействие сил натиска. Для исследования возникающих при этом динамических явлений было получено решение уравнения (1) с учетом и без учета периодического изменения изгибной жесткости при внешней нагрузке
, представленной в виде последовательности трапецеидальных импульсов.
Рис. 4. Изменение прогиба в средней Рис. 5. Изменение прогиба в средней
точке оси .печатного цилиндра при точке оси .печатного цилиндра
n= 300 об /мин(без учета выемки). при n= 300 об / мин(с учетом выемки).
Как видно из полученных результатов, давление натиска на печатный цилиндр, у которого нет выемки, передается без искажения его характера (рис.4). Наличие выемки приводит к тому, что в процессе печати передача давления натиска существенно искажается из-за изменения изгибной жесткости цилиндра (рис.5), причем во время печати, когда натиск постоянный, жесткость печатного цилиндра является наибольшей.
В работе рассмотрено влияние на динамику печатного цилиндра изношенности или дефектов подшипников, которые в печатных машинах являются источником вибраций с довольно широким спектром частот.
Для исследования влияния изношенности подшипников на динамику печатного цилиндра представим его в виде твердого тела длиной l, массой m и моментом инерции I, который имеет по краям упругие участки (цапфы) с шарнирными или упругими опорами. Со стороны этих опор на печатный цилиндр действует кинематические воздействия
, обусловленные
Рис. 6. Упрощённая схема печатного цилиндра
несовершенствами подшипников (рис.6). Уравнения движения этой системы запишутся
где
- перемещение центра масс и угол поворота печатного цилиндра,
- единичные перемещения, l – длина печатного цилиндра,
- длина упругих участков (цапф). Для гармонических кинематических воздействий
со стороны опор были получены решения для перемещения центра масс печатного цилиндра и его угловых перемещений
На рис.7 и 8 представлен характер колебаний печатного цилиндра, который при различных амплитудах и частотах кинематических воздействий со стороны опор имеет довольно сложную структуру.
Рис.7 Характер движения центра Рис.8. Характер угловых
масс печатного цилиндра перемещений печатного
цилиндра
На рис. 9 и 10 представлены амплитудно-частотные характеристики печатного цилиндра. Видно, что при несимметричном расположении печатного цилиндра
угловые и линейные колебания являются связанными и имеют два резонанса. При симметричном расположении (
) эти колебания
Рис.9. Амплитудно-частотная Рис.10. Амплитудно-частотная
характеристика перемещений характеристика угловых перемещений
центра масс печатного цилиндра печатного цилиндра
разделяются, и на амплитудно-частотных характеристиках наблюдается только один резонанс на парциальных частотах.
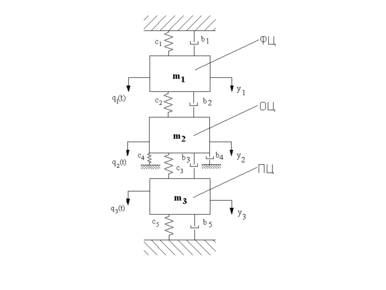
В третьей главе представлено исследование динамических процессов, которые происходят в печатном аппарате листовой ротационной машины. В качестве расчетной модели системы цилиндров печатного аппарата выбрана трехмассовая колебательная система (рис. 11), в которой каждая масса соответствует определенному цилиндру, а жесткости эквивалентны изгибной жесткости цилиндров, цапф, жесткости декеля и подшипников.
Рис. 11. Трехмассовая модель печатного аппарата
На рис.11 приняты следующие обозначения: ФЦ - формный , ОЦ – офсетный, ПЦ – печатный цилиндры. Колебания трехмассовой системы описываются следующей системой уравнений
(10)
Здесь приняты следующие обозначения:
- массы,
- коэффициенты демпфирования,
- коэффициенты жесткости упругих элементов расчетной схемы,
- внешняя нагрузка, которая учитывает давление натиска.
Рассматриваемая трехмассовая динамическая модель печатного аппарата ПМ (рис.11) позволяет исследовать влияние размеров технологических выемок цилиндров, числа оборотов и сил натиска на характер динамических процессов. Если в систему уравнений (10) ввести параметрические слагаемые, которые появляются в результате периодического изменения изгибной жесткости цилиндров при их вращении, то она примет вид
(11)
Результаты численного интегрирования систем уравнений (10) и (11) представлены на рис. 12–13 для параметров печатного аппарата печатной машины Speedmaster 102 при внешней нагрузке, представленной в виде последовательности трапецеидальных импульсов
Рис. 12. Радиальные колебания Рис. 13. Радиальные колебания
печатного цилиндра печатного цилиндра
В четвертой главе рассматриваются установившиеся колебания цилиндров печатного аппарата при случайных кинематических воздействиях. Для решения задачи используется метод спектральных представлений, по которому для перемещений у(t), (t) и кинематических воздействии
вводятся следующие интегральные представления
где Y, Ф() и Gj -случайные спектры, удовлетворяющие условиям стохастической ортогональности. После подстановки (13) в уравнения (8)
получаем систему уравнений относительно спектров Y и Ф()
Решение этой системы уравнений относительно спектров
и
имеет вид
Далее составляя моментные соотношения для случайных спектров и, учитывая свойство их стохастической ортогональности, получаем соотношения для спектральных плотностей линейных и угловых перемещений цилиндра
Представим, что кинематические воздействия со стороны подшипников представляют собой разные случайные процессы. Со стороны левого подшипника кинематическое воздействие представляет собой процесс со скрытой периодичностью со спектральной плотностью вида
Здесь
- дисперсия кинематического воздействия
,
0 - несущая частота;
- параметр широкополосности. Несущая частота пропорциональна частоте вращения печатного цилиндра. При этом кратностью этой частоте можно моделировать определенные дефекты подшипников. Кинематическое воздействие со стороны правого подшипника является широкополосным случайным процессом со спектральной плотностью
(18) где
- дисперсия кинематического воздействия
;
- параметр широкополосности. Численные результаты получены для печатного цилиндра печатной машины Speedmaster 102. На рис. 14 и 15. представлены спектральные плотности для линейных и угловых перемещений (
). Как видно из графиков, наибольшее влияние на линейные и угловые перемещения печатного цилиндра оказывают кинематические воздействия, обладающие несущей частотой, которое проявляется в наличии дополнительного резонанса.
Рис.14. Спектральная плотность Рис.15. Спектральная плотность
линейного перемещения центра угловых перемещений
масс печатного цилиндра печатного цилиндра
Рассмотрим колебания печатного аппарата ротационной полиграфической машины, которые происходят при случайных кинематических воздействиях, обусловленных дефектами или изношенностью подшипников. Эти колебания описываются системой уравнений (11). В матричном виде эта система уравнений запишется следующим образом
где матрицы
Для решения задачи используем метод спектральных представлений, по которому для перемещений
и кинематических воздействий
введем следующие интегральные представления
где Yj, и Gj -случайные спектры, удовлетворяющие условиям стохастической ортогональности. После подстановки (20) в уравнение (19) получаем следующую систему линейных алгебраических уравнений для спектров
















