8 - Приложение (1094734), страница 5
Текст из файла (страница 5)
begin
if SaveDialog1.Execute then
begin
Label1.Caption:= SaveDialog1.FileName;
RegIni:= TRegistry.Create;
RegIni.RootKey:= HKEY_LOCAL_MACHINE;
RegIni.OpenKey('Software\Naladchik', true);
RegIni.CreateKey('a');
RegIni.WriteString('pach', SaveDialog1.FileName);
RegIni.CloseKey;
RegIni.Free;
end;
end;
end.
Приложение Б
(рекомендуемое)
Тема: Конвертор для повышения эффективности перепрограммирования станков с ЧПУ
Основные типы станков с ЧПУ и их характеристики
Всего листов - 6
2011
Токарные станки с ЧПУ предназначены для наружной и внутренней обработки сложных заготовок деталей типа тел вращения. Они сотавляют самую значительную группу по номенклатуре в парке станков с ЧПУ. На токарных станках с ЧПУ выполняют традиционный комплекс технологических операций: точение, отрезку, сверление, нарезание резьбы и др.
В основе классификации токарных станков с ЧПУ лежат следующие признаки:
- расположение оси шпинделя (горизонтальные и вертикальные станки);
- число ипользуемых в работе инструментов (одно- и многоинструментальные станки);
- способы их закрепления (на суппорте, в револьверной головке, в магазине инструментов);
- вид выполняемых работ (центровые, патронные, патронно-центровые, карусельные, прутковые станки);
- степень автоматизации (полуавтоматы и автоматы).
Центровые станки с ЧПУ служат для обработки заготовок деталей типа валов с прямолинейным и криволинейным контурами. На этих станках можно нарезать резьбу резцом по программе.
Патронные станки с ЧПУ предназначенны для обточки, сверления, развертывания, зенкерования, цекования, нарезания резьбы метчиками в осевых отверстиях деталей типа фланцев, зубчатых колес, крышек, шкивов и др.; возможно нарезание резцом внутренней и наружной резьбы по программе.
Патронно-центровые станки с ЧПУ служат для наружной и внутренней обработки разнообразных сложных заготовок деталей типа тел вращения и обладают технологическими возможностями токарных центровых и патронных станков.
Карусельные станки с ЧПУ применяют для обработки заготовок сложных корпусов.
Токарные станки с ЧПУ (рисунок ПБ1) оснащают револьверными головками и магазином инструментов. Револьверные головки бывают четырех-, шести- и двенадцатипозиционные, причем на каждой позиции можно устанавливать по два инструмента для наружной и внутренней обработки заготовки. Ось вращения головки может распологаться параллельно оси шпинделя, перпендикулярно к ней или наклонно.
Рисунок ПБ1 – Токарный станок с ЧПУ:
1, 2 – револьверные головки
Фрезерные станки с ЧПУ предназначены для обработки плоских и пространнственных поверхностей заготовок сложной формы. Конструкции фрезерных станков с ЧПУ аналогичны конструкциям традиционных фрезерных станков, отличие от последних заключается в автоматизации перемещений по УП при формообразовании.
В сонове классификации фрезерных станков с ЧПУ лежат следующие признаки:
- расположение шпинделя (горизонтальное вертикальное);
- число координатных перемещений стола или фрезерной бабки;
- число используемых инструметнов (одноинструментные и многоинструментные);
- способ установки инструментов в шпиндель станка (вручную или автоматически).
По компоновке фрезерные станки с ЧПУ делят на четыре группы:
- вертикально-фрезерные с крестовым столом;
- консольно-фрезерные;
- продольно-фрезерные;
- широкоуниверсальные инструментальные.
В отдельных случаях на фрезерных станках при обработке заготовок простой формы в условиях средне- и крупносерийного производства также применяют системы ЧПУ.
Во фрезерных станках с ЧПУ в качестве привода главного движения используют асинхронные двигатели (в этих случаях имеется коробка скоростей) или электродвигатели постоянного тока.
На небольших фрезерных станках с прямоугольным ЧПУ применяют один приводной электродвигатель постоянного тока и коробку передач с автоматически переключаемыми электромагнитными муфтами, а на тяжелых станках с контурным управлением каждое управляемое координатное перемещение осуществляется от автономного электропривода постоянного тока.
Приводы движения подач фрезерных станков с ЧПУ имеют короткие кинематические цепи, передающие движение от двигателя непосредственно исполнительному органу.
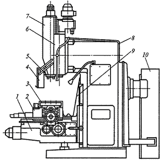
Компоновка вертикально-фрезерного консольного станка с ЧПУ (рисунок ПБ2) мало отличается от компоновки традиционного станка без ЧПУ. На станине 8 монтируют узлы и механизмы станка. Станина спереди имеет направляющие, закрытые кожухом 9, по которым перемещается консоль 1. На горизонтальных направляющих смонтированы салазки 2, по продольным направляющим которых передвигается стол 3. На привалочной плоскости станины закреплена фрезерная бабка 6, по вертикальным направляющим которой перемещается ползун 7 со шпинделем 5. В соответствии с требованиями безопасности труда ползун имеет защитный щиток 4. Сзади станка расположен шкаф 10 с электрооборудованием и УЧПУ.
Рисунок ПБ2 – Фрезерный станок с ЧПУ:
1 – консоль; 2 – салазки; 3 – стол; 4 – защитный щиток; 5 – шпиндель; 6 – фрезерная бабка;
7 – ползун; 8 – станина; 9 – кожух; 10 - шкаф
Вертикально-сверлильные станки с ЧПУ в отличии от аналогичных станков с ручным управлением оснащены крестовыми столами, автоматически перемещающими заготовку по осям X и Y, в результате чего отпадает необходимость в кондукторах или в ее предварительной резметке.
Радиально-сверлильные станки с ЧПУ имеют подвижную по оси X колонну, подвижный по оси Y рукав со шпиндельной бабкой, в которой смонтирован сверлильный шпиндель, перемещающийся по оси Z. Помимо этого рукав при наладке может перемещаться в вертикальном направлении.
Автоматизированные перемещения рабочих органов сверлильных станков по осям X и Y обеспечивают выполнение обработки отверстий и фрезерования.
Сверлильные станки оснащают позиционными УЧПУ, позволяющими автоматически установить рабочие органы в позицию, заданную программой. Режущий инструмент на сверлильных станках с УЧПУ закрепляют непосредственно в коническом отверстии шпинделя или с помощью промежуточных втулок и оправок.
Общий вид вертикально-сверлильного станка модели 2Р135Ф2-1, оснащенного ЧПУ, показан на рис. 6. На основании 1 смонтирована колонна 10, по прямоугольным вертикальным направляющим которой перемещается суппорт 4, несущий револьверную головку 3. На колонне 10 смонтированы коробки скоростей 5 и редуктор подач 6. Салазки 2 крестового стола перемещаются по горизонтальным направляющим основания 1, а верхняя часть 11 стола-по направляющим салазок. С правой стороны станка расположены шкафы 8 с электрооборудованием и УЧПУ 9. Станок имеет подвесной пульт 7 управления.
Рисунок ПБ3 – Вертикально-сверлильный станок с ЧПУ:
1 – основание; 2 – салазки стола; 3 – револьверная головка; 4 – суппорт; 5 – коробка скоростей; 6 – редуктор подач; 7 – подвесной пульт управления; 8 – шкаф электрооборудования; 9 – устройство ЧПУ; 10 – колонна; 11 - стол
Благодаря оснащению многоцелевых станков (МС) устройствами ЧПУ и автоматической смены инструмента существенно сокращается вспомогательное время при обработке и повышается мобильность переналадки. Сокращение вспомогательного времени достигается благодаря автоматическим установке инструмента (заготовки) по координатам, выполнению всех элеметнов цикла, смене инструметнов, кантованию и смене заготовки, изменению режимов резания, выполнению контрольных операций, а также большим скоростям вспомогательных перемещений.
По назначению МС делятся на две группы: для обработки заготовок корпусных и плоских деталей и для обработки заготовок деталей типа тел вращения. В первом случае для обработки используют МС сверлильно-фрезерно-расточной группы, а во втором-токарной и шлифовальной групп. Рассмотрим МС первой группы, как наиболее часто используемые.
МС имеют следующие характерные особенности: наличие инструментального магазина, обеспечивающего оснащенность большим числом режущих инструментов для высокой концентрации операций (черновых, получистовых и чистовых), в том числе точения, растачивания. фрезерования, сверления, зенкерования, развертывания, нарезания резьб, контроля качества обработки и др.; высокая точность выполнения чистовых операций (6...7-й квалитеты).
Рисунок ПБ4 – Горизонтальный многоцелевой сверлильно-фрезерно-расточной станок с ЧПУ:
1 – поворотный стол; 2 – зажимные приспособления; 3 – шпиндель; 4 – шпиндельная бабка;
5 – автооператор; 6 – иструментальный магазин; 7 – стойка; 8 – поворотная платформа;
9 – заготовка; 10 – стол-спутник; 11 – система ЧПУ; 12 – шкаф для электрооборудования
Приложение В
(обязательное)
Тема: Конвертер для повышения оперативности перепрограммирования станков с ЧПУ
Руководство пользователя
Всего листов - 13
2011
Назначение программы. Программа предназначена для конвертирования исходного текста программ для станков с ЧПУ и предназначена для использования на производстве в различных областях.
Программа позволяет:
-
конвертировать программный текст в любою из доступных программе систем;
-
удалять лишние пробелы;
-
удалять пустые строки;
-
восстанавливать периодическую нумерацию кадров;
-
задавать шрифт(цвет, размер, тип);
-
печать документа;
-
визуальный контроль обработки;
-
менять регистр букв к заглавным(что требует синтаксис программ);
-
разбивать программу на заданное количество частей;
-
осуществляет поиск и замену по образцу.
Условия выполнения программы. Разработанная программа является приложением MS Windows. Для ее работы требуется наличие на компьютере операционной системы MS Windows 98/NT4.0/2000/XP и все вытекающее отсюда техническое обеспечение.
Кроме того, требуется:
-
физическая память 1Mб + память на используемые и создаваемые из текстовые файлы (не менее 10 Мб);
-
оперативная память 2*размер используемого файла. При нехватке оперативной памяти может использоваться виртуальная память. А за счет того, что все данные находятся в памяти, сильно сокращается время решения задач.
Для написания программы использовалась среда разработки Borland Delphi 7.
Выполнение программы. Программа представлена в виде формы, в главном окне которого производится выбор функции программы. Режим работы программы – диалоговый. Все выполняемые программой функции запускаются с помощью соответствующих кнопок.
Для запуска программы оператор из оболочки системы Windows должен произвести запуск файла Наладчик.ехе
Рисунок ПВ1 - Главное окно программы
Рисунок ПВ2 - Панель инструментов
----- открыть файл
----- сохранить файл
----- распечатать содержимое поля редактирования
----- при нажатии этой кнопки появляется дополнительный диалог обработки (см. далее)
----- очистить поле редактирования
----- при нажатии этой кнопки появляется дополнительный диалог замены (см. далее)
----- при нажатии всё содержимое поля редактирования преобразуется к верхнему регистру
------ при нажатии появляется дополнительный диалог (разбивка файла на несколько частей)
Меню файл:
Выход – выход из программы;
Сохранить – вызов диалогового окна (Сохранить как);
Открыть – вызов диалогового окна (Сохранить как);
Печать – вызов диалогового окна (Печать).
















