7 - 2.Специальный раздел (1094697), страница 2
Текст из файла (страница 2)
В базе данных хранится также массив информации о сотрудниках предприятия. По одному (или нескольким) из этих адресов и отправляется процент стоимости оплаты за выполненные работы для начисления ему в бухгалтерии заработной платы.
Хранение информации в базе данных о товаре, услугах и сотрудниках позволяет быстро и без ошибок использовать их при проведении расчетов.
Для вывода и отображения результатов в программе предусмотрен блок вывода выходной информации.
Учитывая возможности системы программирования, в дипломном проекте приято решение об отображении входной и выходной информации на едином окне интерфейса пользователя с выделением различных панелей.
Вся справочная и промежуточная информация хранится в базе данных, взаимодействие программы с которой осуществляется через СУБД.
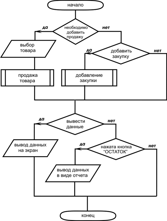
Ниже представлена структурная схема разработанной программы.
2.4 Разработка алгоритмов модулей
В данном пункте представлены схемы алгоритмов основных модулей программного средства разработанной в дипломном проекте автоматизированной системы.
При помощи основного модуля программы «Авторизация» осуществляется вывод формы для ввода данных оператором программного средства, после чего он вводит пароль, так производится авторизация пользователя.
В модуле «Продажа товара» производятся операции по выбору товара, ввода цены товара и занесению данных в базы данных, связанные с программой, осуществляется вывод на экран данных и отчётов.
Посредством модуля «Добавление закупок» выполняются основные операции по поиску необходимого товара или услуги по закупочной цене, продажной цене, количеству и наименованию товаров и услуг, занесению этих данных в связанные с программным средство базы данных. Так же с помощью данного модуля выполняется выведение отчётов на печать.
1
2
3
6
7
4
5
8
9
2.5 Разработка интерфейса пользователя
2.5.1 Описание интерфейса программы
При открытии программы «Бытовая техника» необходимо запустить Access, открыть программу с таким названием (рисунок 2.4). Можно также запустить из любого окна, например, «Мой компьютер» или «Проводник».
Рисунок 2.4 - Главное окно разработанной АСУ
Главное меню программы предназначено для управления последовательностью действий. Оно представляет собой несложную древовидную структуру. Наиболее просто элемент меню выбирается с помощью мыши. Сначала выбирается элемент главного меню, в результате чего раскроется соответствующее подменю. Главное меню программы состоит из следующих подменю:
-
товары (ввод справочной информации);
-
документы (ввод, просмотр и печать документов);
-
проверка качества (просмотр, добавление, редактирование и печать документов);
-
управленческие факторы (просмотр управленческих факторов);
-
справка (сведения о программе);
-
выход (выход из ИС).
Рассмотрим более подробно каждый из элементов меню.
При выборе меню «Вывод» раскрывается подменю с выбором следующих пунктов:
-
прибыль (содержит информацию о прибыли предприятия за определенный период);
-
приход (содержит информацию о поступлении товара в количественном и в денежном выражении);
-
продажа (содержит информацию о продажах товара в количественном и в денежном выражении за указанный период).
При выборе меню «менеджер» раскрываются пункты:
-
продаж (содержит информацию о товаре, который готовится к оплате покупателем, т.е. он уже выбран, показывается его стоимость);
-
закупок (содержит информацию о товаре, который готовится к закупке предприятием торговли, т.е. он уже выбран, показывается его стоимость).
При нажатии этих кнопок появляется форма для ввода пароля, показанная на рисунке 2.5.
Рисунок 2.5 – Форма ввода пароля
При выборе меню «Документы» раскрывается подменю с выбором документов.
При выборе меню «Справка» открывается подменю «О программе». В этом подменю указаны сведения о программе кем и когда была сделана программа.
Меню «Выход». При нажатии на этот пункт меню система закрывается, и выходит из неё.
При запуске программы БЫТОВАЯ_ТЕХНИКА появляется окно «Бытовая техника LG», в котором появляется меню с кнопками. В появившемся окне видны кнопки, назначение которых интуитивно понятно из их названия.
Нажать кнопку «Товар». Исходными данными для программы являются данные о товаре, которые содержатся в таблице или представленные в виде формы. Здесь можно вносить данные о поступивших новых товарах, изменять сведения у имеющихся (например, цену). Для этого нужно использовать окно «Запись» в левом нижнем углу и кнопки
или
для изменения, для добавления кнопку
. Изменять и вносить данные можно непосредственно в таблицу (рисунок 2.6).
Рисунок 2.6 Окно типа товара
Для добавления нового типа товара, которого ранее не было (например, DVD), необходимо нажать кнопку «Тип», появится окно «Ввод типа товара», показанное на рисунке 2.8, в которое необходимо внести требуемые данные.
В окне «Приход» , заносятся данные о количестве полученного товара, от кого поступил, затраты на его покупку. Для правильной работы необходимо обязательно указать дату в соответствующем окне. При необходимости можно сформировать и отпечатать накладную. Для этого достаточно щелкнуть по кнопке «Накладная»
. Для анализа продаж за период достаточно щелкнуть по кнопке
, появится окно, показанное на рисунке 2.7.
Рисунок 2.7 - Окно данных о товаре в табличной форме
Рисунок 2.8 - Окно прихода товара
Кнопка «Цены» позволяет получить и при необходимости отпечатать форму для внесения изменений цены товара.
Для анализа остатка товара необходимо щелкнуть по кнопке «ОСТАТОК», высветится форма в виде страниц текста (рисунок 2.9).
Рисунок 2.9 - Окно отчета об остатках товара
Группа кнопок «Вывод» служит для анализа прибыли, и продаж.
Окно «Приход» имеет вид, показанный на рисунке 2.9.
Рисунок 2.10 - Окно данных о приходе
После нажатия на кнопку
высвечиваются данные по форме.
2.5.2 Тестирование и отладка программы
На этап отладки и тестирования программ приходится около 50% всей работы над разработкой программного обеспечения.
Тестирование — это процесс выполнения программы с целью обнаружения в ней ошибок. Такое определение цели стимулирует поиск ошибок в программах. Отсюда также ясно, что «удачным» тестом является такой, на котором выполнение программы завершилось с ошибкой. Напротив, «неудачным» можно назвать тест, не позволивший выявить ошибку в программе.
Существует два основных вида тестирования: функциональное и структурное. При функциональном тестировании текст программы не используется. Происходит проверка соответствия поведения программы ее внешней спецификации. Очевидно, что критерием полноты тестирования в этом случае являлся бы перебор всех возможных значений входных данных, что невыполнимо.
Поскольку исчерпывающее функциональное тестирование невозможно, речь может идти о разработки методов, позволяющих подбирать тесты не «вслепую», а с большой вероятностью обнаружения ошибок в программе.
При структурном тестировании текст программы открыт для пользования. Происходит проверка логики программы. Полным тестированием в этом случае будет такое, которое приведет к перебору всех возможных путей на графе передач управления программы (ее управляющем графе). Даже для средних по сложности программ число таких путей может достигать десятков тысяч. Если ограничиться перебором только линейных не зависимых путей, то и в этом случае исчерпывающее структурное тестирование практически невозможно, так как неясно, как подбирать тесты, чтобы обеспечить «покрытие» всех таких путей. Поэтому при структурном тестировании необходимо использовать другие критерии его полноты, позволяющие достаточно просто контролировать их выполнение, но не дающие гарантии полной проверки логики программы.
Но даже если предположить, что удалось достичь полного структурного тестирования некоторой программы, в ней, тем не менее, могут содержаться ошибки, так как:
-
программа может не соответствовать своей внешней спецификации, что в частности, может привести к тому, что в ее управляющем графе окажутся пропущенными некоторые необходимые пути;
-
не будут обнаружены ошибки, появление которых зависит от обрабатываемых данных (то есть на одних исходных данных программа работает правильно, а на других - с ошибкой).
Таким образом, ни структурное, ни функциональное тестирование не может быть исчерпывающим.
Рассмотрим подробнее основные этапы тестирования программных комплексов. В тестирование многомодульных программных комплексов можно выделить четыре этапа:
-
тестирование отдельных модулей;
-
совместное тестирование модулей;
-
тестирование функций программного комплекса (то есть поиск различий между разработанной программой и ее внешней спецификацией);
-
тестирование всего комплекса в целом (то есть поиск несоответствия созданного программного продукта сформулированным ранее целям проектирования, отраженным обычно в техническом задании).
На первых двух этапах используются, прежде всего, методы структурного тестирования, так как:
-
на последующих этапах тестирования эти методы использовать сложнее из-за больших размеров проверяемого программного обеспечения;
-
последующие этапы тестирования ориентированы на обнаружение ошибок различного типа, которые не обязательно связаны с логикой программы.
При тестировании, как отдельных модулей, так и их комплексов должны быть решены две задачи:
-
построение эффективного множества тестов;
-
выбор способа комбинирования (сборки) модулей при создании трестируемого варианта программы.
Отладка выполнялась с помощью точек останова и наблюдения за значениями некоторых переменных. При обнаружении ошибок устанавливалась точку останова, и выполнялись несколько операторов в пошаговом режиме. Над выявленным ошибочным оператором производились действия по отладке.
Также был использован метод отладки приложения на тестовых данных. Использование данного метода дает возможность проверки правильности работы алгоритмов расчета. Метод базируется на составлении тестовых данных и ручном вычислении по используемым в программе алгоритмам. Далее полученные значения сравниваются с результатами вычисления программы.
Отладка программы выполнялась как в процессе разработки, так и в процессе тестирования приложения. Были выявлены ошибки, связанные с несовпадением типов файлов в таблицах базы, с незначительными отклонениями от требуемой функциональности программы, а также ошибки, возникающие в процессе работы программы, связанные с неверной организацией работы пользователя. Выявленные ошибки были исправлены, после чего программное средство повторно тестировалось. Результаты повторных тестов показали соответствие разработанной программы требуемому программному средству.















