Расчет песколовки, отстойника, флотатора (Вариант 6) (1094683), страница 2
Текст из файла (страница 2)
На 1 моль ионов водорода потребуется 0.5 Са(ОН)2.
14. Объемно-массовая концентрация Са(ОН)2.
Чтобы повысить рН с 5.0 до 7.0 потребуется добавить
Са(ОН)2.
-
Количество 10% Са(ОН)2.
-
Расход известкового молока при окислении Fe2+ в Fe3+.
-
Количество 10% Са(ОН)2.
-
Общее количество 10% Са(ОН)2.
-
Плотность 10% Са(ОН)2.
-
Объем 10% Са(ОН)2.
-
Количество Fe(OH)3 выпадающего в осадок.
-
Количество Fe(OH)3 оседающего за 3 суток.
-
Количество СаСO3 выпадающего в осадок.
-
Количество СаСO3 оседающего за 3 суток.
-
Количество Al(OH)3 выпадающего в осадок.
-
Количество Al(OH)3 оседающего за 3 суток.
-
Общее количество осадка.
-
Расход Н2О вместе с осадком удаляемым из одного отстойника.
- в воде в откачиваемом осадке
-
Диаметр дренажной трубы.
Диаметр отверстия дренажной трубы
Скорость движения осадка по трубе
-
Площадь всех отверстий.
- коэффициент перфорации трубы
-
Количество отверстий.
-
Шаг между отверстиями.
-
Расход кислорода в реакционной камере
33.1 Количество израсходованного кислорода, рассчитанное по реакции
33.2 Количество добавленного кислорода
В воде присутствует 4,5 мг/л, а надо 8 мг/л.
33.3 Расход кислорода
-
Объем кислорода
В воде растворено только 6% кислорода
33.5. Объем воздуха в трех секциях
33.6. Объем воздуха в одной секции
-
Расчет габаритов отстойника при реальных условиях
tвозд= 20С = 293К
Рвозд= 2 атм = 0.2 МПа
возд= 1.29 кг/м3
34.1. Объем воздуха при реальных условиях
34.2. Плотность воздуха при реальных условиях
34.3. Скорость газа в трубе
34.4. Диаметр всех труб для подачи воздуха
34.5. Диаметр трубы для подачи воздуха
В реакционной камере 3 секции, т.е. 3 трубы для подачи воздуха
34.6. Количество секций по длине
Длина трубы подачи воздуха L=9м
34.7. Диаметр дренажных труб
34.8. Объем воздуха в отверстии
34.9. Диаметр трубы для подачи 10% раствора
Скорость
, поступающего самотеком из бака
Флотацию применяют для удаления из сточных вод нерастворимых диспергированных примесей, которые самопроизвольно плохо растворяются. В некоторых случаях флотацию используют и для удаления растворенных веществ, например ПАВ. Такой процесс называют пенной сепарацией или пенным концентрированием. Флотацию применяют для очистки сточных вод многих производств: нефтеперерабатывающих, искусственного волокна, целлюлозно-бумажных, кожевенных, машиностроительных, пищевых, химических. Ее используют так же для выделения активного или после биохимической очистки.
Достоинствами флотации являются непрерывность процесса, широкий диапазон применения, небольшие капитальные и эксплуатационные затраты, простая аппаратура, селективность выделения примесей, по сравнению с отстаиванием большая скорость процесса, а так же возможность получения шлама более низкой влажности (90 – 95%), высокая степень очистки (95 – 98%), возможность рекуперации удаляемых веществ.
Элементарный акт флотации заключается в следующем: при сближении поднимающегося в воде пузырька воздуха с твердой гидрофобной частицей разделяющая их прослойка воды при некоторой критической толщине прорывается и происходит слипание пузырька с частицей. Затем комплекс пузырек – частица поднимается на поверхность воды, где пузырьки собираются, и возникает пенный слой с более высокой концентрацией частиц, чем в исходной сточной воде.
Определите габариты флотатора. Насыщение воды воздухом при напорной флотации происходит в эжекторе. Рабочее давление воды Рр = 5 атм. Коэффициент, учитывающий степень недостижения равновесия, f = 0.8. Глубина флотатора Н = 3м.
Среднее расчетное атмосферное давление Р = 750 мм. рт. ст.
Диаметр пузырей воздуха во флотаторе принимать
.
Скорость движения воды во флотаторе Wф = 10 – 20 м/ч, а в отстойнике Wo = 4 – 6 м/ч.
Количество пены, образующейся при флотации – 20% от общего объема воды.
Пена из лотка отсасывается насосом, скорость движения пены по лотку в трубе отсоса Wп = 2 м/с.
Исходные данные
R = 0.5
tв= 10С
Для определения равновесной концентрации воздуха растворенного в воде используем закон Генри
МН2О = 18 моль/л
РАСЧЕТ ФЛОТАТОРА
-
Объем воды в рецикле
-
Определяем объем воздуха, необходимого для насыщения воды рецикла газом
-
Концентрация воздуха в воде
-
Концентрация твердых частиц в воде
Массовый расход на входе
Объемный расход
-
Скорость всплытия пузыря
-
Время пребывания пузыря в слое воды
Норма всплытия пузыря не менее 10 мин
-
Необходимый объем флотатора
Устанавливаем 2 флотатора в системе очистки воды, поэтому
Выбираем флотатор цилиндрической формы
-
Диаметр флотатора
Принимаем 8 м (стандартный)
-
Скорость движения жидкости во флотационной камере
-
Скорость жидкости
-
Скорость движения воды в отстойнике
Рекомендуемая скорость в отстойнике Wотс = 4 6 м/ч
Принимаем Wотс = 5 м/ч
РАСЧЕТ ДИАМЕТРА ТРУБЫ ДЛЯ ОТВОДА ПЕНЫ
-
Количество пены, образующейся при флотации
-
Длина лотка
-
Диаметр трубы для отвода пены
Принимаем 160 м
-
Удельная нагрузка на длину слива
СХЕМА ФЛОТАТОРА
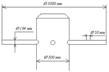
СХЕМА ОРОСИТЕЛЯ
РАСЧЕТ ОРОСИТЕЛЯ ДЛЯ ПОДАЧИ ВОДЫ
-
Диаметр трубы для подачи воды
Скорость жидкости в трубе, подаваемой насосом Wж = 1 м/с
Принимаем стандартный диаметр трубы
-
Диаметр горизонтальных труб
Количество труб n = 6
-
Количество отверстий
-
Длина трубы для подачи воды
Диаметр оросителя 5000 мм
-
Шаг между отверстиями
2
















