Лабораторная работа. Групповая обработка деталей на токарном станке. Методичка (1094215), страница 3
Текст из файла (страница 3)
Из приведенных формул следует, что с уменьшением числа технологических групп у, охватывающих детали х типоразмеров, растет сокращение подготовительно-заключительного времени. Поэтому из всех вариантов группирования надо найти оптимальный, при котором
Полученный эффект будет существенным, если Tшi и Ni
будут относительно небольшими в сравнении с Тп.з. В данной работе принимается Тп.з = 30 мин.
4. Для получения КД базовые и обрабатываемые поверхности деталей рассматриваемой технологической группы обозначаются определенными знаками, например, базовые -буквами, а обрабатываемые -цифрами (рис. 36).
Рис. 40. Детали технологической группы: комплексная (а) и составляющие в форме диска (б), втулки (в), вала (г)
На КД показываются поверхности, по которым осуществляют наладку группового приспособления. При наладке резцов №5 (см. табл. 29) ступень I кулачков патрона обеспечивает установку втулки и валика, а ступень III - установку диска. Для токарного станка с ЧПУ все поверхности, обрабатываемые одним и тем же инструментом, отмечаются одинаковыми индексами. Так, все поверхности, отмеченные цифрой 1, должны обрабатываться упорным резцом. Размеры и форма поверхностей при этом обеспечиваются соответствующими командами, записанными в УП обработки.
Если в технологическую группу включить поверхности, диаметры которых уменьшаются при движении инструмента к патрону
(см. рис. 38, б), то необходимо применить контурный резец вместо упорного, хотя упорный и является более прочным.
5. На схеме инструментальной наладки станка (рис.41, а) показываются номера резцов (см. рис. 39), используемых для обработки соответствующих оцифрованных поверхностей КД (см. рис. 40, а) и номера занимаемых резцами гнезд (пазов) резцедержателя. Изменение углов в динамике у резцов, обрабатывающих гладкие поверхности (рис. 41, б), показывается на эскизах режущей части инструментов, находящихся в рабочем положении.
Рис. 41. Порядок размещения резцов в инструментальных гнездах резцедержателя (а) и изменение углов
и
упорных резцов (б) в процессе обработки поверхностей КД
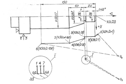
6. На РТК (рис. 42) изображается контур детали с настроечными размерами (в данной работе они заменяются номинальными), обозначается начало координат ZO - «плавающий нуль», в качестве которого чаще всего принимается правый торец детали. Начало координат по оси X всегда совпадает с осью вращения шпинделя.
Рабочие и вспомогательные движения инструментов на РТК изображают соответственно утолщенными и пунктирными линиями со стрелками, показывающими направление движения. Точки, в которых резец изменяет направление своего движения, называют опорными и обозначают цифрами с указанием числовых значений координат (на рис. 38 они показаны только для одного чистового перехода).
Очередной резец начинает свое ускоренное перемещение из исходного положения Оп («программный нуль»), где осуществляется автоматическая установка требуемого инструмента, определяемая по номеру гнезда, в котором этот инструмент должен быть установлен.
Ускоренное перемещение резца заканчивается в точке 1 - исходной точке цикла, и начинается рабочее перемещение, после окончания которого резец быстро возвращается в исходное положение.
Рис. 42. РТК чистового обтачивания вала (см. рис. 40, г)
7. УП составляют в соответствии с принятой в УЧПУ 2Р22 системой кодирования и порядком построения кадра, которые приводятся здесь в сокращенном виде применительно к данной лабораторной работе.
УП включает в себя отдельные кадры, содержащие переменное количество слов. Каждое слово состоит из буквы, называемой адресом, и следующей за ней группы цифр. В одном кадре нельзя программировать два и более слов одного адреса. Порядок слов в кадре - произвольный.
Величины перемещений инструмента можно задавать в абсолютных и относительных координатах с точностью 0,001 мм. Перемещение вдоль оси шпинделя задают по адресу Z в абсолютных, а по адресу W в относительных координатах (приращениях). Перемещения в радиальном направлении задают по адресу X в абсолютных, а по адресу U в относительных координатах.
Для обработки конических и криволинейных поверхностей необходимо в одном кадре записать координаты конечной точки перемещения по обеим осям. Во втором случае, кроме того, указывают адрес R со знаком, положительным при обработке по часовой стрелке и отрицательным при обработке против часовой стрелки.
Перемещения по осям осуществляются с подачей, записанной в ближайшем предшествующем кадре. Если в конце кадра проставлена буква Е, при отработке кадра резцедержатель совершает быстрый ход по указанным координатам. Символ Е не отменяет действие заданной рабочей подачи в последующих кадрах.
В табл. 30 приведены кадры, содержащие команды на перемещение упорного резца №1(см. рис. 39) при выполнении чистового перехода, (см. рис. 42).
Таблица 30
Фрагмент УП с информацией о перемещении инструмента при обработке гладких наружных поверхностей вала (см. рис. 40, г)
| № кад- ра | Кодовая запись ко- манд | Содержание выполняемых действий |
| i+1 | X24 Z+l E | Быстрое перемещение инструмента к заготовке |
| i+2 | X28 Z-l | Снятие фаски 1x45° |
| i+3 | Z-20 | Обтачивание цилиндрической поверхности Ø28 |
| i+4 | X30 | Точение заплечика от Ø28 до Ø30 |
| i+5 | X50 W-60 | Точение конической поверхности с Ø30 до Ø50 |
| i+6 | Z-l50 | Обтачивание цилиндрической поверхности Ø50 |
Номер гнезда, в котором размещен резец, скорость резания и рабочая подача записаны в предыдущих кадрах.
















