1 (1088765), страница 2
Текст из файла (страница 2)
Однако эквивалент углерода не учитывает наличие в металле сварного соединения водорода, а так же влияние растягивающих напряжений, и как следствие его использование применимо только для примерной оценки свариваемости при выборе материала, использующегося в конструкции.
Для экспресс-оценки склонности конструкции к образованию холодных трещин используется следующее параметрическое уравнение:
,
где
- количество диффузионного водорода в металле шва, установленное глицериновым методом [мл/100г],
-постоянная зависящая от жесткости конструкции для пробы «Тэккен 685»(находится в пределах 200÷1000Н/мм2),
- толщина стали[мм],
-параметр, учитывающий химический состав стали, определяется параметрическим уравнением Ито-Бессио:
При
>0.286 возможно образование холодных трещин. Уравнение применимо низколегированным высокопрочным сталям с низким содержанием C, при сварке с погонной мощностью 17кДж/см
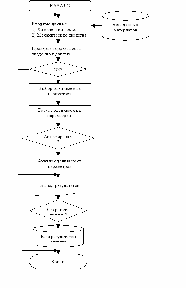
ОПИСАНИЕ ПРОГРАММЫ
Для реализации вышеперечисленных расчетных методов оценки свариваемости мною была написана программа в среде программирования Delphi. Использование данной среды позволило сделать процесс вычисления и анализа параметров свариваемости сталей быстрым, «прозрачным» для пользователя.
Данная программа использует элементы графического интерфейса операционной системы Windows, знакомой миллионам пользователей, что позволило сделать процесс оценки параметров свариваемости быстрым, удобным и не требующим специального обучения.
Программа написана таким образом, что для её использования нет необходимости покупки отдельного дорогостоящего программного обеспечения, для работы программы необходим только персональный компьютер с установленной на нем операционной системой Windows.
Программа «Свариваемость» имеет небольшой размер, позволяющий переносить на самой обычной дискете не только программу, но и базу химических составов различных материалов, включающей в себя около 450 различных записей.
В данной программе предусмотрена защита от неправильного ввода входных данных, что придает данному продукту стабильность, программа может работать в «стрессовых» для операционной системы ситуациях.
Разработанное программное обеспечение имеет большую функциональность:
Возможно использование её не только для оценки параметров свариваемости, но и в качестве электронного марочника сталей, так как в программе предусмотрено создание и редактирование базы данных различных материалов.
Данное программное обеспечение проводит оценку множества различных параметров свариваемости. Их общее число на данный момент 17. Но надо заметить, что программный продукт написан, так, что возможно добавление ещё 83 параметров без существенного изменения исходного кода программы.
В разработанной программе разделён расчет и оценка параметров, это сделано с расчетом на возможное изменение различных стандартов, а так же для обеспечения возможности для научно-исследовательской работы.
Так же в программе предусмотрена возможность как полного анализа материала, так и оценки его по отдельным, выбираемым пользователем параметрам
В программном продукте реализована возможность сохранения полученных результатов анализа, что позволяет создавать базы данных результатов и в последствии их анализировать.
Программа не требует установки на компьютер и может работать с переносных носителей, при условии возможности записи файлов на них.
Главное окно программы представлено на рис.3.
Рис.3. Главное окно программы
Исходный текст программы представлен в Приложении 1.
^ РЕЗУЛЬТАТЫ РАСЧЕТА СТАЛЕЙ НЕФЕТЕГАЗОВОГО СОРТАМЕНТА
С помощью разработанного программного продукта было проведено исследование нескольких сталей, широко используемых в нефтегазовой отрасли, полученные результаты были перенесены в программу Microsoft Excel, после чего было проведено ранжирование сталей по эквивалентам углерода, и параметру PCM
|
|
|
|
|
|
|
|
|
|
|
|
|
|
|
|
|
|
|
|
|
|
|
|
|
|
|
|
|
|
|
|
|
|
|
|
|
|
|
|
|
|
|
|
|
|
|
|
|
|
|
|
|
|
|
|
|
|
|
|
|
|
|
|
|
|
|
|
|
|
|
|
|
|
|
|
|
|
|
|
|
|
|
|
|
|
|
|
|
|
|
|
|
|
|
|
|
|
|
|
|
|
|
|
|
|
|
|
|
|
|
|
|
|
|
|
|
|
|
|
|
|
|
|
|
|
|
|
|
|
|
|
|
|
|
|
|
|
|
|
|
|
|
|
|
|
|
|
|
|
|
|
|
|
|
|
|
|
|
|
|
|
|
|
|
|
|
|
|
|
|
|
|
|
|
|
|
|
|
|
|
|
|
|
|
|
|
|
|
|
|
|
|
|
|
|
|
|
|
|
|
|
|
|
|
|
|
|
|
|
|
|
|
|
|
|
|
|
|
|
|
|
|
|
|
|
|
|
|
|
|
|
|
|
|
|
|
|
|
|
|
|
|
|
|
|
|
|
|
|
|
|
|
|
|
|
|
|
|
|
|
|
|
|
|
|
|
|
|
|
|
|
|
|
|
|
|
|
|
|
|
|
|
|
|
|
|
|
|
|
|
|
|
|
|
|
|
|
|
|
|
|
|
|
|
|
|
|
|
|
|
|
|
|
|
|
|
|
|
|
|
|
|
|
|
|
|
|
|
|
|
|
|
|
|
|
|
|
|
|
|
|
|
|
|
|
|
|
|
|
|
|
|
|
|
|
|
|
|
|
|
|
|
|
|
|
|
|
|
|
|
|
|
|
|
|
|
|
|
|
|
|
|
|
|
|
|
|
|
|
|
|
|
|
|
|
|
|
|
|
|
|
|
|
|
Отдельно проведено исследование сталей категории прочности Х80, которые планируется использовать для строительства новых высокоэффективных газопроводов, позволяющих транспортировать природный газ под давлением 9,8 – 11,7 МПа, тогда как большая часть действующих магистральных газопроводов рассчитана на рабочее давление до 7,4 МПа.
На основе полученных расчетов была получена зависимость максимальной твердости околошовной зоны от величины эквивалента углерода.
|
|
|
|
|
|
|
|
|
|
|
|
|
|
|
|
|
|
|
|
|
|
|
|
|
|
|
|
|
|
|
|
|
|
|
|
|
|
|
|
|
|
|
|
|
|
|
|
|
|
|
|
|
|
|
|
|
|
|
|
|
|
|
|
|
|
|
|
|
|
|
|
|
|
|
|
|
|
|
|
|
|
|
|
|
|
|
|
|
|
|















