Лаб.раб.по ЭК ЭВМ. Методич. рекоменд.по выполн., для РИО (1088670), страница 4
Текст из файла (страница 4)
Приложение 1б
Лабораторная работа № 1 (1б)
1б – Исследование и выбор конструктивно-топологических параметров кристаллов БИС и СБИС.
Таблица 3
Результаты расчета конструктивно - топологических параметров кристаллов БИС и СБИС.
| Уровень компоновки, | Устройство | Интеграция | Число внешних выводов | Размер кристалла (мм) | Уровень технологии (мкм) | Шаг контактных площадок lкп (мкм) | |||||||
| Схемная (ЭЛЭ) | Макс. с учетом эффективного) (ЭЛЭ) | Логических (mi) | Потенциальных (me) | Общее число (mобщ) | |||||||||
|
| СБИС | ||||||||||||
|
| БИС в уст-ве МКМ | ||||||||||||
|
| МКМ | - | - | - | |||||||||
|
| БИС в уст-ве ПАНЕЛИ | ||||||||||||
|
| ПАНЕЛЬ | - | - | - | - | - | |||||||
Рис. 1б)
б) конструктивно – топологический
чертеж кристалла СБИС в устройстве СБИС
Дата ______________ 200__г. Студент ______________________
Группа:___________________ Подпись ______________________
Рис. 1а)
а) конструктивно – топологический
чертеж кристалла БИС в
устройствах МКМ и Панели
| Толщина корпуса HK (мм) | штыр | - | ||
| план | - | |||
| Длина внешних выводов lв (мм) | штыр | - | ||
| план | - | |||
| Габарит. Размеры корпуса Б (мм) | штыр | - | ||
| план | - | |||
| Шаг выводов ав (мм) | штыр | - | ||
| план | - | |||
| Рассеив. мощность Р (Вт) | ||||
| Из табл. 1.3. Прил. 1б | Шаг контакт. пл. на кристалле lКП (мкм) | |||
| Размер кристалла А (мм) | ||||
| Общее число внешних выводов | ||||
| Максим. интеграция кристалла с учетом эффективности (ЭЛЭ) | ||||
| Устройство | СБИС | БИС в устройстве ПАНЕЛИ | ||
| Уровень компоновки i | i = 4 | i = 3 | ||
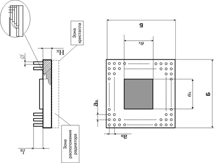
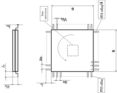
ЛАБОРАТОРНАЯ РАБОТА № 2 Приложение 2
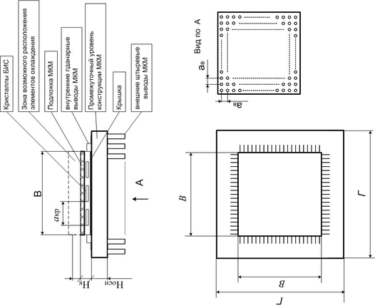
2а – Исследование и выбор параметров конструкции корпусов БИС и СБИС
Результаты исследования корпусов БИС и СБИС Таблица 2
а) б)
Рис. 2. Общий вид конструкции корпусов БИС и СБИС. (БИС с планарными (2-а) и СБИС со штыревыми (2-б) выводами).
Дата ________________________ 200__г. Группа:______________________
Студент __________________________ Подпись _____________________
| Рассеив. мощность МКМ Р (Вт) | |||||
| Толщина корпуса HK (мм) | штыр | - | |||
| план | - | ||||
| Длина внешних выводов lв (мм) | штыр | - | |||
| план | - | ||||
| Габарит. размеры корпуса Б (мм) | штыр Г | ||||
| план В | |||||
| Шаг расположения кристаллов БИС aкр (мкм) | - | ||||
| Шаг выводов ав (мм) | штыр | ||||
| план | |||||
| Из табл. 1.3. Прил. 1б | Шаг контактных площадки БИС lКП (мм) | - | |||
| Размер кристалла БИС А (мм) | - | ||||
| Общее число внешних выводов mобщ | |||||
| λ кристалла БИС (мкм) | - | ||||
| Схемная интеграция N(ЭЛЭ) | |||||
| Устройство | БИС МКМ | МКМ | |||
| Уровень компоновки i | i = 3 | i = 4 | |||
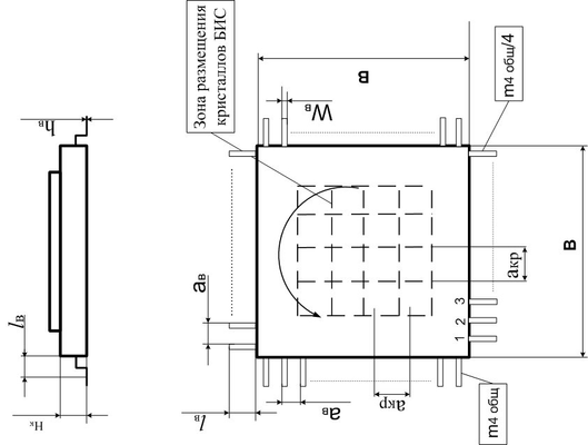
ЛАБОРАТОРНАЯ РАБОТА № 3 (3а) Приложение 3а
3а – Исследование и выбор параметров конструкции МКМ на бескорпусных БИС
Результаты исследования конструкции МКМ (на бескорпусных БИС) Таблица 3а
а) б)
Рис. 3а. Общий вид конструкции МКМ с планарными (а) и штыревыми (б) выводами
| Шаг расположения корпусов БИС акор (мм) | ||
| Рассеиваемая мощность Р(Вт) | ||
| λ кристалла БИС (мкм) | - | |
| Шаг внешних выводов ав (мм) | ||
| Габаритные размеры МПП Д(мм) | ||
| Число внешних выводов | ||
| Схемная интеграция (ЭЛЭ) | ||
| Устройство | ПАНЕЛЬ БИС | ПАНЕЛЬ |
| Уровень компоновки i | i = 3 | i = 4 |
Приложение 3б
ЛАБОРАТОРНАЯ РАБОТА № 3 (3б)
3б – Исследование и выбор параметров конструкции ПАНЕЛИ на корпусных БИС
Таблица 3б
Результаты исследования конструкции ПАНЕЛЬ на корпусных БИС
Студент ________________
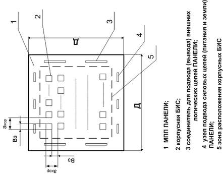
Рис.3б. Схема размещения элементов конструкции Группа _________________
ПАНЕЛИ на МПП Дата ______________ 200__ г.
Подпись ____________________
Приложение 4.
Лабораторная работа № 4
Исследование и расчет трассировочной способности и слойности коммутационных элементов устройств ЭВМ Таблица 4а
| Уровень компоновки i | Вариант 1 (СБИС) | ||||||||||||||||||||
|
|
|
|
|
|
|
|
|
|
| ||||||||||||
| i = 1 | |||||||||||||||||||||
| i = 2 | |||||||||||||||||||||
| i = 3 | |||||||||||||||||||||
| i = 4 | |||||||||||||||||||||
| Уровень компоновки i | Вариант 2 (МКМ) | |||||||||
|
|
|
|
|
|
|
|
|
|
| |
| I = 1 | ||||||||||
| I = 2 | ||||||||||
| I = 3 | ||||||||||
| I = 4 | ||||||||||
| Уровень | Вариант 3 (ПАНЕЛЬ) | |||||||||||
|
|
|
|
|
|
|
|
|
|
|
| ||
| i = 1 | – | – | ||||||||||
| i = 2 | ||||||||||||
| i = 3 | ||||||||||||
| i = 4 | ||||||||||||
Таблица 4б
Результаты исследования значения основных параметров проводников
| Обозначение | Кристаллы | МКМ | ||||
| СБИС | БИС | Креамниевая подложка | Керамическая подложка | Полиимидно керам.подложка | ПАНЕЛЬ МПП | |
| атр, мкм | ||||||
| Wпр, мкм | ||||||
| hпр, мкм | ||||||
Студент ________________ Дата ___________________ 200__г.
Группа _________________ Подпись___________________
Рис. 4. Структура коммутационных элементов устройств и условия трассировки проводников а) кристалла БИС (СБИС); б) подложки МКМ; в) МПП ПАНЕЛИ.
Приложение 5
Лабораторная работа № 5
Исследование и расчет параметров системного быстродействия элементов и устройств ЭВМ
Таблица 5а
Результаты расчета параметров проводников металлизации и ЛЭ
| Обозначение | Кристаллы | Si‑подложка | МПП ПАНЕЛИ | |
| БИС | СБИС | |||
| лэ, нс | ||||
| Rвых, Ом | ||||
| ρ0Al, Ом·мм | ||||
| R0,Ом/мм | ||||
| C0, пф/мм | ||||
Таблица 5б
Результаты расчета параметров системного быстродействия для 3‑х вариантов конструкции устройства на основе КМОП БИС и СБИС
| Уровень | Схемная | Max интегр. |
|
| Вар.1 (СБИС) | ||||||||||||||
|
|
|
|
|
|
|
|
|
| |||||||||||
| i = 1 | |||||||||||||||||||
| i = 2 | |||||||||||||||||||
| i = 3 | |||||||||||||||||||
| i = 4 | |||||||||||||||||||
| Уровень | Вариант 2 (МКМ) | Вариант 3 (ПАНЕЛЬ) | |||||||||||||||||
|
|
|
|
|
|
|
|
|
|
|
|
| ||||||||
| i = 1 | |||||||||||||||||||
| i = 2 | |||||||||||||||||||
| i = 3 | |||||||||||||||||||
| i = 4 | |||||||||||||||||||
Студент ________________ Дата __________________ 200__г.
Группа _________________ Подпись ____________________
ЛИТЕРАТУРА
1. Микитин В.М., Смирнов Н.А., Тювин Ю.Д. Электронное конструирование ЭВМ. Основы компоновки и расчета параметров конструкций: Учеб. Пособие / Моск. гос. ин-т радиотехники, электроники и автоматики (технический университет). - М.: 2000.- 118 с.
2. Микитин В.М. Теория и практика расчета компоновочных параметров при электронном конструировании СВТ: Учебное пособие / Моск. гос.ин-т радиотехники, электроники и автоматики (технический университет). – М., 2002. – 112с.
3. Коваленко С.М. Технология и основные характеристики интегральных схем и микропроцессоров: Учебное пособие / Моск. гос. ин-т радиотехники, электроники и автоматики (технический университет). - М., 1998. - 27 с.
















