Краткий конспект лекций 4306 (1088301), страница 3
Текст из файла (страница 3)
Важны и динамические свойства источников питания дуги. Сила тока и напряжение в дуге в процессе сварки беспрерывно меняются. Это связано с переходом капель электродного металла и наличием коротких замыканий. В эти моменты напряжение дуги падает до нуля, а сварочный ток возрастает. При возобновлении дугового разряда напряжение дуги вновь начинает возрастать от нуля до напряжения зажигания. При этом источник питания дуги должен изменять напряжение от нуля до напряжения холостого хода. Источник должен быстро реагировать на все изменения, проходящие в дуге. При этом сила тока и напряжение источника принимают свои установившиеся значения не мгновенно, а в течение некоторого времени в зависимости от его магнитной инерционности. Способность источника быстро реагировать на изменения, происходящие в дуге, определяет его динамические свойства. Чем быстрее источник питания дуги восстанавливает напряжение, тем лучше его динамические свойства. При этом обеспечиваются спокойный перенос металла с электрода в сварочную ванну, уменьшение разбрызгивания и улучшение качества сварки. Динамической характеристикой источника питания является время, необходимое для восстановления напряжения от нулевого значения в момент короткого замыкания, которое не должно быть более 0,05 м до рабочего напряжения. При этом и скорость нарастания силы тока короткого замыкания также должна быть оптимальной. При больших скоростях нарастания силы тока наблюдается взрывной характер плавления электрода с сильным разбрызгиванием металла, при малых скоростях — затрудненное образование ионизованного промежутка и затрудненное возбуждение дуги. Источники питания дуги по современным стандартам характеризуются рядом параметров, получаемых при работе на установившихся режимах. К установившимся режимам относят работу источников при холостом ходе, рабочей нагрузке и коротком замыкании.
Номинальная сила тока определяет расчетное значение сварочного тока источника. Номинальные силы тока источников питания дуги соответствуют параметрическому ряду, обычно установленному для источников электрического тока. Номинальные силы тока большинства выпускаемых источников питания находятся в пределах 50 - 1000 А.
Пределы регулирования сварочного тока указывают минимальные и максимальные значения тока, которые могут быть использованы при сварке. В большинстве случаев за максимальную силу тока принимают номинальную силу тока. Отношение максимальной силы тока к минимальной показывает кратность регулирования. Обычно она изменяется от трех и выше.
Напряжение холостого хода в значительной мере определяет условия зажигания и повторного возбуждения дуги и регулируется на зажимах источника при отсутствии нагрузки в сварочной цепи.
Номинальное рабочее напряжение характеризует напряжение на зажимах источника под нагрузкой и условно определяется линейной функцией от сварочного тока. для источников с номинальным значением сварочного тока до 600 А оно определяется по формуле U= 20 + 0,04 Iсв , где I св — сила тока. Для более мощных источников условное рабочее напряжение принимают равным 44 В и выше. Продолжительность работы источника при заданной мощности определяет возможность его перегрева.
Источники сварочного тока могут работать в одном из следующих режимов: перемежающемся, повторно-кратковременном и продолжительном.
В перемежающемся режиме работа под нагрузкой в течение времени tн чередуется с холостым ходом в течение времени tхх, когда источник силы тока не отключается от сети. Такой режим характеризуется относительной продолжительностью нагрузки, определяемой по формуле ПН = tн / tн+ tхх *100%. Такой режим работы характерен для источников при ручной дуговой сварке, а также для автоматической и механизированной сварки на токе. Для ручной сварки в большинстве случаев источники имеют номинальную ПН, равную 20,35 и 60%.
В повторно-кратковременном режиме работа под нагрузкой чередуется с временем пауз, когда источник полностью отключается от сети на время tп,. Такой режим характеризуется относительной продолжительностью включения ПВ = tн / tн+ tп *100%,
где tп,—время паузы. Такой режим характерен для автоматической и механизированной сварки на переменном токе и источники имеют ПВ, равную 60% и более.
В данном случае tн+ tхх, и tн+ tп, представляют собой расчетно-проверочный цикл tц, который принимают равным 5 или 10 мин. При этом расчетный ток выбирают при номинальном значении ПН или ПВ.
Если источник питания используется при ПН или ПВ, которые отличаются от указанных в паспорте, максимально допустимый сварочный ток определяется по формуле:
Все сварочные источники в промышленности классифицируются по ряду признаков: переменного тока — сварочные трансформаторы, генераторы повышенной частоты; постоянного тока — генераторы, выпрямители. далее разделение производят по конст- руктивным особенностям, виду внешних характеристик, по количеству подключаемых одновременно постов сварки и др. Требования к источникам и их характеристики определяются соответствующими ГОСТами.
Сварочные трансформаторы
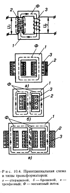
Т р а н с ф о р м а т о р о м называют электромагнитный аппарат, преобразующий переменный ток одного напряжения в переменный ток другого напряжения той же частоты. Работа трансформатора основана на электромагнитном взаимодействии двух или нескольких не связанных между собой обмоток провода. Простейший трансформатор (рис. 10.4) состоит из магнитопровода 1, первичной 2 и вторичной З обмоток. Обмотки имеют соответственно число витков W1 и W2. Магнитопровод выполняется из листовой электротехнической стали с толщиной листов 0,35 или 0,5 мм с лаковой изоляцией. Такая конструкция магнитопровода дает возможность ослабить возникающие в нем паразитные вихревые токи. Часть магнитопровода с размещенными обмотками называют с т е р ж н я м и, которые соединяются ярмом. Подведение напряжения внешней сети U1 к первичной обмотке вызывает в ней силу тока I1. При этом в магни-топроводе возбуждается магнитный поток Ф1 пронизывающий витки обеих обмоток. В результате в них индуцируется э.д.с., действующие значения которой определяются так:
где f— частота переменного тока, Гц; W1 и W2— число витков первичной и вторичной обмоток; Ф — магнитный поток, Мкс.
Поскольку потери в трансформаторе малы, можно считать, что U1 =Е1 и U2 = Е2.
Тогда
Это отношение К называют коэффициентом трансформации, характеризующим преобразующие свойства трансформатора, которые зависят от числа витков первичной и вторичной обмоток. Сварочные трансформаторы являются специальными понижающими трансформаторами, имеющими требуемую внешнюю характеристику, обеспечивающими питание сварочной дуги и регулирование сварочного тока. Как правило, сварочные трансформаторы имеют падающую характеристику.
Их используют для ручной дуговой и автоматической сварки под флюсом. Трансформаторы с жесткой характеристикой применяют для электрошлаковой сварки.
Регулирование сварочного тока и создание нужной внешней характеристики в сварочных трансформаторах обеспечивается за счет индуктивного сопротивления путем изменения магнитных потоков рассеяния. В зависимости от способа создания в цепи дуги индуктивного сопротивления сварочные трансформаторы делят на две группы: с нормальным магнитным рассеянием и реактивной катушкой - дросселем; с увеличенным магнитным рассеянием.
Трансформаторы с нормальным магнитным рассеянием
В трансформаторах с нормальным магнитным рассеянием первичная W1 и вторичная W2 обмотки расположены на стержнях магнитопровода концентрично, за счет чего магнитные потоки рассеяния сведены к минимуму (рис.10.5). Для получения необходимой индуктивности в цепь дуги последовательно с вторичной обмоткой включают дополнительную реактивную катушку Wр. В настоящее время в основном применяют трансформаторы с совмещенной реактивной катушкой, располагаемой на общем магнитопроводе с обмотками трансформатора. При этом реактивная катушка имеет с ними как электрическую, так и электромагнитную связь. Верхняя часть магнитопровода имеет подвижную часть, при перемещении которой ходовым винтом изменяют воздушный зазор а в магнитопроводе. Вследствие этого изменяется магнитное сопротивление магнитопровода, что приводит к изменению силы сварочного тока. С увеличением зазора сила тока возрастает, и наоборот. За счет реактивной катушки обеспечивается получение падающей вольтамперной характеристики источника питания. Известны также схемы трансформаторов с раздельной реактивной катушкой и дросселями насыщения. Однако трансформаторы с нормальным магнитным рассеянием в настоящее время менее распространены. Например, для автоматической сварки под флюсом используют трансформатор ТСД-1000-4, имеющий дистанционное управление.
Трансформаторы с увеличенным магнитным рассеянием
относятся к стержневому типу (рис. 10.6).
В них первичная и вторичная обмотки разнесены по высоте магнитопровода и имеют только электромагнитную связь При прохождении тока по обмоткам катушек возникают магнитные потоки основная часть которых замыкается по сердечнику магнитопровода другая часть их замыкается по воздуху, создавая потоки рассеяния наводящие в трансформаторе реактивную э.д.с., которая определяет его индуктивное сопротивление, обеспечивающее создание падающей вольтамперной характеристики. Сварочные трансформаторы с увеличенным магнитным рассеянием существуют трех типов: с раздвижными катушками, с подвижными магнитными шунтами, с управляемыми магнитными шунтами В настоящее время трансформаторы с увеличенным магнитным рассеянием распространены более широко.
Трансформаторы с раздвижными катушками (рис 10.6.а) состоят из магнитопровода З и двух обмоток, из которых первичная 1 закреплена неподвижно, а вторичная 2— подвижная Регулирование сварочного тока осуществляется изменением расстояния между ними. При удалении вторичной катушки от первичной увеличивается магнитный поток рассеяния и уменьшаются магнитная связь между обмотками и сварочный ток. При сближении катушек уменьшается индуктивное сопротивление, что приводит к увеличению сварочного тока. По этому принципу работают сварочные трансформаторы типа ТД, ТДМ (табл.10.1) Трансформаторы этих типов наиболее часто используют для ручной дуговой сварки.
Трансформаторы с подвижным магнитным шунтом (рис 10.6.б) состоят из магнитопровода 1 с расположенными на нем первичной 2 и вторичной 4 обмотками. Внутри магнитопровода установлен перемещающийся магнитный шунт З, представляющий собой два пакета из пластин электротехнической стали.
С помощью шунта изменяют магнитные потоки рассеяния. При уменьшении зазора между пакетами шунта часть магнитного потока будет замыкаться через шунт, магнитная связь между первичной и вторичной обмотками будет уменьшаться, а следовательно, будет уменьшаться и сварочный ток. При увеличении этого зазора большая часть магнитного потока будет проходить по основному магнитопроводу, магнитная связь между обмотками увеличится, что приведет к увеличению сварочного тока. Такой принцип применен в сварочном трансформаторе СТШ-500 и др.
Трансформаторы с управляемым магнитным шунтом (рис. 10.6, в) также имеют магнитопровод 1 с расположенными на нем первичной 2 и вторичной 4 обмотками. Магнитный шунт с обмоткой управления З расположен в окне магнитопровода. Обмотка управления питается постоянным током. Чем больший поток она создает, тем большее будет насыщение сердечника шунта и меньше магнитный поток рассеяния трансформатора. Таким образом, большему току подмагничивания в обмотке управления шунта соответствует большее значение сварочного тока, и наоборот. По такому принципу работают трансформаторы ТДФ (табл. 10.2), применяемые для автоматической дуговой сварки под флюсом.
Основные параметры трансформаторов для автоматической сварки регламентированы ГОСТ 70 12-77. Трансформаторы выпускаются на номинальный сварочный ток от 630 до 2000А при номинальном рабочем напряжении от 48 до 76В. Основные параметры сварочных трансформаторов для ручной сварки регламентированы ГОСТ 95-77. Трансформаторы выпускаются переносные на силу тока от 125 до 250А при номинальном рабочем напряжении от 25 до ЗОВ и передвижные — на силу тока от 250 до 500А при минимальном рабочем напряжении от 30 до 40 В.
При электрошлаковой сварке используют специальные однофазные и трехфазные сварочные трансформаторы, обладающие жесткими вольтамперными характеристиками. К ним относятся трансформаторы ТШС-1 000-1, ТШС- 1000-З. Конструктивные особенности сварочных трансформаторов рассмотрим на некоторых примерах.















