книга1 с (1085852), страница 2
Текст из файла (страница 2)
и
в точечных сварных соединениях ни многослойных швов, участки
в глубине электрошлаковых соединений). Пластические деформации металла при сварке в отсутствие концентраторов напряжений составляют 1—2
При наличии концентраторов—непроваров, несплавлений, шлаковых включений — пластические деформации могут быть настолько значительны, что будет существенно исчерпываться деформационная способность металла, в некоторых случаях даже наступать его разрушение. При сложении остаточных напряжений с рабочими часто возникают небольшие пластические деформации, которые в подавляющем большинстве случаев не влияют на прочность (см. гл. 9).
ГЛАВА 8 ДЕФОРМАЦИИ КОНСТРУКЦИИ ОТ СВАРКИ
§ 1. Деформации и перемещения в зоне сварных соединений
Сварка вызывает искажение размеров и формы элементов сварных конструкций, их укорочение, изгиб, потерю устойчивости, закручивание. Эти искажения выражаются в перемещениях, которые зависят от формы сварной конструкции, расположения швов в ней, толщины металла. Многообразные виды перемещений сварных конструкций порождаются относительно небольшим числом видов деформаций и перемещений, возникающих в зоне сварных соединений. Деформации и перемещения в зоне сварных соедине-
204
ний зависят от количества теплоты, вводимого при сварке, распределения температур, свойств свариваемого металла.
Один из наиболее простых расчетных приемов определения перемещений сварных конструкций состоит в выделении двух самостоятельных этапов расчета. На первом находят деформации и перемещения в зоне сварных соединений — эту часть называют термомеханической частью задачи, а на втором методами сопротивления , материалов или теории упругости определяют перемещения в конструкции, используя результаты, полученные на первом этапе. Эту часть называют деформационной частью задачи. Удобство такого приема состоит в том, что одни и те же результаты термомеханической части задачи, полученные один раз расчетным или экспериментальным путем, могут затем многократно использоваться при решении деформационных задач для самых разнообразных видов конструкций.
Рис. 8.1. Сварная пластина с остаточными пластическими деформациями
Различают пять основных видов деформаций и перемещений в зоне сварных соединений.
1. Продольные остаточные пластические деформации
.создающие так называе-
мую усадочную силу
В гл. 7 при определении
продольных напряжений
по методу Г. А. Николаева на рис. 7.8, в была получена эпюра остаточных пластических деформаций
Чтобы установить зависимость между усадочной силой
рассмотрим более подробно состояние сваренной пластины.
Разрежем пластину шириной 2 Б на продольные полоски, чтобы освободить каждую из них от имеющихся напряжений
(рис. 8.1,
Концы полос расположатся так, как показано на рис. 8.1,
Полоски, находящиеся за пределами зоны
пласти-
ческих деформаций, будут иметь начальную длину
Полоски
внутри этой зоны будут короче, потому что они имеют остаточную пластическую деформацию
которую берут со знаком минус.
205
Укорочение
Концы полос будут геометрически
повторять характер эпюры
на рис.Приложим
к уко-
роченным полосам растягивающие силы р, образующие в полосках напряжения
чтобы длина всех полос стала одинаковой и равной
«Склеим» между собой полоски. При этом они образуют целую пластину с напряжениями
„ , по концам в пределах зоны пластических деформаций. Остальная часть ширины будет свободна от напряжений. В действительности к торцам сваренной пластины никаких сил не приложено, поэтому уравновесим силы
равными им по значению и противоположными по направлению
Интеграл от распределенной нагрузки —р, взятый в пределах зоны пластических деформаций 2ЬП, даст некоторую силу, которая называется Фиктивной усадочной силой Рус. Поскольку
,или
вызовет по всей ширине равномерное сжатие
и сформирует совместно с напряжениями
которые образо-
вались в пределах зоны
... при растяжении полосок, эпюру остаточных собственных напряжений
которые были в пластине до ее разрезки на полосы. Укорочение пластины от силы
выражается величиной
Таким образом, если пренебречь влиянием характера распределения сил
по торцам пластины и заменить их силой
, то будем иметь пластину, нагруженную по концам швов. Собственные напряжения в разных точках по ширине могут быть определены по общему правилу вычисления напряжений в пластине, имеющей остаточные пластические деформации укорочения
и
в формуле (8.4) отрицательны. Напряжения
показаны в сечении пластины на рис. 8.1,
Как видим, определение усадочной силы
сводится к определению эпюры остаточных пластических деформаций
которая может быть найдена
различными расчетными методами. Для исключения погрешностей, вызываемых различными допущениями в расчетных методах, уса- дочную силу часто определяют экспериментально. Для этого достаточно измерить длины полосок до сварки и после разрезки пластины, как это было изложено в гл. 7 при определении остаточных напряжений. По разности показаний нужно найти изменение длины полосок
. а затем определить
где Б — длина базы измерения. По формуле (8.2) вычисляют
Можно
206
измерить изменение длины пластины в результате сварки
на какой-либо начальной базе
а затем воспользоваться формулой (8.3) для вычисления
При сварке легированных сталей, испытывающих структурные превращения, в зоне пластических деформаций могут возникнуть и пластические деформации удлинения (рис. 8.2). У отдельных сталей сила
может оказаться растягивающей, т. е.
В этом случае пластина после сварки удлиняется, а не укорачивается. Однако у подавляющего большинства металлов сила
сжимающая. Для разных сталей и сплавов получены эмпирические Фоомулы для вычисления
в зависимости от условий сварки Для низкоуглеродистьгх и низколегированных сталей с пределом текучести до
300 МПа при дуговой
сварке стыковых, тавровых и нахлесточных соединений весьма жестких (с большой плошалью поперечного сечения) элементов за один проход значение
выраженное в ньютонах, может
быть определено по формуле
где
— эффективная мощность, Дж/с;
— скорость сварки, см/с;
— удельная погонная энергия сварки, Дж/см2;
— расчетная толщина свариваемого элемента, см;
в стыковых или угловом соединении пластин толщиной
и
(рис. 8.3, а, б) или
в
тавровом или нахлесточном соединении (рис. 8.3, в, г). Формула (8.5) действительна
в диапазоне
,„ от 4000 до Рис. 8.3. Сварные соединения, выполнен- 38 000
ные однопроходной сваркой В случае МНОГОПрОХОДНОЙ
сварки зоны пластических деформаций от последующих слоев могут перекрывать зону пластических деформаций, образованную ранее уложенными слоями. При сварке таврового соединения последовательно двумя одинаковыми угловыми швами, зоны пластических деформаций которых перекрываются, суммарная усадочная сила от двух швов составляет 1,3—1,45 усадочной силы от первого шва. При ук-ладке большего числа слоев данные приведены в справочнике
207
Из-за нагрева кромки усадочная сила возникает и при резке металла, Погонная энергия при газовой резке стали, приходящаяся на одну кромку для толщин
см, равна
где s выражено в см, а
— в Дж/м.
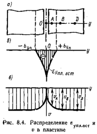
2. Равномерные "по толщине поперечные остаточные пластические деформации
интеграл которых дает поперечную у с а д -к у
/При нагреве или проплавлении целой пластины движу-
щимся источником теплоты в ней помимо продольных собственных
деформаций возникают и поперечные собственные деформации
которые обычно создают поперечные пластические деформации
Металл от нагрева рас- . ширяется — в нем возникают напряжения сжатия. Наиболее низкие значения
наблюдаются в области высокого нагрева, где и образуются пластические деформации На рис. 8.4, б показан примерный характер распределения
по ширине пластины. Если точку О по оси шва (рис. 8А,а) принять как неподвижную, то можно определить перемещения
точек А, В, D в направлении
(рис. 8.4, в), где верхний предел интегрирования принимает значения
Точки В и D одинаково смещаются к оси шва, так как зона поперечных пластических деформаций ограничена размерами
и
а точки В и D находятся за ее пределами. Ширина пластины сокращается на размер
В стыковом соединении пластин с зазором (рис. 8.5, а) расширение металла в поперечном направлении происходит намного свободнее, чем при сварке целой пластины. Нагреваемые кромки достаточно свободно перемещаются в зазор, в результате чего возникают перемещения v, показанные на рис. 8.5, б. Максимально возможное перемещение каждой кромки при отсутствии теплоотдачи в воздух
208
где
— мощность, вводимая в обе кромки (в каждую кромку вво-дится
—скорость сварки;—
толщина листа;
—коэф-















