Nanotrubki (1076377)
Текст из файла
Дисциплина: Физико-химические основы электронных технологий Тема: Неуглеродные нанотрубки: получение, свойства и применение
Выполнил: студент группы МТ11-42
Федоров С.Ю.
Преподаватель: ассистент кафедры МТ11
Сидорова С.В.
Москва, 2016 г.
Содержание
Введение 3
Общие принципы строения 4
Методы получения неуглеродных нанотрубок 5
1. Дуговой метод синтеза 5
2. Лазерный метод синтеза 6
3. Пиролитический метод синтеза 6
4. Темплатный метод синтеза 7
5. Свертываниеã пленок 7
Свойства неуглеродных нанотрубок 8
Применение неуглеродных нанотрубок 9
Список литературы 11
Введение
Интенсивное развитие работ по изучению нанотубулярных форм вещества (тубуленов или нанотрубок) началось после того, как в 1991 г. в катодном конденсате при электродуговом разряде между графитовыми электродами были обнаружены полые углеродные структуры цилиндрической формы, длина которых на порядки превышала их диаметр. Новый квазиодномерный кластер углерода назвали фуллереновым тубуленом и провели расчет его электронного спектра. Оказалось, что исследованная углеродная трубка имеет электронный спектр, характерный для металлов.
В 1992 г. были синтезированы первые неуглеродные нанотрубки на основе слоистых дисульфидов молибдена (MoS2) и вольфрама (WS2). В 1994 г. была предсказана возможность существования тубуленов на основе гексагонального нитрида бора — BN-нанотубуленов — и показано, что их диэлектрические свойства должны быть устойчивы при изменении геометрических характеристик. Этот чрезвычайно важный для развития наноэлектроники прогноз инициировал многочисленные работы по получению таких нанотрубок.
К настоящему времени синтезировано и предсказано существование большого числа неуглеродных нанотрубок. Наряду с упоминавшимися выше, получены нанотрубки на основе силицида германия (SiGe), а также дихалькогенидов, сульфидов, хлоридов и оксидов переходных металлов. Осуществлено моделирование структуры и электронного строения различных гипотетических нанотрубок, состоящих из бора, фосфора, кремния, германия, диборидов переходных металлов; обсуждены механизмы их роста; изучены свойства некоторых «гибридных» нанотубулярных структур.
Подавляющее большинство неуглеродных нанотрубок получено (или прогнозируют получить) на основе веществ, имеющих, подобно углероду, слоистые (квазидвумерные) кристаллические структуры. Поэтому при классификации, описании атомной структуры неуглеродных нанотрубок и построении их геометрических моделей широко используют представления и методы, развитые для углеродных нанотрубок.
Общие принципы строения
Рис.1
Как было сказано ранее, рассмотрим строение неуглеродных нанотрубок на основе углеродных. Идеальные углеродные нанотрубки имеют форму цилиндров, стенки которых образованы гексагонами (правильными шестиугольниками), с атомами углерода в вершинах. Наглядно процедуру формирования нанотубулена можно представить, как свертывание «ленты» из атомов углерода, вырезанной из монослоя графита (графеновой сетки). «Разрезание» слоя графита можно осуществлять разными способами: вдоль линий, перпендикулярных или проходящих по связям С—С, или под определенным углом к ним, так называемым хиральным углом θ (рис.1).
Тогда при сворачивании получаемых «лент» и сшивании их краев возникают два основных типа нанотрубок — нехиральные и хиральные. Среди нехиральных нанотрубок выделяют так называемые зигзагообразные и зубчатые типы. Структуры основных типов нанотрубок представлены на рис. 2.
Рис.2
1 – нехиральные зубчатые, 2 – хиральные,
3 – нехиральные зигзагообразные
Концы нанотрубок могут быть открыты или закрыты «шапочками» из полусфер фуллеренов. Возможны и другие (например, конические) типы «шапочек». Известны однослойные и многослойные нанотрубки. Последние могут состоять из системы концентрических тубуленов или иметь структуру свитка. Нанотрубки могут быть одиночными или образовывать разнообразные агрегаты (жгуты, сростки и т.д.), в том числе с участием других наночастиц (фуллеренов). Большинство нанотрубок содержат различные дефекты (топологические, дефекты регибридизации, дефекты в виде «оборванных» связей). Направленное введение дефектов в структуру нанотрубок позволяет гибко регулировать их функциональные свойства.Методы получения неуглеродных нанотрубок
Рассмотрим нанотрубки, образующиеся в системе В—С—N, они близки по структуре к углеродным тубуленам. Методы получения неуглеродных нанотрубок получили исходя из методов синтеза углеродных нанотрубок. Это позволяет сравнивать возможности «традиционных» (для углеродных нанотрубок) синтетических методов и новых методов, предложенных для получения неуглеродных нанотрубок.
1. Дуговой метод синтеза
Одним из простейших и широко применяемых методов получения углеродных НТ является электродуговой синтез. Известны многочисленные попытки применения этого метода для получения нанотубуленов в системе B-C-N. Естественно, что в модификациях стандартного метода должны быть предусмотрены способы введения в зону реакции наряду с углеродом бора и азота. Как правило, для этого выбирают соответствующие состав атмосферы (например, синтез проводят в токе азота) и (или) композицию испаряемого электрода.
Поскольку нитриды бора являются изоляторами, то в чистом виде они непригодны для изготовления электродов. Впервые BN-нанотубулены были получены в дуговом разряде (в атмосфере Не) между медным катодом и анодом, представлявшим собой нитрид бора, заключенный в вольфрамовый корпус. В составе катодного осадка обнаружено большое разнообразие бор-азотных наноструктур различной морфологии, среди которых присутствовали и BN-нанотубулены. Трубки были многослойными (внутренний и внешний диаметры варьировали соответственно от 1 до 3 и от 6 до 8 нм, а расстояние между стенками ~0.33 нм), их длина превышала 200 нм. Концы нанотрубок были закрыты, роль «шапочек» играли вольфрамсодержащие наночастицы (предположительно состоящие из боридов или нитридов вольфрама). Предполагалось, что механизм роста BN-нанотубуленов включал катализ атомами металла.
В качестве электродов для дугового синтеза нанотрубок в токе азота изучен ряд борсодержащих фаз, например ZrB2, HfB2. В последнем случае в плазме присутствуют атомы металлов, которые могут играть роль катализаторов роста BN-нанотубуленов.
В высокопроизводительном методе получения нанотрубок на основе BN были применены электроды, состоящие из элементарного бора (99 ат.%) и примесей кобальта или никеля (до 1 ат.%), которые служили катализаторами. Давление азота в камере поддерживали на уровне 380 Торр (0,5 атм.), сила тока составляла 60 А. Осадок на катоде, расположенном на дне камеры, был серого цвета, тонкая пленка продукта покрывала также боковые стенки камеры. Анализ структуры полученного продукта показал, что он содержал исключительно двухслойные нанотрубки (с диаметрами внешнего и внутреннего BN- цилиндров 2.9 и 2.2 нм и расстоянием между их стенками ~ 0.37 нм). Эти трубки образовывали пучки (связки). Примесей металлов в нанотрубках обнаружено не было, стехиометрический состав трубок определялся отношением В : N = 1 : 1. Отметим, что двухслойные нанотрубки на основе BN были получены также при использовании в качестве катода HfB2. Механизм и кинетика роста таких двухслойных нанотрубок не выяснены.
2. Лазерный метод синтеза
Наряду с такими методами получения углеродных нанотрубок, как испарение мишени (графита) под действием электронного и ионного пучков, солнечного света, джоулева тепла (резистивное испарение), широкое распространение получил метод испарения мишени под действием лазерного излучения. Известны попытки использовать лазерное излучение для синтеза нанотубуленов, содержащих атомы В, С, N. Мишенью служил гексагональный BN, в камере создавалось высокое давление азота. Наряду с BN-нанотубуленами, в продуктах присутствовали частицы кубического нитрида бора. С помощью СО2-лазера осуществлен синтез (в граммовых количествах) однослойных BN-нанотубуленов. Установлено, что трубки зигзагообразного типа образуют связки, отмечено также наличие незначительного количества двухслойных ВN-нанотубуленов и фуллереноподобных кластеров нитрида бора.
3. Пиролитический метод синтеза
Каталитический пиролиз углеводородов в присутствии металлических катализаторов становится одним из наиболее распространенных и перспективных методов получения углеродных нанотрубок.
Впервые пиролиз системы CH3CN-BCl3 в присутствии порошкообразного кобальта при ~ 1270 К использован для получения нанотубуленов и нановолокон различной морфологии и состава. Более детальные исследования реакции
CH3CN-BCl3 → BC2N + 3HCl
показали, что в ее продуктах содержатся нанотрубки, близкие по составу к BC2N. Однако в стенках нанотрубок гомогенность состава была существенно нарушена и происходила спонтанная сепарация (предположительно в процессе роста нанотрубок) на «островки» C/BN. Наиболее устойчивые нанотрубки содержали слои BN, разделенные графитоподобными слоями углерода.
4. Темплатный метод синтеза
Темплатный метод синтеза применяют для получения нанотубулярных композитов – многослойных нанотрубок, содержащих слои разного химического состава. В качестве основы (матрицы) используют стабильные нанотрубки (обычно углеродные), которые затем покрывают слоями различных металлов или соединений.
Интерес к нанотубулярным композитам обусловлен как возможностью получения трубчатой формы материалов, которые в виде изолированных нанотрубок пока не известны, так и спецификой свойств собственно композитов (например, характеристиками «интерфейсов» между соседними цилиндрами различной химической природы).
Заметим, что метод создания покрытий на углеродных нанотрубок близок к химическому способу модификации их поверхности, с помощью которого изменение состава внешних слоев многослойных углеродных нанотрубок осуществляют путем допирования (замещения).
5. Свертывание пленок
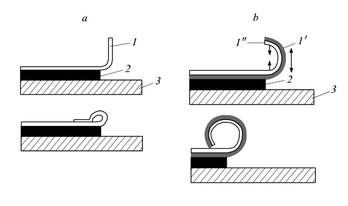
О
бщий способ (а). Тонкую пленку 1 наносят на двухслойную подложку 2-3, верхний слой которой может быть удален селективным травлением. После травления край пленки отделяют от подложки, загибают и накладывают поверх пленки. Тубулярная структура формируется в области сгиба (см. рис. 6).Таким образом были получены, например, кремний-германиевые нанотрубки длиной до 12 мкм и диаметром 230 нм. Толщина одного слоя составляла 16 нм и определялась условиями нанесения пленки.
Рис.3
Специальный способ (б). Используют двухслойные пленки из разных материалов, при этом межатомные расстояния в материале внешнего слоя 1' пленки должны быть больше межатомных расстояний в материале внутреннего слоя пленки 1'' (Рис. 3). После травления и отделения края пленки от субстрата в результате возникающих механических напряжений свободный край пленки загибается вверх, совершает полный оборот и образует трубку. При продолжительном травлении можно добиться нескольких скручиваний края пленки и получить своеобразные рулоны, напоминающие известные углеродные трубки типа «свитка». Указанным способом из двухслойных пленок InAs/GaAs, изготовлены трубки длиной до 20 мкм и диаметром 530 нм.Свойства неуглеродных нанотрубок
Получаемые структуры на основе метода свертывания пленок жестче углеродных нанотрубок на сжатие и проявляют в сравнении с монокристаллом повышенную химическую стойкость. Механические напряжения, вызванные различием параметров решеток в пленке полученной трубки, существенно влияют на квантовые свойства носителей заряда. Появилась возможность создания квантовой точки из трубки нанометровой длины.
Отметим, что для изготовления подобных квантовых точек необходимо использовать полупроводники с обогащенной поверхностью или металлы.
Благодаря наличию внутреннего канала и большой теплостойкости неуглеродные нанотрубки перспективны для получения новых веществ путем их синтеза в полости канала.
Применение неуглеродных нанотрубок
В полости нанотрубки различные вещества находятся в конденсированном состоянии и имеют надежную по химической и механической стойкости оболочку, что открывает перспективы разработки технологий их хранения.
Идея защиты нити проводника или углеродной нанотрубки, помещенной внутрь нанотрубок диэлектриков, уже опробована. Интересно отметить, что для квантовых нитей металлов и полупроводников наблюдается изменение температуры перехода в сверхпроводящее состояние, отсутствие внутренних дефектов, стойкость к окислению, баллистический перенос электронов и т.д.
Интересным представляется также изменение электронных свойств неуглеродных нанотрубок, в частности смещение уровня Ферми легированием, изменение подвижности носителей, зонной структуры, получение трубок с различной морфологией.
При создании электронных приборов могут реализовываться методы, в основе которых лежат технологии, аналогичные применяемым при создании устройств на полупроводниковых кристаллах: использование трубок с полупроводниковой проводимостью n- и p-типа при слабом изменении стехиометрии, получение материала с прямой и непрямой запрещенной зоной, создание уровней в запрещенной зоне, инженерия электрон-электронного взаимодействия.
Характеристики
Тип файла документ
Документы такого типа открываются такими программами, как Microsoft Office Word на компьютерах Windows, Apple Pages на компьютерах Mac, Open Office - бесплатная альтернатива на различных платформах, в том числе Linux. Наиболее простым и современным решением будут Google документы, так как открываются онлайн без скачивания прямо в браузере на любой платформе. Существуют российские качественные аналоги, например от Яндекса.
Будьте внимательны на мобильных устройствах, так как там используются упрощённый функционал даже в официальном приложении от Microsoft, поэтому для просмотра скачивайте PDF-версию. А если нужно редактировать файл, то используйте оригинальный файл.
Файлы такого типа обычно разбиты на страницы, а текст может быть форматированным (жирный, курсив, выбор шрифта, таблицы и т.п.), а также в него можно добавлять изображения. Формат идеально подходит для рефератов, докладов и РПЗ курсовых проектов, которые необходимо распечатать. Кстати перед печатью также сохраняйте файл в PDF, так как принтер может начудить со шрифтами.
















