пояснительная записка (1075018), страница 4
Текст из файла (страница 4)
E(2:0) – код операции
ЗнА(0) – знак слова А
ЗнВ(0) – знак слова В
A(0:13) – слово А
B(0:7) – слово В
C(0:7) – слово С
R(1:7) - слово R
K(0:7) – слово K
РгЗ1(0:0) – триггер 1
D(0:2) – слово D
Сч(0:3) – счетчик
Логические условия и соответсвующие им осведомительные сигналы
| Логическое условие | Осведомительный сигнал |
| ПРГОТ /\ (!ЗАН) /\ (ША=N) – ЗАХВАТ | X1 |
| КОП | X2 |
| В1 | X3 |
| В2 | X4 |
| В3 | X5 |
| В4 | X6 |
| В5 | X7 |
| В6 | X8 |
| В7 | X9 |
| Данные | X10 |
| А=0 | X11 |
| В=0 | X12 |
| ЗнА | X13 |
| ЗнВ | X14 |
| Сч=8 | X15 |
| ПРРЕЗ | X16 |
| K(3) | X17 |
6. Разработка закодированного графа обобщенной микропрограммы
Закодированный граф обобщенной микропрограммы (лист 2) составляется на основе обобщенной микропрограммы (лист 1), списка микроопераций и списка логических условий (пункт № 5 данного документа) путем подстановки соответсвующих комбинаций управляющих сигналов (
) в соответствии с текущей микрооперацией в каждый узел графа. Логические условия используются в этом графе в качестве условий перехода
. После этого всем узлам полученного графа присваивается индивидуальный порядковый номер - номер состояния – с a0 по a68.
7. Синтез и схемы операционных элементов.
Каждый операционный элемент синтезируется на основе списка машинных слов, машиных операций и логических условий, соответсвующих данному операционному элементу.
Каждому полному слову разрядностью больше, чем 1 бит, использующемуся в данном операционном элементе ставится в соответсвие регистр (или счетчик). Полному слову разрядностью в 1 бит ставится в соответсвие синхронный D-триггер.
Если полное слово имеет разрядность больше чем 8 бит, то его старшей и младшей частям ставится в соответствие по регистру.
Если операционный элемент формирует какие-либо осведомительные сигналы, то в нем должна быть предусмотрена комбинационная схема для формирования этих сигналов.
Если на регистр (счетчик, синронный D-триггер) операционного элемента приходят данные из более чем одного источника, то должна быть предусмотрена схема развязки сигналов от разных источников.
Ниже показаны синтез и схемы операционных элементов 1 – 13.
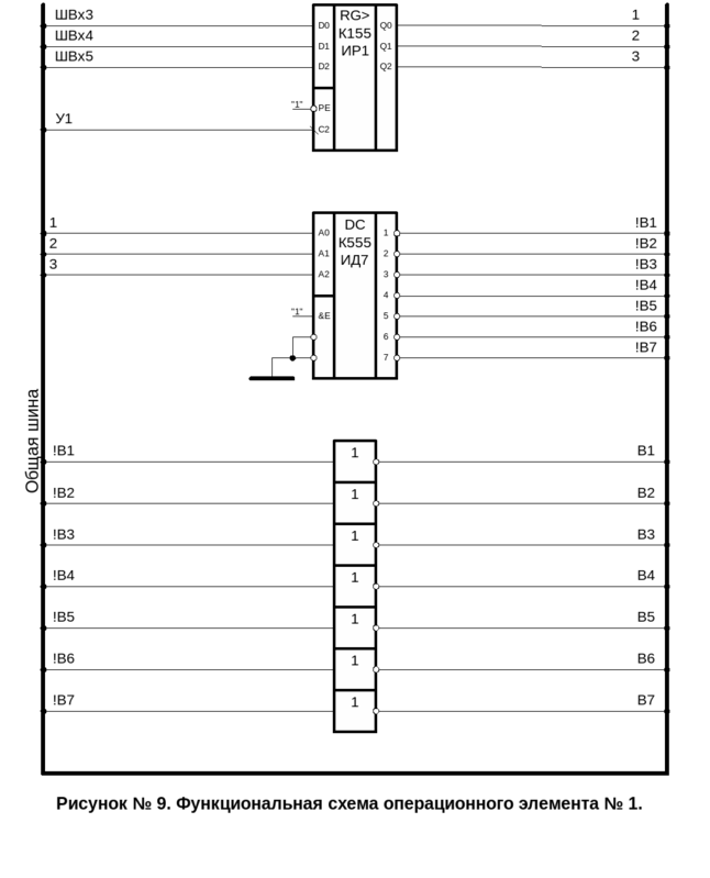
Синтез операционного элемента № 1
Операционный элемент № 1 состоит из:
-
регистра Е, в котором хранится код операции, поступивший с входной шины
-
дешифратора КОП, который на основе значения, хранящегося в регистре Е формирует осведомительные сигналы !B1,…,!B7
-
семи инверторов, которые инвертируют осведомительные сигналы !B1,…,!B7 в осведомительные сигналы B1,…,B7
Ниже приведена таблица, которая показывает, какие значения появляются на входах регистра Е и дешифратора КОП при подаче управляющих сигналов.
После таблицы приведены функциональные зависимости значений входов регистра Е и дешифратора КОП от управляющих сигналов.
По заднему фронту сигнала У1, в регистр Е записывается с входной шины слово ШВх(5:3). При всех остальных состояниях регистр Е просто хранит свое прежнее состояние.
Схема операционного элемента № 1 приведена на рисунке № 9.
Синтез операционного элемента № 2
Операционный элемент № 2 состоит из:
-
асинхронного RS-триггера, который служит для формирования сигналов ЗАПР=1 и ЗАПР=0
-
двух инверторов управляющих сигналов (они нужны потому что у используемого RS-триггера активные уровни - низкие)
-
инвертирующего буферного элемента с 3-мя состояниями выходов, который нужен из-за того, что сигнал ЗАПР выдается на общую шину управления, и для того, чтобы в моменты, когда наше ВУ не работает, оно не мешало работать другим устройствам, использующим ту же шину
Ниже приведена таблица, которая показывает, какие значения появляются на входах триггера и буферного элемента при подаче управляющих сигналов.
После таблицы приведены функциональные зависимости значений входов триггера и буферного элемента от управляющих сигналов.
| Управляющие сигналы | Микрооперация | Триггер № 1 | Буферный элемент № 1 | ||
| У2 | ЗАПР:=0 | 1 | 0 | 1 | 1 |
| У3 | ЗАПР:=1 | 0 | 1 | 0 | 0 |
При поступлении на операционный элемент сигнала У2, он инвертируется и подается на вход
триггера, из-за чего на выходе триггера появится уровень логической единицы, который будет подан одновременно на информационный вход и вход разрешения вывода информации буферного элемента с 3-мя состояниями, из-за чего выход буферного элемента перейдет в высокоимпедансное состояние, и следовательно на выходную шину не будет идти никаких сигналов, что тождественно состоянию сигнала ЗАПР=0.
При поступлении на операционный элемент сигнала У3, он инвертируется и подается на вход
триггера, из-за чего на выходе триггера появится уровень логического нуля, который будет подан одновременно на информационный вход и вход разрешения вывода информации буферного элемента с 3-мя состояниями, из-за чего на выходе буферного элемента появится уровень логической единицы, и следовательно на выходную шину будет выдан сигнал ЗАПР=1.
Схема операционного элемента № 2 приведена на рисунке № 10.1.
Синтез операционного элемента № 3
Операционный элемент № 3 состоит из:
-
асинхронного RS-триггера, который служит для формирования сигналов ЗАН=1 и ЗАН=0
-
двух инверторов управляющих сигналов (они нужны потому что у используемого RS-триггера активные уровни - низкие)
-
инвертирующего буферного элемента с 3-мя состояниями выходов, который нужен из-за того, что сигнал ЗАН выдается на общую шину управления, и для того, чтобы в моменты, когда наше ВУ не работает, оно не мешало работать другим устройствам, использующим ту же шину
Ниже приведена таблица, которая показывает, какие значения появляются на входах триггера и буферного элемента при подаче управляющих сигналов.
После таблицы приведены функциональные зависимости значений входов триггера и буферного элемента от управляющих сигналов.
| Управляющие сигналы | Микрооперация | Триггер № 2 | Буферный элемент № 2 | ||
| У4 | ЗАПР:=0 | 1 | 0 | 1 | 1 |
| У5 | ЗАПР:=1 | 0 | 1 | 0 | 0 |
При поступлении на операционный элемент сигнала У4, он инвертируется и подается на вход
триггера, из-за чего на выходе триггера появится уровень логической единицы, который будет подан одновременно на информационный вход и вход разрешения вывода информации буферного элемента с 3-мя состояниями, из-за чего выход буферного элемента перейдет в высокоимпедансное состояние, и следовательно на выходную шину не будет идти никаких сигналов, что тождественно состоянию сигнала ЗАН=0.
При поступлении на операционный элемент сигнала У5, он инвертируется и подается на вход
триггера, из-за чего на выходе триггера появится уровень логического нуля, который будет подан одновременно на информационный вход и вход разрешения вывода информации буферного элемента с 3-мя состояниями, из-за чего на выходе буферного элемента появится уровень логической единицы, и следовательно на выходную шину будет выдан сигнал ЗАН=1.
Схема операционного элемента № 3 приведена на рисунке № 10.2.
















