пояснительная записка (1074670), страница 5
Текст из файла (страница 5)
Машинные слова, используемые в операционном элементе № 12:
| Наименование и формат слова | Тип слова | Поля | Пояснение |
| Сч(2:0) | L | – | Счетчик |
Машинные операции, выполняемые операционным элементом № 12:
| Машинная операция | Управляющие сигналы |
| Сч:=0 | У30 |
| Сч:=Сч + 1 | У31 |
Логические условия, формируемые операционным элементом № 12:
| Логические условия | Осведомительные сигналы |
| Сч=6 | Х15 |
Операционный элемент № 13
Машинные слова, используемые в операционном элементе № 13:
| Наименование и формат слова | Тип слова | Поля | Пояснение |
| ША(5:0) | I | – | Шина адреса |
| N(5:0) | I | – | Адрес ВУ, выставленный на тумблерном регистре |
| ЗАН | L | – | Состояние занятости ВУ |
| ПРГОТ | I | – | Сигнал проверки готовности |
Машинные операции, выполняемые операционным элементом № 13:
Данный операционный элемент не выполняет никаких машинных операций.
Логические условия, формируемые операционным элементом № 13:
Логические условия формируемые вне ВУ.
| Логические условия | Осведомительные сигналы |
| КОП | Х2 |
| Данные | Х10 |
| ПРРЕЗ | Х16 |
Типы слов, используемых в операционных элементах, обозначаются следующим образом:
L – внутренние слова (принимают значения и используются только внутри обобщенной микропрограммы)
I – входные слова (принимают значения вне обобщенной микропрограммы, а внутри обобщенной микропрограммы их значения только используются)
O – выходные слова (принимают значения только внутри обобщенной микропрограммы, а используются только вне ее).
6. Разработка закодированного графа обобщенной микропрограммы
Закодированный граф обобщенной микропрограммы (лист 2) составляется на основе обобщенной микропрограммы (лист 1), списка микроопераций и списка логических условий (пункт № 5 данного документа) путем подстановки соответсвующих комбинаций управляющих сигналов (
) в соответствии с текущей микрооперацией в каждый узел графа. Логические условия используются в этом графе в качестве условий перехода
. После этого всем узлам полученного графа присваивается индивидуальный порядковый номер - номер состояния – с a0 по a64.
7. Синтез и схемы операционных элементов.
Каждый операционный элемент синтезируется на основе списка машинных слов, машиных операций и логических условий, соответсвующих данному операционному элементу.
Каждому полному слову разрядностью больше, чем 1 бит, использующемуся в данном операционном элементе ставится в соответсвие регистр (или счетчик). Полному слову разрядностью в 1 бит ставится в соответсвие синхронный D-триггер.
Если полное слово имеет разрядность больше чем 8 бит, то его старшей и младшей частям ставится в соответствие по регистру.
Если операционный элемент формирует какие-либо осведомительные сигналы, то в нем должна быть предусмотрена комбинационная схема для формирования этих сигналов.
Если на регистр (счетчик, синронный D-триггер) операционного элемента приходят данные из более чем одного источника, то должна быть предусмотрена схема развязки сигналов от разных источников.
Ниже показаны синтез и схемы операционных элементов 1 – 13.
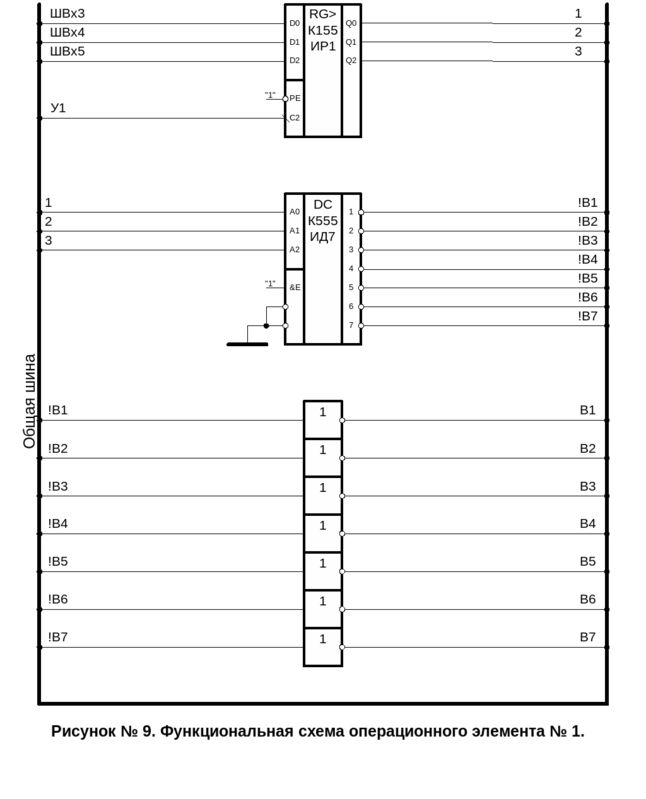
Синтез операционного элемента № 1
Операционный элемент № 1 состоит из:
-
регистра Е, в котором хранится код операции, поступивший с входной шины
-
дешифратора КОП, который на основе значения, хранящегося в регистре Е формирует осведомительные сигналы !B1,…,!B7
-
семи инверторов, которые инвертируют осведомительные сигналы !B1,…,!B7 в осведомительные сигналы B1,…,B7
Ниже приведена таблица, которая показывает, какие значения появляются на входах регистра Е и дешифратора КОП при подаче управляющих сигналов.
После таблицы приведены функциональные зависимости значений входов регистра Е и дешифратора КОП от управляющих сигналов.
По заднему фронту сигнала У1, в регистр Е записывается с входной шины слово ШВх(5:3). При всех остальных состояниях регистр Е просто хранит свое прежнее состояние.
Схема операционного элемента № 1 приведена на рисунке № 9.
Синтез операционного элемента № 2
Операционный элемент № 2 состоит из:
-
асинхронного RS-триггера, который служит для формирования сигналов ЗАПР=1 и ЗАПР=0
-
двух инверторов управляющих сигналов (они нужны потому что у используемого RS-триггера активные уровни - низкие)
-
инвертирующего буферного элемента с 3-мя состояниями выходов, который нужен из-за того, что сигнал ЗАПР выдается на общую шину управления, и для того, чтобы в моменты, когда наше ВУ не работает, оно не мешало работать другим устройствам, использующим ту же шину
Ниже приведена таблица, которая показывает, какие значения появляются на входах триггера и буферного элемента при подаче управляющих сигналов.
После таблицы приведены функциональные зависимости значений входов триггера и буферного элемента от управляющих сигналов.
| Управляющие сигналы | Микрооперация | Триггер № 1 | Буферный элемент № 1 | ||
| У2 | ЗАПР:=0 | 1 | 0 | 1 | 1 |
| У3 | ЗАПР:=1 | 0 | 1 | 0 | 0 |
При поступлении на операционный элемент сигнала У2, он инвертируется и подается на вход
триггера, из-за чего на выходе триггера появится уровень логической единицы, который будет подан одновременно на информационный вход и вход разрешения вывода информации буферного элемента с 3-мя состояниями, из-за чего выход буферного элемента перейдет в высокоимпедансное состояние, и следовательно на выходную шину не будет идти никаких сигналов, что тождественно состоянию сигнала ЗАПР=0.
При поступлении на операционный элемент сигнала У3, он инвертируется и подается на вход
триггера, из-за чего на выходе триггера появится уровень логического нуля, который будет подан одновременно на информационный вход и вход разрешения вывода информации буферного элемента с 3-мя состояниями, из-за чего на выходе буферного элемента появится уровень логической единицы, и следовательно на выходную шину будет выдан сигнал ЗАПР=1.
Схема операционного элемента № 2 приведена на рисунке № 10.1.
Синтез операционного элемента № 3
Операционный элемент № 3 состоит из:
-
асинхронного RS-триггера, который служит для формирования сигналов ЗАН=1 и ЗАН=0
-
двух инверторов управляющих сигналов (они нужны потому что у используемого RS-триггера активные уровни - низкие)
-
инвертирующего буферного элемента с 3-мя состояниями выходов, который нужен из-за того, что сигнал ЗАН выдается на общую шину управления, и для того, чтобы в моменты, когда наше ВУ не работает, оно не мешало работать другим устройствам, использующим ту же шину
Ниже приведена таблица, которая показывает, какие значения появляются на входах триггера и буферного элемента при подаче управляющих сигналов.
После таблицы приведены функциональные зависимости значений входов триггера и буферного элемента от управляющих сигналов.
| Управляющие сигналы | Микрооперация | Триггер № 2 | Буферный элемент № 2 | ||
| У4 | ЗАПР:=0 | 1 | 0 | 1 | 1 |
| У5 | ЗАПР:=1 | 0 | 1 | 0 | 0 |
















