Обработка отверстий (1073611), страница 3
Текст из файла (страница 3)
Шероховатость поверхности при развертывании достигается Ra (5 – 0,32).
При развертывании выделяется большое количество тепла, что приводит к нагреву детали и вследствие этого к конусности обрабатываемого отверстия. Поэтому точность размеров отверстия будет выше при развертывании на больших подачах с обильным охлаждением.
Отверстия больших диаметров, короткие, глухие и с прерывистыми поверхностями, как правило, развертками не обрабатываются.
Чистовая обработка отверстий развертыванием применяется преимущественно в единичном и мелкосерийном производстве. Объясняется это тем, что стоимость изготовления разверток, допускающих небольшое число переточек, а также расходы на их переточку значительно превышают стоимость разверток выполнения операций. Стойкость разверток невелика - 300-500 отверстий в чугунных деталях и 80-100 - в стальных.
О
бработка отверстий комбинированным инструментом применяется в серийном и массовом производствах в целях повышения производительности и улучшения качества обработки деталей. Она осуществляется комбинированным инструментом, который позволяет совместить в один рабочий ход последовательно черновую и чистовую обработку одной поверхности, совместить различные операции: сверление и зенкерование, зенкерование и развертывание, развертывание и нарезание резьбы и т.д.
На рис. 76 приведены примеры комбинированных режущих инструментов для обработки отверстий и форма обработанного отверстия.
К недостаткам комбинированного инструмента относится трудоемкость его изготовления и некоторая сложность переточки.
О
дновременная обработка нескольких отверстий одной детали широко применяется в приборостроении, так как повышает производительность труда благодаря сокращению периода резания и затрат времени на смену режущего инструмента.
В крупносерийном и массовом производстве для одновременной обработки нескольких отверстий используют многошпиндельные сверлильные станки и многошпиндельные головки, в серийном - универсальные многошпиндельные головки.
В оптическом приборостроении применяются универсальные головки к вертикально-сверлильным и настольным станкам, причем чаще всего "встречаются головки с раздвижными карданными передачами (Рис. 77). Головка крепится на невращающейся части шпинделя 1 станка. Инструментальные шпиндели 6 получают вращение от вращающейся части 2 шпинделя станка через ведущее зубчатое колесо 3, промежуточные колеса 4 и карданные валики 5.
Положение шпинделей 6 по заданным координатам отверстий обрабатываемой детали достигается перемещением кронштейнов 7, в которых установлены шпиндели, как в радиальном направлении, так и по окружности Т-образных пазов корпуса с последующим закреплением кронштейнов болтами 8.
Растачивание отверстий. Отверстия нестандартных размеров и большого диаметра, глухие и короткие, точные по размерам и форме обрабатывают резцами на станках токарной группы, а также на расточных, агрегатных и других станках.
Рис 000 – 009 – то растачивание
Растачивание может производиться как при вращении детали, так и при вращении инструмента. В некоторых случаях возможна обработка отверстий при совместном вращении детали и инструмента.
Растачивание на станках токарной группы - малопроизводительный способ обработки отверстий, что обусловлено недостаточной жесткостью расточного резца и плохой его теплоотводящей способностью. Однако оно широко осуществляется при обработке деталей на токарных станках. Это объясняется тем, что при растачивании отверстий резцом можно достигнуть большой точности и более высокого класса чистоты, чем при обработке сверлением и зенкерованием. При обработке резцом удается выправить ось отверстия и придать ей заданное положение, обработать короткие глухие и больших диаметров отверстия.
Существенным недостатком процесса растачивания является трудность установки резца на размер. Однако на современных токарных станках, оснащенных точными лимбами, установка резца на размер упрощается.
Схемы обработки различных отверстий стандартными расточными резцами приведены на рис. 78.
На рис.000 показаны стандартные расточные резцы.
Схема растачивания сквозных отверстий диаметром до 100-150 мм показана на pиc. 78, а; схемы обработки ступенчатых и глухих отверстий - на рис. 78, б. При растачивании отверстий подрезаются и внутренние уступы. Эту операцию можно производить как с поперечной (рис. 78, в), так и с продольной (рис. 78, г) подачами. При подрезании с продольной подачей державку резца поворачивают на угол φ=5°
Сквозные и глухие отверстия глубиной более 100-150 мм растачивают державочными резцами. При растачивании сквозных отверстий стержень резца устанавливают перпендикулярно оси державки, а при обработке глухих отверстий - под углом 45° или 60°.
Наиболее простая и распространенная схема растачивания - обработка отверстия резцом, консольно закрепленным в суппорте, при этом создаются наиболее благоприятные условия для получения прямолинейной оси отверстия, совпадающей с осью вращения шпинделя станка.
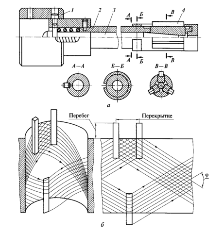
Рисунок 12.10. Хон (а) и схема штрихов на обрабатываемой поверхности (б):
1 – хвостовик; 2 – корпус; 3 – разжимной шток; 4 – абразивный брусок; φ – угол скрещивания штрихов обработки
















