ПРОЕКТИРОВАНИЕ ДЕТАЛЕЙ ПРИБОРОВ ЧЕРТЕЖИ re (1070747)
Текст из файла
7. Трубку поз. 10 развальцевать и паять припоен ПОС LtD с шлюсон (хлористый цинк) по специнструнции.
-
Изолятор поз.9 паять припоем ПОС 61 с панигролы-о.
-
Поверхности А покрыть'Зм.М.Л,-165 черный. 'ПАТ; -
температура сушки 90°
Ц. Проверить на герметичность при избыточном давлении 0,1 г mh/mz.
5. После заполнения прибора, сухим азотом трубки поз. 10 обжать для герметичности.
\/!ист
Герметизаци
Рас. 5
Bud A
WO ±0,2
I Осевой зазср Валиков Злаков, поз. 5, поз. 7, поз.8-0,02... 0,05 регулируется набором прокладок поз. 12, поз. 15, поз.17. 2. Подшипники качения и зубчатые венцы блоков поз. 5, поз. 7, поз. 8 смазать смазкой ЦИА7ИМ-201 ГОСТБ2Б7-74. s. Разводку и распайку проводки. бести В соответствии со схемой электрической, принципиальной ц схемой тиражной.
•£ При установке блока контактов поз. 2 произвести установку потенциометра держателя поз. 1 на „О" при крайнеп правом (по виду Б) положении, d/rafca ms S. Произвести фиксацию шестерни 10 на оси потенциометра затяжкой ванта лаз. 28.
5. Предельный мопент на рычаге поз. 14-3^ 0,5 Н-Н регулировать через отверстия 8 корпусе поз.В под крышкой поз. 1В.
Припер
В. Ва,1:Пы поз. 22,2^26,30,33 ставить на эмали ХСЭ-6 •
п пени я
Ласт
паименаоани к
иаозничение
11. Муф т а обгона самовключающаяся односторонняя
а] кулачковая од нос/паранил
фрикционные (а, в, г) '•
S) об'щее обозначение без уточнения типа
8) односторонняя (аВщее обозначение)
г) односторонняя электромагнитная (а/щее обозначение)
П.Переааии зубчатые с пересекающимися Валами (конические):
a) offices обозначение без уточнения типа зубьев
5) с прямыми, спираль -иыми и круговыми зубьями
\—
1. Вал, Валик, ось, стержень, шатун ч т-а.
2. Знак,характеризующий
кинематического элемента
J, НепадЗижное закрепление ваи, стержня, пальца и uj.fi.
a] /j S] sj
\ Ч-. Соединение стержня с I неподвижной jinoptxi:
* в плоскос^лы чертёзк®
\ $) типовым шярнирвн
\ Опора вля с
/I) подвижная
г) неподвижная
5. Неподвижная опора Вля | в) стержня, движцщегвся j возвратно-поступательна),
а) скольжения
б) качения
6. Подшипники скольжения \ и качения ни Валу {Иез уточнения типа]:
а) радиальный
односторонние:
б) радиально-упорный
ff) упорный
I—J
7. Подшипники скошжеяея:} а)
а) радиальный
}L_J
односторонние - 1 V
3
6)радиально - упорный
б) упорны S
8. Подшипники качения: а) радиальный 5)раИиальна- упорный (а,6-о$щее обозначение)
9. Соединение детали
с валом:
щсдайадное лриИрящетги | #j 6) подвижное без Вращения В) г л ух о в
г) при помощи ВытяжмгЗ шпонки
Ю.Сиединение двух Ssna'B: j
а) глух ов
5) зубчат о а муфтой
В) предохранительной муфтий
в) упорный шариковый
13, Ползун в неподвижных направляющих
П. Передача фрикционная С цилиндрическими роликами
15.Передача плоским ремнем открытая
16. Передача зубчатые (цилиндрические} :
а) внешнее зацепление (общее о/>означение без уточнен ил типа зубьев)
S) то же, с прямы ни t косыми и шевронными, зубьями
В) Внутреннее зацепление
ииизначкние
Tl
наименование
18. Передачи зубчатые со скрещивающимися валами;
а] червячные
с 'цилиндрическим
ЧЕрбякЗ.'Ч
6) Винтовые
19. Передачи зубчатые реечные :
а} общее обозначение без уточнения типа
5) с прямыми, косыми и шевронными зубьями
20. Винт, передающий движение
'21 Гайка на винте, передающем движение:
а) неразъемная
б) разъемная
22. Пружины
а) цилиндрические сжатия
S) цилиндрические растяжения
в) цилиндрические,
работающие
на кручгние
г) спиральные
ИГ
иоозначение
Ц
омм/ю
идозначение
наименаоание
25. Храповые зубчатые механизмы .-
а) с наружным зацеплением односторонние
6} с наружным зацеплением двусторонние
26. КриВошипна-кулисные
механизмы:
а) с поступательно движущейся кулисой
S) с вращающейся кулисой
27. Мальтийский механизм с наружным зацеплением и с радиальным расположением паз о В у мальтийского креста
" -U
28. Эксцентрик
29. Маховик на Валу
Вид
прямо-
линейно
Ж Направление дВи/кения:
Враща-тельнОЕ
а) одностороннее
(например, вправо
или по часовой
стрелке для
Вращения)
б) ВазВратное
В; Возвратно-поступательное
г) одностороннее
с Вь/стоем
45"
д) с ограничением
(указывается Величина
перемещения)
Кинематические \л
схемы \
Условные графические изображения на кинематических схемах ff аксонометрической проекции.
'Наименование
Обозначений
Наименование
Яйазначение
г)
передача: а) передача цилиндрическими
и фрикционными колесами
внутреннего и внешнего
зацепления S) передача коническими или
фрикционными колесами В) реечная передача
г) черВлчная передача
д) передача Винтовыми
зуИ'тгпыми колесами
ej syfvamoe колеса с выборкой мертвого хода
2. Валы, опоры, соединения: .
а)Вал, ось,стержень 5),8)конец вала пав съемную рукоятку
Соединения •• г) карданное
о! телескопическое, е) подшипник вала или направляющие для прямолинейного движения
J. Отсчетные устройства:
а)шкала поддижная с неподвижным указателем
б) шкала неподвижная с
подвижным указателем
в) шкальное устройство^
дВухотсчетной шкалой
г) счетчик механический
Дисковая барабанная Линейная
&
Квадратный
г) Нерегулируемое
Х^
""""""'^
S)
4. Муфты:
а) муфта-по§одак
Л необратимой передачи
в) предохранительная
5, Элементы обслуживания:
а) поводок S) рукоятка.
в) маховичок
г) маховичок с фиксацией
установленного
наложения на корпус
д) фиксатор
6. Эксцентрики:
а) со щупом поступательного движения ffj со щупом качающимся
7. Тормоз
е) кнопка
Ктйенеапшр переменней емкосат (КПЕ}
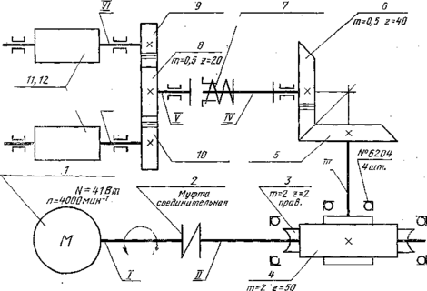
/т?-0,5 z=BO Муфта
предохранительная
III
Валики.
приводные \ VII
Ручка
тл=0,5 z=ffff m=o,5 г=20 =
Элекгпраавигатель Afin-123
ёозбуждения
d | а
Техническая характеристика Передаточное отношение редукгг ара- и=... .
Техническая характеристика
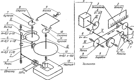
Емкость циферблата — Юс
Цена деления основной шкалы-О,О7с
Рис.2
•ея характеристика
Длина шкалы-=!~=- - - мм
Момент на валике КПЕ - МКПЕ -... Н-мм
Тдунвсагь 'fsaempauxu механизма
Рис.3
Резьбовые соединвиил
t
Шпоночные соединения
Лист
Байонвтные
Штифтовые
соединения'
Рис.
•о) ГОСТ 1077 f-75
^ '
ГОСТ 10773-75
—fr
д) ГОСТ 12350-76 Исполнение 1
Исполнение 2
sj ГОСТ 3129-70
ж) П7СГ 9W-70
-€'
,«с) Л?СГ 94-65-70
Рис. 1
I л) ГОСТ П229-1
РазВш/ьцеоать
ГОСТ 139t1-68
Т
е) ГОСТ 13942-68
д) ГОСТ .1294-0-68
Соединения вальцеванием
Соединения
После сборки. S)
пружинными кольцами.
После сборки.
Соединения заформобкои
Соединения прессованием
Крепление оптических Лист
-inmrr /то//
fK=w
Концы Валок не наклоняются
мж
Концы Палок на высоте опор
f*=0
Прогибы в~сёрёдине и накони/Годинаковы
^c. 5
^tf. Типы. Конструкция и размеры по ГОСТ' 9650 - 71
i^__ji^ ^ \Z?Z3LJL °'5Sn 7^°>ггЩ
Распределен^ нагрузка ^„^ ^^ не поворачиваются
"' w w ¥ v i ? l' ¥ ? ? t ? ? I ¥ ?' I ^
Исполнение 1 Исполнение 2 Исполнение J Исполнение 4-'
(под шплинт) . (под шайбу ШЕЗ) (под запорное кольцо)
Тип 1
Прогиб В середине равен нулю
Тип Z
Расстояние межЗу опорами 0,51
А=/
0,51
Рис.2
'Рис. 1 Допустимые нагрузки стержней из расчета на продольный изгиИ
\P=1 iP=n,25\P=0,25 \P^ \P=9
Рис. 6
| п ч/ | |
| •ь,* | |
| 1 | |
| С*Ч | |
| 1 L | |
| d | а, | It | dz | h | Ь | <5 | 1} | Гз | RffOBN -** &8елц(/. | НЩ25 | r, | С | L | Ь |
| 3 | 0,8 | 3 | — | — | — | — | — | 51- | 1,5 | ff/f | 0,6 | \f0^28 | 0,5 | |
| 4 | W | 3 | 1,5 | V | 71- | 10-40 | ||||||||
| 5 | 1,2. | 4 | 81- | K^-HL} | ||||||||||
| в | 1,6 | Ч- | 5,6 | I | 0,4- | 101- | 2,0 | №-80 | ||||||
| 8 | 2,0 | 5 | 7,6 | 121- | 15-WO | |||||||||
| ТО | 2,5 | 8 | 2,5 | 9,6 | 4 | Ifl- | 2,5 | 0,5 | 1,0 | 18-150 | ||||
| 12 | 3,2 | 11,4 | q,ff | JB/20 | \20^250\ | |||||||||
| 74 | 10 | 3,0 | 2,0 | 13,4 | 5 | 78/22 j 3,0 | 1,6 | \2J^50_ | ||||||
Отверстия центровые по ГОСТ 74
Формы А,В, Т
Характеристики
Тип файла документ
Документы такого типа открываются такими программами, как Microsoft Office Word на компьютерах Windows, Apple Pages на компьютерах Mac, Open Office - бесплатная альтернатива на различных платформах, в том числе Linux. Наиболее простым и современным решением будут Google документы, так как открываются онлайн без скачивания прямо в браузере на любой платформе. Существуют российские качественные аналоги, например от Яндекса.
Будьте внимательны на мобильных устройствах, так как там используются упрощённый функционал даже в официальном приложении от Microsoft, поэтому для просмотра скачивайте PDF-версию. А если нужно редактировать файл, то используйте оригинальный файл.
Файлы такого типа обычно разбиты на страницы, а текст может быть форматированным (жирный, курсив, выбор шрифта, таблицы и т.п.), а также в него можно добавлять изображения. Формат идеально подходит для рефератов, докладов и РПЗ курсовых проектов, которые необходимо распечатать. Кстати перед печатью также сохраняйте файл в PDF, так как принтер может начудить со шрифтами.















