Гугл перевод Осесиметричный кориолисовый вибрационный гироскоп (1060171)
Текст из файла
Обработка глубокого колодца для MEMS датчика давления
США 8558330 В2
Микромеханический ( MEMS ) датчик давление включает в себя полупроводниковую подложку, имеющую глубоко расположенный колодец внутри первой поверхности и полость, расположенную внутри второй, противоположной поверхности. Полупроводниковая подложка имеет первый тип легирования. Глубокий колодец имеет второй тип легирования с уклоном профиля легирования, тем самым образуя PN переход в подложке. Полость образует диафрагму, которая представляет собой секцию подложки, которая тоньше, чем окружающие секции, и которая включает глубокий колодец. Один или более пьезорезистивных элементов расположено в глубоком колодце. Пьезорезисторы чувствительны к деформациям (таким как изгиб) в диафрагме вызванными изменением давления в полости.
ИЗОБРАЖЕНИЯ(8)
КРАТКОЕ ИЗЛОЖЕНИЕ СУЩНОСТИ ИЗОБРЕТЕНИЯ
Датчики давления основанные на пьезорезистивной микромеханической системе сконфигурированы так, чтобы перевести давление в электрический сигнал, соответствующий давлению. Как правило, Пьезорезистивный MEMS датчик давление включает в себя гибкую диафрагму, имеющую один или несколько резистивных элементов диффундирундирующих в ней. Диафрагма выполнена с возможностью измерения давления внутри соседней полости, основанной на резистивных изменениях, вызванных такой силой, которая оказывает давление на диафрагму. Например, высокое давление в соседней полости заставляет диафрагму сгибаться в одном направлении, которое сжимает резистивный элемент, тем самым уменьшая сопротивление. И наоборот, пониженное давление в полости заставляет диафрагму сгибаться в другом направлении, которое расширяет резистивные элементы, тем самым увеличивая сопротивление.
Диафрагма образована в кремниевой подложке с использованием электрохимически контролируемого процесса травления (ЕСЕ). Процесс ЕСЕ использует пластины, содержащие р-тип подложки с эпитаксиальным слоем n-типа, образованного на нем. Во время травления, пластина погружается в травитель (например, ванну КОН), и прикладывается контролируемое смещение между эпитаксиальным слоем n-типа и травителем. PN переход, образованный на границе эпитаксиального слоя n-типа и подложки р-типа, действует в качестве диода обратного смещения предотвращая травление от воздействия любого ток, так что травитель выполняет нормальное анизотропное травление через подложку, пока он не достигнет перехода. Затем, так как диод был вытравлен, травитель подвергается воздействию приложенного смещения, и реакция образует тонкий слой диоксида кремния на подложке, который останавливает травления.
Сводка
Ниже представлена упрощенная изложение для того, чтобы обеспечить базовое понимание одного или более аспектов раскрытия. Это краткое изложение не является исчерпывающим обзором раскрытия, и не ставит целью определить ключевые или критические элементы раскрытия, ни определить их границы. Скорее, основная цель сводки состоит в том, чтобы представить некоторые концепции раскрытия в упрощенной форме в качестве вступления к более подробному описанию, которое представлено ниже.
В одном варианте данное раскрытие относится к способу MEMS обработки. Способ включает в себя обеспечение полупроводниковой подложки, имеющей первый тип легирования. Глубокий колодец, имеющий второй тип легирования, формируется в полупроводниковой подложке. Одна или более неглубоких скважин, имеющие первый тип легирования, образуются в глубокой скважине, в которой одна или более неглубоких скважин работают как резистивные элементы внутри глубокой скважины. Задняя часть полупроводниковой подложки селективно травится посредством выполнения процесса электрохимически контролируемого травления (ЕСЕ) с образованием полости, примыкающей к глубокой скважине, приводя в результате структуре мембраны, которая работает в качестве пьезорезистора выполненого с возможностью измерения давления в полости.
В другом варианте данное раскрытие относится к MEMS датчику давления. MEMS датчик давление включает в себя подложку, имеющую первый тип легирования. Глубокая скважина расположена в верхней части подложки, отличающийся тем, что скважина содержит второй тип легирования и имеет градиент профиля легирования. Полость расположена внутри обратной стороны подложки в положении напротив глубокого колодца, так что глубокий колодец упирается в полость. Полость образует гибкую диафрагму внутри подложки, имеющей толщину, определяемую глубиной глубокой скважины.
В еще одном варианте данное раскрытие относится к MEMS датчику давления. MEMS датчик давления состоит из р-типа не эпитаксиальной кремниевой подложки. Диафрагма находится в пределах верхней не эпитаксиальной кремниевой подложки. N-тип глубокий колодец, имеющий градиент профиля легирования, находится в диафрагме. Одна или несколько р-типа неглубокие колодцы, которые работают как пьезоэлектрические резисторы расположены в n-типа глубоком колодце. Полость находится в задней части не эпитаксиальной кремниевой подложки и упирается в диафрагму. Давление в полости создается, чтобы генерировать силу, действующую на мембрану, чтобы изменить сопротивление пьезоэлектрических резисторов в зависимости от давления внутри полости.
Последующее описание и прилагаемые чертежи подробно излагают определенные иллюстративные аспекты и реализаций изобретения. Это свидетельствует о некоторых из различных способов, которыми могут быть использованы принципы изобретения.
КРАТКОЕ ОПИСАНИЕ ЧЕРТЕЖЕЙ
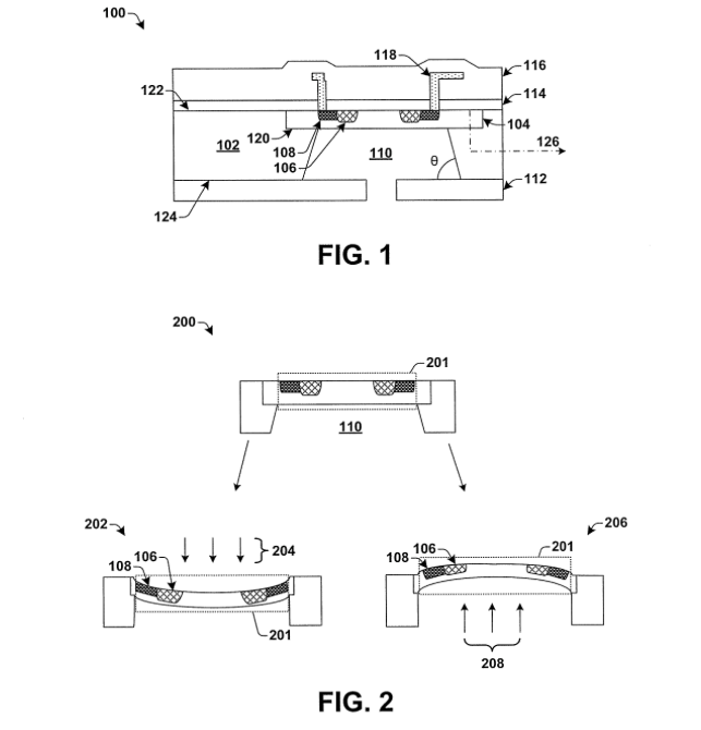
Фиг. 1 иллюстрирует поперечное сечение варианта осуществления MEMS датчика давления, имеющего пьезорезистивный элемент, содержащий глубокую скважину.
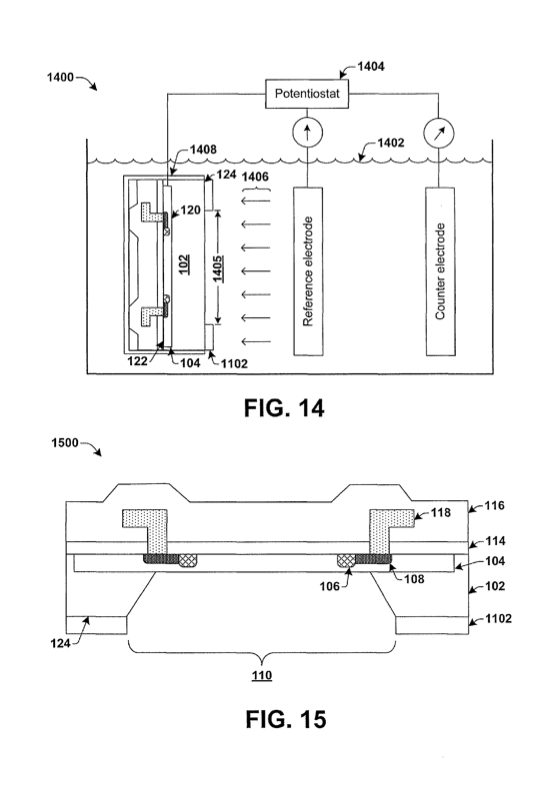
Фиг. 2 иллюстрирует примерный вариант осуществления диафрагмы MEMS датчика давления на различных этапах работы.
Фиг. 3 иллюстрирует график, показывающий имитацию легирования профиля глубокого колодца MEMS датчика давление, в соответствии с вариантом.
Фиг. 4показано поперечное сечение варианта осуществления монолитного MEMS датчика давления.
Фиг. 5 блок-схема последовательности операций примерного варианта осуществления способа для формирования MEMS датчика давления.
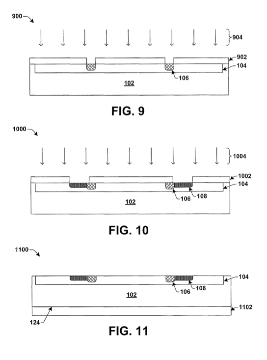
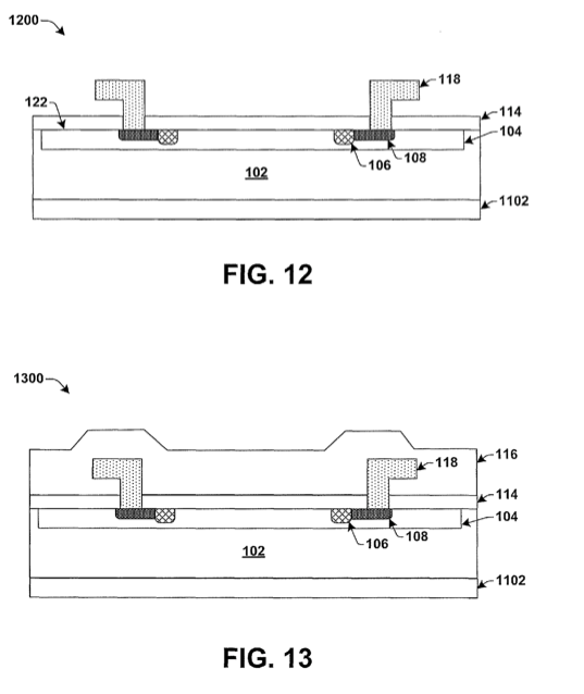
Фиг. 6-15 виды в разрезе некоторых вариантов осуществления в качестве примера полупроводниковой подложки, на которой выполняется способ формирования MEMS датчика давления.
Детальное описание
В соответствии с настоящим изобретением, более низкой стоимости МЭМС датчик давления, например, датчик давления монокристаллического кремния, который имеет уменьшенный размер, обеспечивая при этом прочную мембрану. Как обсуждалось выше, зона требуемая для головки датчика как правило, была определена с помощью способов, которые используются для микромасшинной мембраны (диафрагму) датчика. В соответствии с настоящим изобретением мембрана образована тонким слоем кремния, который остается после истончение активного слоя пластины. Кроме того, при желании, доступ к задней части мембраны может легко быть обеспечен с помощью частичного травление в обрабатываемую пластину, перед склеиванием, а затем глубокого реактивного ионного травления (DRIE) от задней части обрабатываемой пластины. Таким образом, площадь, занимаемая вытравленным отверстие уменьшается, в то время как размер мембрана легко контролировать.
Как упоминалось выше, датчик давления изготовленный с помощью процесса травления оказывает относительно большой размер датчика с боковой стенкой на угол около 125,3 градусов мембраны. Как также указывалось выше, датчики сделаны с использованием процесса полостной поверхности всех окон, т. е. травление пластины на границе раздела облигаций, имели относительно небольшой размер. К сожалению, процесс полости поверх всех окон создает угол около 54,7 градусов на поверхности боковой стенки, мембраны, которая обеспечивает датчику, имеющий менее прочные мембраны, чем предусмотрено с использованием процесса травления задней стороны. Согласно одному варианту осуществления настоящего изобретения, выполняя угол в 90 градусов DRIE до насыпного травления обеспечивает датчик, имеющий угол 125,3 градусов на границе раздела боковины-мембраны, уменьшая площадь, требуемую матрицы датчика.
В соответствии с настоящим изобретением, количество этапов обработки, которые описаны преимущественно обеспечивают связь датчика / травления заднюю давления, который является надежной, из-за угла боковой стенки на границе раздела боковины мембраны. Кроме того, способ может включать прекращать травление (например, оксидный слой) под мембраной, то есть между мембраной и обрабатываемой пластиной, который предпочтительно обеспечивает дифференциальный вариант легкого изготовления датчика.
Поскольку обрабатываемая пластина не окисляется, она подвергается воздействию травления кремния обратно в раствор в течение травления шаг назад. Таким образом, желательно, чтобы обрабатываемая пластина состояла из материала, который устойчив к травлению используемым раствором. Например, когда эпитаксиальные пластины является N-типа эпитаксиальные пластины, обработку пластины могут быть изготовлены из тяжелого бора, легированного Р-типа + + или (111) индексами Миллера ориентированный кремния. Следует иметь в виду, что П-образный + + легированный кремний и / или (111) индексами Миллера, ориентированных кремний имеет чрезвычайно низкие скорости травления для травления, используемых для N-типа кремния. Следует также понимать, что изобретение не ограничивается датчиком давления мембранного изготовления и широко применима к любому числу MEMС устройств, реализующих кремниевые структуры, например акселерометры, гироскопы и т.п.
Фиг. 1, До датчика давление 100 , производится с использованием процесса полости зад, изображен. Как показано, обрабатываемую пластину, например, стеклянная пластина 102 присоединенная к кремниевой пластине110 , которая включает эпитаксиальный слой N-типа, который образует мембрану 110 В, имеющего толщину Т, например, приблизительно 12 микрон. До склеивания пластин 102 и 110 , полость, имеющая боковую стенку 105 выполненую в задней части 110A от пластины 110 . В типичном применении, ширина W полости в точке мембраны 110 B составляет примерно 1160 мкм. Как показано, боковая стенка 105 образует угол примерно 125,3 градусов, по отношению к мембране 110 В. Для дифференциального зондирования, отверстие 109 может быть расположено через аппроксимированную полость задней стороны пластины 102 .
Как показано, множество N + диффузии 113 расположены в мембране 110 В. Имплантируют в мембранну 110 B представляют собой множество имплантатов 111 , которые могут быть, например, пьезоэлектрическими элементами. Слой нитрида 117 формируется на оксидном слое 115 металлическим слоем, например, из алюминия, 121 формируется на слое нитрида 117 , чтобы обеспечить контакты для имплантатов 111. Другой оксидный слой 119образован на частях металлического слоя 121 и слой нитрида 123 формируется на слое оксида 119. В то время как датчик 100 обеспечивает угол примерно 125,3 градусов на поверхности раздела между боковой стенкой 105 и мембраной 110 B, шириной W мембраны 110 B составляет примерно 1160 мкм в полости. К сожалению, стоимость датчика давления 100 выше, чем требуется, поскольку датчик 100 потребляет больше кремния, чем требуется площади.
Фиг. 2, Соответствующая часть датчика давления 200 , изготовленных с использованием процесса склеивания двух подложек, далее изображено. Как показано вФиг. 2, Датчик 200 включает в себя первую подложку 202 , имеющую полость, образованную в нем, и второй пластины 210 , которая представляет собой N-типа эпитаксиальные пластины. Пластина 210 обеспечивает мембрану для датчика 200 . Конструкция датчика 200 аналогична датчика 100в Фиг. 1, с исключением, что боковая стенка 205 полости соответствует мембране 210 под углом примерно 54,7 градуса. Как показано на Фиг. 2, ширина W полости составляет примерно 660 мкм, что позволяет сократить размеры датчика давления 200 по сравнению с датчиком 100 . Таким образом, датчик 200 использует меньшую площадь из кремния и, таким образом, обеспечивает более низкую стоимость. Однако, из-за угла, под которым боковины 205 полости к мембране 210 , мембрана датчика 200 является менее надежной, чем мембраны 110В от датчика 100 .
Схема формируется в мембране 110 B датчика 100 могут быть аналогичные схемы, сформированные в эпитаксиальном слое 210 датчика 200 . Как показано, имплантат 211 образованый в эпитаксиальном слое N-типа 210 вместе с множеством N-типа + слоев 213. Оксидный слой 215 формируется на эпитаксиального слоя N-типа 210 и слой нитрида 217 формируется на оксидном слое 215. Металлический слой 221 формируется на слое нитрида 217 и проходит вниз в контакт с имплантатами слоя 211 . Как показано, оксидный слой 219 образован на частях металлического слоя 221 и слой нитрида 223 формируется на оксидном слое 219 . Типичная толщина T мембраны 210 датчика 200составляет примерно 18,5 микрон.
Характеристики
Тип файла документ
Документы такого типа открываются такими программами, как Microsoft Office Word на компьютерах Windows, Apple Pages на компьютерах Mac, Open Office - бесплатная альтернатива на различных платформах, в том числе Linux. Наиболее простым и современным решением будут Google документы, так как открываются онлайн без скачивания прямо в браузере на любой платформе. Существуют российские качественные аналоги, например от Яндекса.
Будьте внимательны на мобильных устройствах, так как там используются упрощённый функционал даже в официальном приложении от Microsoft, поэтому для просмотра скачивайте PDF-версию. А если нужно редактировать файл, то используйте оригинальный файл.
Файлы такого типа обычно разбиты на страницы, а текст может быть форматированным (жирный, курсив, выбор шрифта, таблицы и т.п.), а также в него можно добавлять изображения. Формат идеально подходит для рефератов, докладов и РПЗ курсовых проектов, которые необходимо распечатать. Кстати перед печатью также сохраняйте файл в PDF, так как принтер может начудить со шрифтами.















