рпз_ескд (1053658), страница 2
Текст из файла (страница 2)
Определение толщины брони, обеспечивающей непробитие:
Так как используется динамическая защита, обеспечивающая снижение глубины пробития на 30%, то результирующая толщина броневого листа будет равна:
Так как лист №1 расположен под углом 9,80 к горизонту, то его реальная толщина по нормали будет равна:
Так как толщина листа менее 100 мм, делать его предпочтительнее гомогенным, так как изготовление комбинированной брони такой толщины крайне затруднительно.
-
Расчет броневого листа №2 (Л2). Броневой лист №2 – верхний лобовой броневой лист, приварен к бортовым броневым листам, лобовым листам №1 и №3. Броневой лист №2 представляет собой лист комбинированной брони, расположенный под углом αр=66,30.
Ожидаемая глубина пробития составляет 600 мм при стрельбе из РПГ. Требуется рассчитать толщину броневого листа, исходя из условия непробития.
Толщина брони, обеспечивающая непробитие, определяется по формуле:
Определение максимальной глубины пробития:
Определение толщины брони, обеспечивающей непробитие:
Так как лист №2 расположен под углом αр=66,30, то его реальная толщина по нормали будет равна:
Толщина листа – больше 100 мм, поэтому целесообразно использовать комбинированную броню. Толщина комбинированной брони при той же глубине пробития составляет 0,8..0,9 от толщины гомогенной стали.
Так как используется динамическая защита, обеспечивающая снижение глубины пробития на 30%, то результирующая толщина броневого листа будет равна:
-
Расчет броневого листа №3 (Л3). Броневой лист №3 – средний лобовой броневой лист, приварен к бортовым броневым листам, лобовым листам №2 и №4. Броневой лист №3 представляет собой лист комбинированной брони, расположенный под углом αр=36,40.
Ожидаемая глубина пробития составляет 600 мм при стрельбе из РПГ. Требуется рассчитать толщину броневого листа, исходя из условия непробития.
Толщина брони, обеспечивающая непробитие, определяется по формуле:
Определение толщины брони, обеспечивающей непробитие:
Так как лист №3 расположен под углом αр=36,40, то его реальная толщина по нормали будет равна:
Толщина листа – больше 100 мм, поэтому целесообразно использовать комбинированную броню. Толщина комбинированной брони при той же глубине пробития составляет 0,8..0,9 от толщины гомогенной стали.
Так как используется динамическая защита, обеспечивающая снижение глубины пробития на 30%, то результирующая толщина броневого листа будет равна:
-
Расчет броневого листа №4 (Л4). Броневой лист №4 – нижний лобовой броневой лист, приварен к бортовым броневым листам, лобовому листу №3 и днищу. Броневой лист №4 представляет собой лист комбинированной брони, расположенный под углом αр=700.
Ожидаемая глубина пробития составляет 600 мм при стрельбе из РПГ. Требуется рассчитать толщину броневого листа, исходя из условия непробития.
Толщина брони, обеспечивающая непробитие, определяется по формуле:
Так как лист №4 расположен под углом αр=700, то его реальная толщина по нормали будет равна:
Толщина листа – больше 100 мм, поэтому целесообразно использовать комбинированную броню. Толщина комбинированной брони при той же глубине пробития составляет 0,8..0,9 от толщины гомогенной стали.
Так как используется динамическая защита, обеспечивающая снижение глубины пробития на 30%, то результирующая толщина броневого листа будет равна:
3.1.2. Расчет бортовой брони
С учетом данного технического задания, особенностей компоновки и назначения машины были приняты следующие конструкторские решения при разработке бортовой броневой защиты:
-
Бортовая защита выполнена разнесенной. Это позволяет обеспечить более высокую защищенность машины, так как в этом случае забронированной оказывается также ходовая часть.
-
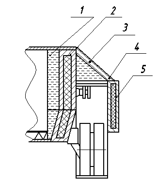
Защита представляет собой чередующиеся броневые листы и топливные баки. Такая конструкция позволяет обеспечить требуемую защищенность машины с одной стороны, и с другой стороны решает проблему размещения топлива для обеспечения требуемого запаса хода. На рис.2. показано расположение броневых листов и топливных баков. Броневые листы №5 исполняются в виде навесной защиты. Это позволяет обеспечить более низкое давление на грунт при сохранении ширины машины в пределах железнодорожного габарита 02–Т.
Рис.2. Расположение бортовой брони.
Как показано на рисунке, навесная броня по высоте не доходит до днища. Такое решение вызвано тем, что ниже экипаж защищен катками машины и противоминным бронированием днища при выстрелах в упор, а в остальных случаях – попадание в эти области маловероятно.
Расположенное на надгусеничных полках топливо обеспечивает, с одной стороны, дополнительную защиту, а с другой стороны – требуемый запас хода. Также это позволяет снизить толщину бортовых броневых листов и уменьшить массу машины.
Для снижения массы машины без уменьшения защищенности используется навесная динамическая защита. Она монтируется поверх бортовых листов №4 и №5. Навесная динамическая защита снижает глубину пробития на 30% для РПГ. Наличие топливного бака на пути снаряда снижает глубину пробития на 10%.
Таким образом, ожидаемая глубина пробития на линии движения снаряда 1-2-3-4 с учетом действия динамической защиты и топливных баков равна:
Суммарная толщина бортовых листов №2 и №4 определяется по формуле:
Так как эта толщина больше 100 мм, целесообразно использовать комбинированную броню. Толщина ее составляет 0,8..0,9 от толщины гомогенной стальной брони.
Толщина броневого листа №2 принимается равной 220 мм. При этом величина ее при измерении по нормали не меняется по всей высоте забронированного объема.
Толщина броневого листа №4 (Б4) получается равной 60 мм. Применение комбинированной брони при такой толщине листа невозможно, поэтому лист изготавливается из гомогенной стали. При этом толщина его по направлению вектора скорости подлетающего снаряда получается равной 70 мм. Так как броневой лист №4 расположен под углом 450 к направлению вектора скорости подлетающего снаряда. Поэтому его толщина по нормали равна:
Ожидаемая глубина пробития на линии следования снаряда 1-2-3-5 определяется по формуле:
Суммарная толщина бортовых листов №2 и №5 равна:
Так как эта толщина больше 100 мм, целесообразно использовать комбинированную броню. Толщина ее составляет 0,8..0,9 от толщины гомогенной стальной брони.
Толщина броневого листа №2 (Б2) принимается равной 220 мм. При этом величина ее при измерении по нормали не меняется по всей высоте забронированного объема.
Толщина броневого листа №5 (Б5) получается равной 120 мм.
3.1.3. Расчет броневой защиты башни
Требуется обеспечить защищенность экипажа в пределах безопасного угла маневрирования от РПГ с ожидаемой глубиной пробития 600 мм.
Для снижения массы машины, и вместе с тем обеспечения требуемой защищенности применяется навесная динамическая защита. Она обеспечивает снижение ожидаемой глубины пробития на 30% для РПГ.
Башня сварная, изготавливается из листов комбинированной брони одинаковой толщины, которые при сборке свариваются в единый узел. Угол наклона броневых листов составляет 450. Так как все листы одинаковы по толщине, а различаются только углами подворота, что не влияет на их толщину, расчет производится для любого одного листа.
Максимальная глубина пробития определяется как:
Определение толщины брони, обеспечивающей непробитие:
В данном случае целесообразно использование комбинированной брони. Толщина ее составляет 0,8..0,9 от толщины гомогенной стальной брони при той же величине непробития.
С учетом использования динамической защиты:
Броневой лист на башне расположен под углом 450 к горизонту. Его толщина по нормали будет равна:
3.2. Расчет массы броневых листов
Расчет массовых характеристик брони является важной частью при разработке общей компоновки машины. Он позволяет увидеть примерную массу машины, и показывает, целесообразна ли данная компоновка.
3.2.1. Расчет массы лобовой брони















