Пояснительна записка (1052673), страница 6
Текст из файла (страница 6)
Нагнетание подразделяется на:
-
первичное;
-
контрольное.
Первичное нагнетание ведётся цементно-песчаным раствором. Раствор за обделку подаётся пневматическим растворонагнетателем периодического действия с непрерывным перемешиванием материалов. Давление нагнетания 0,3 – 0, 5 (МПа).
Перед нагнетанием зазоры между оболочкой щита и обделкой, а также швы между элементами обделки тщательно заделывают уплотняющими материалами.
При нагнетании применяют передвижные тележки, оборудованные растворонагнетателем и устройствами для подъёма контейнеров с сухой смесью либо с раствором. Раствор от аппарата для нагнетания поступает по гибкому шлангу, снабжённому на конце соплом с уплотнительным кольцом.
Контрольной нагнетание цементным раствором имеет целью повысить водонепроницаемость обделки путём заполнения трещин от усадки и других причин в затвердевшем растворе первичного нагнетания, обеспечить плотное соединение обделки с окружающим грунтом, улучшающее её статическую работу.
Давление нагнетания 0,8 – 1,0 (МПа). Контрольное нагнетание производится по всему периметру кольца обделки на расстоянии 30 – 50 (м) от щита с передвижной тележки при помощи механического насоса с подачей до 1 (м3/ч).[7],[8]. Порядок последовательного первичного и контрольного нагнетания за тоннельную обделку показан на рисунке 6.3.
Рисунок 6.3 – Порядок последовательного первичного и контрольного нагнетания за тоннельную обделку. [8]
Рис.6.4. Конструкции инъекторов для нагнетания растворов за обделку[8]:
а - первичного; б - контрольного; 1 - обделка; 2 - эллипсовидная упорная металлическая пластина; 3 - труба инъектора; 4 - резиновая шайба; 5 - плита; 6 - нажимная гайка с рукоятками;7 - кран запорный; 8 - быстроразъемное соединение; 9 - рукав растворовода; 10 - скважина; 11 - затвердевший раствор; 12 - уплотнитель резиновый; 13 - манометр с предохранительной камерой.
-
Проектирование работ по гидроизоляции тоннельной обделки.
Гидроизоляция сборной тоннельной обделки состоит в герметизации швов между элементами обделки, отверстий для нагнетания.
Гидроизоляционные работы в тоннеле с чугунной тюбинговой обделкой ведут в такой последовательности:
-
чеканят швы между тюбингами;
-
изолируют отверстия для нагнетания.
Гидроизоляция швов в чугунной обделки осуществляется на расстоянии 30 – 50 (м) от щита путём заполнения чеканочных канавок гидроизоляционными материалами с последующей их чеканкой. Укладку замазки и чеканку швов ведут в два – три слоя толщиной по 2 (см) участками длиной по 3 – 4 (м). Гидроизоляционные работы ведут с чеканочной тележки.
Отверстия для нагнетания отчищают и изолируют постановкой пробки с гидроизоляционной пластмассовой шайбой.
При большом гидростатическом давлении для чеканки швов применяют свинцовую проволоку или освинцованный шнур. После чеканки шнура через 8 – 24 (ч) поверх свинца укладывают замазку из водонепроницаемого расширяющего цемента или быстротвердеющего уплотняющего состава – БУС.[9]
Гидроизоляция болтовых соединений показана на рисунке 6.5. Пробка с асбобитумной герметизирующей прокладкой в тюбинговом отверстии для нагнетания перед затяжкой показана на рисунке 6.6.
Рисунок 6.5 - Болтовое соединение с комплектом асбобитумных и металлических шайб в стыке чугунных тюбингов перед затяжкой[9]:
1 - болтовое соединение; 2 - металлическая шайба (металлическая сферическая оболочка); 3 - головка болта; 4 - армирующее кольцо из битуминированных асбестовых нитей; 5 - гайка; 6 - асбобитумная масса; 7 - свинец или алюминатное вяжущее в чеканочной канавке; 8 - ребро чугунного тюбинга.
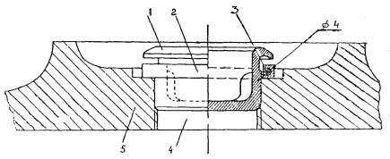
Рисунок 6.6 - Пробка с асбобитумной герметизирующей прокладкой в тюбинговом отверстии для нагнетания перед затяжкой:
1 - чугунная пробка; 2 - асбобитумная гидроизоляционная прокладка; 3 - армирующее кольцо из битуминированных асбестовых нитей; 4 - отверстие для нагнетания; 5 - чугунный тюбинг.
-
Проектирование вентиляции выработки.
Важнейшим условием безопасной и производительной работы по проходке является вентиляция, обеспечивающая нормальный состав, температуру и влажность воздуха.
Воздух подземной выработки должен содержать по объёму не менее 20% кислорода и не более 0,5% углекислого газа и иметь температуру не ниже +2 С зимой и не выше +25 С летом. Особенно необходимо учесть внимание на скопление в выработке метана, который может образовать взрывоопасную смесь с воздухом, поэтому количество метана в выработке не должно превышать 1%.
Для проветривания подземной выработки во время проходки применяются следующие схемы вентиляции:
-
нагнетательная, заключающаяся в подаче вентиляторами свежего воздуха по трубам от порталов к забою;
-
вытяжная, при которой загазованный воздух удаляется по вентиляционным трубам из призабойного пространства;
-
комбинированная, включающая в себя нагнетание свежего воздуха с одновременным удалением загазованного воздуха из забоя.
Количество воздуха, необходимое для проветривания выработки, рассчитывается по наибольшему числу людей, одновременно занятых в производстве и должно быть не менее 6 м3/мин на одного человека.[6]
Расчёт показателей проветривания ведётся по следующей схеме:
1. Определение объёма проветривания.
Для эффективного проветривания тоннельной выработки необходим объём воздуха, обеспечивающий разбавление до допустимой концентрации вредных газов.
Объём воздуха определяется по формуле[6]:
(6.9)
где
наибольшее число одновременно занятых людей, n=30;
- коэффициент запаса воздуха равный 1,2 – 1,5.
.
Требуемый напор определяется по формуле[6]:
(6.10)
где
- коэффициент трения воздуха в трубах, для трубы диаметром
, он равен 0,00020;
- длина воздуховода равная 50 (м);
- объём воздуха проходящего по воздуховоду равный, Q = 270м3/мин
- коэффициент местных сопротивлений равный 1,2;
- диаметр воздуховода равный 0,7 (м).
Мощность двигателя вентилятора определяется по формуле[6]:
(6.11)
где
коэффициент полезного действия вентилятора равный 0,5-0,6.
- требуемый объем воздуха .
По найденной мощности установок определяем тип и количество вентиляторов:
1. Тип – «ВМ–1» с максимальной мощностью на валу 3,8 (кВт).
2. Количество – 2 (шт)
Техническая характеристика вентилятора «ВМ–1» приведена в таблице 6.3.
Таблица 6.3- Техническая характеристика вентилятора «ВМ–1»
| № | Показатели | Ед. изм. | Параметры |
| 1 | Число ступеней | 1 | |
| 2 | Диаметр рабочего колеса | мм | 512 |
| 3 | Число оборотов | мин | 2800 |
| 4 | Максимальная мощность на валу | кВт | 3,8 |
| 5 | Максимальный рабочий напор установки | кПа | 1,08 |
| 6 | Производительность | м3/мин | 150 |
| 7 | Габариты установки (с двигателем и рамой)
| мм мм мм | 750 650 690 |
| 8 | Масса установки | кг | 140 |
6.5. Освещение выработки.
Производительность труда и безопасность работ во многом зависят от освещённости рабочих мест. Поэтому все подземные выработки обеспечивают стационарным электрическим освещением, не требующим усиления вентиляции и безопасным при выделении газов.
В выработке допускается применять прожекторы с матовыми стёклами, устанавливаемые так, чтобы была исключена возможность их ослепляющего действия. Наряду с прожекторами в выработке используются лампы мощностью от 40 до 150 (Вт). Они устанавливаются по обеим сторонам выработки через каждые 4 – 8 (м) на высоте 2 (м).
В условиях повышенной влажности необходимо исключить возможность поражения людей электрическим током, с этой целью напряжение в электрических линиях тоннеля не должно быть больше 42 (В), за исключением щитов, укладчиков, металлических подмостей и буровых рам, где напряжение принимают равным 12 (В).
Переносные лампы, применяемые непосредственно в забое, должны быть защищены сеткой и снабжены вилкой, исключающей возможность их включения в сеть напряжением более высокого, чем 12 (В).
На случай перерыва в подаче электроэнергии на рабочих местах должны находиться также аккумуляторные лампы.[6]
Схема организации работ по сооружению тоннеля диаметром 9,5 м механизированным щитом LOVAT показана на рисунке 6.7.
Рисунок 6.7 - Схема организации работ по сооружению тоннеля диаметром 9,5 м механизированным щитом LOVAT:
1 – ножевое кольцо; 2 – опорное кольцо; 3 – щитовой домкрат; 4 – хвостовая оболочка; 5 – шнек; 6 – тоннельная обделка из чугунных тюбингов; 7 – первичное нагнетание за обделку; 8 – привод режущей головки; 9 – тюбингоукладчик; 10 – вентиляция; 11 – грунтовый пригруз ; 12 – шарошки; 13 – система транспортеров; 14 – бункер; 15 – груженная вагонетка V=12м3; 16 – дизельный локомотива CHL-60G; 17 – контрольное нагнетание; 18 – брусья; 19 – вентиляционная труба.
-
СОСТАВЛЕНИЕ ЦИКЛОГРАММЫ НА ПРОХОДКУ УЧАСТКА ТОННЕЛЯ.
Организация работ должна проектироваться исходя из выполнения целого числа циклов в сутки или смену. Графическим документом, организующим цикличную работу, является циклограмма. Циклограмма является основой для построения графиков производства работ.
Построение циклограммы основывается на следующих принципах:
-
циклограмма составляется на основании действующих норм времени на сооружение тоннелей и метрополитенов, с учётом результатов, достигнутых передовыми строительствами исходя из объёмов работ на 1 м тоннеля.
-
циклограмма содержит последовательность и объёмы работ цикла, нормативное время, требуемое для их выполнения, и распределение членов бригады по рабочим местам в течении смены или суток.
-
циклограмма должна охватывать все основные технологические процессы проходческого цикла и обеспечивать их максимальное совмещение во времени[6].
На основании выше изложенных положений построим циклограмму для сооружения участка тоннеля со скоростью 2 м/смену.
Циклограмма приведена в таблице 7.1. Основные характеристики щита приведены в таблице 7.3. График производства работ – в таблице 7.2.
Таблица 7.1. Циклограмма на проходку и сооружение железнодорожного тоннеля со скоростью 2 м/смену.
















