Полянский А.Р. - Изучение конструкций газотурбинных двигателей (1051630)
Текст из файла
МОСКОВСКИЙ ГОСУДАРСТВЕННЫЙ ТЕХНИЧЕСКИЙ УНИВЕРСИТЕТ
имени Н.Э.Баумана
Факультет «Энергомашиностроение»
Кафедра «Ракетные двигатели»
«ИЗУЧЕНИЕ КОНСТРУКЦИЙ ГАЗОТУРБИННЫХ ДВИГАТЕЛЕЙ»
Методические указания к лабораторной работе по курсу
«Энергетические машины и установки»
Полянский А.Р.
Москва
2005
1. ТИПЫ ГАЗОТУРБИННЫХ ДВИГАТЕЛЕЙ И ОБЛАСТИ ИХ ПРИМЕНЕНИЯ
Газотурбинные двигатели (ГТД) начали применяться в авиации в конце Великой Отечественной войны. За сравнительно короткий срок поршневые двигатели были вытеснены из скоростной авиации и заменены газотурбинными двигателями. С тех пор ГТД нашли широкое применение в авиации (таблица 1). Причины этого заключаются в том, что ГТД во многих отношениях оказались более совершенными, чем поршневые. В ГТД можно было получить весьма большую силу тяги при малой массе, при этом поперечные габаритные размеры, отнесенные к силе тяги, оказались во много раз меньшими, чем у лучших поршневых двигателей. Установка газотурбинных двигателей на самолете позволила резко повысить скорость полета. Уже первые самолеты с ГТД имели скорость около 960 км/час, в то время как максимальная скорость самолетов с поршневыми двигателями не превышала 760 км/час.
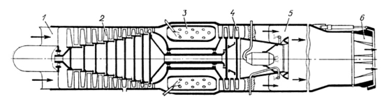
| Рис. 1. Схема турбореактивного двигателя с осевым компрессором и форсажной камерой: 1 – входная часть; 2 – осевой компрессор; 3 – камера сгорания; 4 – турбина; 5 – форсажная камера; 6 – реактивное сопло |
В ходе развития появились различные типы ГТД, которые по своим показателям достигли большого совершенства. ГТД можно разделить на две группы: турбореактивные (ТРД) и турбовинтовые (ТВД). Промежуточное положение занимают турбореактивные двухконтурные двигатели (ТРДД).
ТРД (рис. 1 и 2) имеют широкое распространение в силовых установках летательных аппаратов и позволяют получать большую скороподъемность и скорость полета, значительно превосходящую скорость звука. Они надежны в работе и имеют большой ресурс.
ТРД применяются также на некоторых беспилотных самолетах-снарядах. В этом случае требование надежности сохраняется, но ресурс работы их составляет лишь несколько часов, а конструкция двигателя в ряде случаев существенно упрощается.
| Рис. 2. Схема турбореактивного двигателя с центробежным компрессором: 1 – входное устройство; 2 – центробежный компрессор; 3 – камера сгорания; 4 – турбина; 5 – реактивное сопло |
Для транспортных самолетов с малыми дозвуковыми скоростями ТРД не применяются вследствие их низкой экономичности на этих скоростях.
ТВД (рис. 3) применяются на транспортных и бомбардировочных самолетах и на вертолетах. При дозвуковых скоростях полета ТВД вследствие применения воздушного винта в качестве движителя имеют более высокий тяговый КПД, чем ТРД, что приводит к снижению расхода топлива, а следовательно, и к увеличению дальности полета самолета.
Двухконтурные двигатели (ТРДД) с передним и задним расположением вентилятора применяются в качестве силовых установок на самолетах. Для сверхзвуковых самолетов применяются двигатели со степенью двухконтурности (отношение массовых расходов воздуха, проходящих по наружному и внутреннему контурам), равной 2, а для дозвуковых самолетов в зависимости от их назначения — со степенью двухконтурности от 3 до 8.
ГТД применяются в силовой установке самолетов вертикального взлета и посадки. Для этого могут применяться подъемно-тяговые, поворотные тяговые и подъемные двигатели. Подъемно-тяговые двигатели имеют одно или несколько (2…4) поворотных сопловых устройств, позволяющих получить тягу как в вертикальном (для взлета и посадки), так и в горизонтальном (для горизонтального полета) направлениях. Разновидностью подъемно-тяговых двигателей могут быть поворотные тяговые двигатели, укрепленные на концах крыльев. Подъемные ТРД развивают тягу только в вертикальном направлении и после взлета самолета (через 1 - 5 мин) выключаются. При этом тяговые двигатели постепенно увеличивают обороты и увеличивают скорость горизонтального полета самолета.
| Рис. 3. Схема турбовинтового двигателя: 1 – воздушный винт; 2 – редуктор числа оборотов; 3 – компрессор; 4 – камера сгорания; 5 – турбина; 6 – реактивное сопло |
В ТРД и ТВД в настоящее время применяются почти исключительно осевые компрессоры вследствие того, что они позволяют получить большую степень повышения давления, имеют высокий КПД, малую массу и малые поперечные габариты. Компрессор, камера сгорания, турбина и реактивное сопло в ГТД располагаются так, чтобы получить прямоточный тракт, при котором имеют место малые гидравлические потери. Двигатели с «петлевым» трактом (рис. 4) в настоящее время не применяются (петлевой тракт применяется только в ТВД малой мощности и в турбостартерах).
Камеры сгорания в настоящее время применяются в основном двух типов: кольцевые и трубчато-кольцевые, так как их стенки могут быть включены в силовой корпус двигателя, что снижает его массу.
Число ступеней определяется величиной срабатываемого перепада, поэтому в ТРД применяются от одной до трех, а в ТВД - от трех до пяти ступеней. Для форсирования ТРД широко применяют форсажные камеры, располагаемые за турбиной. Дополнительная тяга при этом получается за счет введения в форсажную камеру добавочного топлива и повышения в связи с этим температуры и скорости газа, выходящего из реактивного сопла. При этом появляется необходимость в регулируемых реактивных соплах.
|
|
| Рис. 4. Схема ТРД с петлевым движением воздуха и индивидуальными камерами сгорания, расположенными вокруг компрессора |
В некоторых самолетных установках для снижения лобового сопротивления двигатели устанавливают внутри крыльев самолета, а передача к винтам осуществляется с помощью выносного редуктора.
ГТД нашли также широкое применение в мобильных и стационарных энергетических установках.
2. КОНСТРУКЦИОННЫЕ ОСОБЕННОСТИ АВИАЦИОННЫХ ГТД
2.1. Двигатель ТРД Р15Б-300
Двигателями Р15Б-300 (генеральный конструктор С.К. Туманский) с 1965 по 1986 г. комплектовались самолеты МиГ-25, на которых поставлено более 20 мировых рекордов скорости, высоты и грузоподъемности.
Двигатель Р15Б-300 (рис. 5, 6) рассчитан на условия полета со сверхзвуковой скоростью (до М ~ 3) на высотах более 18 км. В соответствии с назначением двигатель имеет относительно низкую степень повышения давления и систему форсирования тяги путем дожигания топлива в форсажной камере за турбиной. Размеры двигателя: длина без реактивного сопла 4097 мм; диаметр по корпусу турбины (максимальный диаметр двигателя со снятым реактивным соплом, диаметр которого несколько больше) 1355 мм. Ресурс двигателя до первого ремонта 500 ч.
Приведем параметры двигателя на основных режимах работы. Все параметры приведены к стандартным условиям (15°С, 760 мм рт. ст.) и даны без учета влияния гидравлического сопротивления воздухозаборника и отбора воздуха на самолетные нужды.
Режим I форсажа (в стендовых условиях): сила тяги 11200 даН (даН = 10 Н); частота вращения 6580 мин-1 (что составляет 94% от максимальной частоты вращения); расход воздуха при входе в компрессор 144,0 кг/с; удельный расход топлива не более 2,70 кг/(даН∙ч); степень повышения давления pк* = 4,75; допустимое время непрерывной работы двигателя на земле без обдува форсажной камеры 20 с, в полете 15 мин.
Этот режим используется в полете со скоростями, соответствующими М≤ 1,5. При больших числах М применяется режим II форсажа.
Режим максимальный (в стендовых условиях): сила тяги 7500 даН; частота вращения 6580 мин-1; расход воздуха 144,0 кг/с; удельный расход топлива не более 1,25 кг/(даН∙ч); степень повышения давления pк* = 4,65; допустимое время непрерывной работы двигателя на земле 20 с, в полете - не ограничено. Этот режим используется в полете со скоростями, соответствующими М ≤ 1,5. При числах М > 1,5 применяется бесфорсажный режим.
Режим малого газа: сила тяги не более 370 даН; частота вращения 2800 мин-1; расход топлива не более 2000 кг/ч; допустимое время непрерывной работы двигателя на земле 10 мин, в полете - не ограничено.
Режим II форсажа (при высоте полета 20 км, скорости полета 2500 км/ч и с учетом коэффициента полного давления воздухозаборника (sвх = 0,795): сила тяги 4900 даН; удельный расход топлива 2,4 кг/(даН∙ч); допустимое время непрерывной работы двигателя в полете 15 мин.
Режим минимального II форсажа: сила тяги 3750 даН; удельный расход топлива 2,0 кг/(даН∙ч); допустимое время непрерывной работы двигателя в полете - не ограничено.
Режим II форсажа применяется только в полете при М> 1,5.
Время перехода (приемистости) двигателя с режима малого газа на режим с частотой вращения на 2 % ниже частоты вращения на максимальном режиме на земле составляет 10- 13 с, в полете -12- 15 с; время перехода с установившегося максимального режима на режим форсажа не более 6 с.
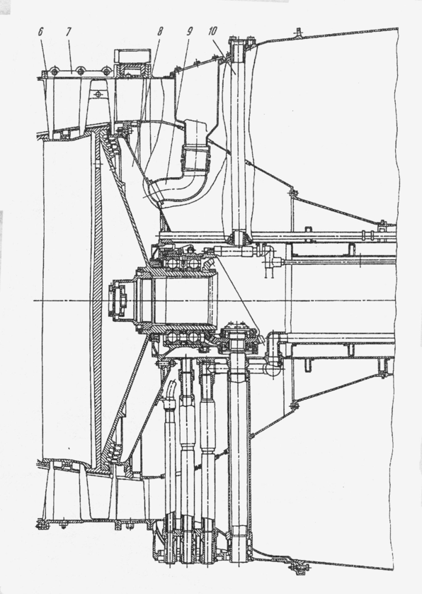
| Рис. 5а. Продольный разрез компрессора ТРД Р15Б-300: 1 - обтекатель входного направляющего аппарата; 2 - входной направляющий аппарат; 3 – 5 – корпуса первой - третьей ступеней; 11 – лента перепуска воздуха |
| Рис. 5б. Продольный разрез компрессора ТРД Р15Б-300: 6 – корпус четвертой ступени; 7 – фланец корпуса четвертой ступени; 8 – разгрузочная полость компрессора; 9 – патрубок стравливания; 10 – труба суфлирования |
| Рис. 6. Продольный разрез турбины ТРД Р15В-300: 1 - вал турбины; 2 - форсунка; 3 - корпус задней опоры; 4 - роликовый подшипник; 5,7 - кольцо лабиринтное; 6 - корпус лабиринтов; 8 - дефлектор сопловой лопатки; 9 - втулка распорная; 10 - жаровая труба; 11 - корпус камеры сгорания; 12- корпус соплового аппарата; 13- лопатка соплового аппарата; 14 - втулка бандажа; 15 - лопатка турбины; 16 - диск турбины; 17 - дефлектор; 18 - штифт; 19- втулка вала; 20 - кольцо уплотнительное; 21 - труба слива масла; 22 - болт балансировочный |
Компрессор двигателя (рис. 5) осевой пятиступенчатый, скорость воздуха перед рабочими лопатками во всех ступенях околозвуковая. Уменьшение проходных сечений проточной части выполнено путем постепенного увеличения диаметра дисков ротора при постоянном диаметре корпуса компрессора. Ротор компрессора барабанно-дисковой конструкции; четыре ряда лопаток размещены на барабане ротора, а передний ряд (первой ступени) - на отдельном диске. Ротор опирается на две опоры: переднюю - радиальную с одним роликоподшипником и среднюю - радиально-осевую, в которую входят два шарикоподшипника. Диски ротора, участки барабана между дисками, передняя и задняя цапфы напрессовываются с натягом. Кроме того, для обеспечения надежности при работе эти детали скреплены между собой штифтами, запрессованными в радиальные отверстия.
Для охлаждения диска пятой ступени и задней цапфы внутрь ротора подводится воздух, отбираемый из проточной части отверстия в барабане диска третьей ступени. Охлаждающий воздух через отверстия в дисках и задней цапфе вытекает в полость компрессора, служащую для разгрузки опор от осевых усилий.
На барабанах дисков второй и третьей ступеней выполнены лабиринтные уплотнения гребешкового типа.
Передняя и задняя цапфы ротора состоят из ступицы, конической диафрагмы с фланцем по наружному диаметру и гребешков лабиринта воздушного уплотнения. Внутри ступицы задней цапфы выполнены шлицы и закреплена муфта для передачи крутящего момента от ротора турбины к ротору компрессора и их осевой фиксации. Сама муфта фиксируется гайкой. На ступицах цапф устанавливаются подшипники, кольцедержатели уплотнительных колец масляного уплотнения, гайки для затяжки всего пакета деталей на цапфах. На ступице задней цапфы на двух шпонках расположена коническая шестерня центрального привода агрегатов.
Для предотвращения возникновения резонансных напряжений число лопаток на рабочем колесе каждой ступени выбрано не кратным числу лопаток на предыдущем и последующем спрямляющих аппаратах. Например:
| Номер ступени | 1 | 2 | 3 | 4 | 5 |
| Число лопаток на роторе | 26 | 41 | 46 | 61 | 67 |
| Число лопаток на статоре | 44 | 80 | 90 | 74 | 60 |
Число лопаток на статоре входного направляющего аппарата равно 30.
Характеристики
Тип файла документ
Документы такого типа открываются такими программами, как Microsoft Office Word на компьютерах Windows, Apple Pages на компьютерах Mac, Open Office - бесплатная альтернатива на различных платформах, в том числе Linux. Наиболее простым и современным решением будут Google документы, так как открываются онлайн без скачивания прямо в браузере на любой платформе. Существуют российские качественные аналоги, например от Яндекса.
Будьте внимательны на мобильных устройствах, так как там используются упрощённый функционал даже в официальном приложении от Microsoft, поэтому для просмотра скачивайте PDF-версию. А если нужно редактировать файл, то используйте оригинальный файл.
Файлы такого типа обычно разбиты на страницы, а текст может быть форматированным (жирный, курсив, выбор шрифта, таблицы и т.п.), а также в него можно добавлять изображения. Формат идеально подходит для рефератов, докладов и РПЗ курсовых проектов, которые необходимо распечатать. Кстати перед печатью также сохраняйте файл в PDF, так как принтер может начудить со шрифтами.
















