Карпухин В.А. - Биотехнические основы проектирования усилителей электрофизиологических сигналов (1050185), страница 2
Текст из файла (страница 2)
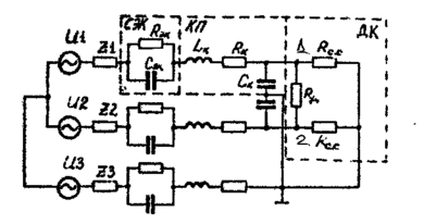
Рис. 4. Схема замещения БТС УЭК
Система «электрод — кожа»
Система «электрод — кожа» в простейшем случае может быть представлена параллельно соединенными резистором и конденсатором (см. рис. 4.). Емкость Сэк возникает в результате поляризации электрода на границе раздела сред и зависит от площади электрода, материала электрода, а также от электродной пасты. Значение Сэк в зависимости от перечисленных факторов колеблется в диапазоне 0,05 ... 1,0 мкФ. Сопротивление электрод — кожа Rэк зависит от состояния кожных покровов, применяемой электродной пасты и материала электрода. Значение Rэк обычно лежит в диапазоне 100...1000 Ом.
Входная цепь
Входная цепь включает соединительный кабель и входное сопротивление первого каскада биоусилителя. Кабель пациента, как правило, выполнен в виде двойного экранированного провода либо двух коаксиальных экранированных проводов длиной от 1,5 м (для измерительной аппаратуры) до 10 м (для мониторных систем). В качестве первого каскада биоусилителя для биполярной системы отведения используются дифференциальные усилители различной сложности, выполненные на транзисторах или операционных усилителях.
Эквивалентная схема кабеля пациента (КП) и представляет собой соединение R-, L-, С-элементов (см. рис. 4). Активное сопротивление Rк зависит от материала провода, его длины и диаметра и может быть вычислено по формуле:
где lк - длина кабеля пациента; Sк — сечение провода кабеля пациента; ρ – удельное сопротивление на единицу длины ( для меди 0,000175 Ом *м );
Индуктивность кабеля Lк зависит от конструктивных особенностей и может быть найдена по следующим формулам:
-
для коаксиального кабеля
где b - диаметр экрана; а — диаметр провода; μо=4π*10-7 Гн/м — начальная магнитная проницаемость;
-
для двухпроводной линии
где d - расстояние между двумя проводниками кабеля.
Емкость кабеля пациента является распределенной, но в первом приближении может бить представлена в виде сосредоточенного элемента Ск, значение которого для коаксиального кабеля может быть получено из соотношения:
где ε0=8,85*10-12 Ф/м - абсолютная диэлектрическая проницаемость; ε = 2…5 — относительная диэлектрическая проницаемость.
Входная цепь дифференциального каскада (ДК) включает в себя дифференциальное Rд и синфазное Rс.с. сопротивления (см.рис. 4). Значения Rд и Rс.с. зависят от конкретной схемы биоусилителя.
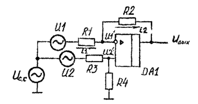
Математическая модель биоусилителя.
Во многих практических случаях при исследовании биоэлектрической активности организма (например, ЭКГ) используются операционные усилители в дифференциальном включении. Однако в таком включении схема имеет недостаточное входное сопротивление, что не позволяет ее использовать в качестве входного каскада. Для увеличения входного сопротивления усилителя обычно применяют повторители напряжения, выполненные на ОУ. Достоинством повторителя напряжения на OУ помимо высокого входного сопротивления, достигающего 10…100 МОм, является малое выходное сопротивление (0,1 ...1 мОм). Малое выходное сопротивление позволяет представить повторитель в виде генератора напряжения, значение которого зависит от приложенного ко входу напряжения источника сигнала.
На рис.5 изображена схема биоусилителя, где повторители напряжения представлны в виде генераторов дифференциального U1 и синфазного Uс.с.напряжений, количественные значения которых могут
быть получены при анализе БТС УЭК.
Рис. 5. Упрощённая принципиальная схема биоусилителя.
Оценка влияния усилителя на качество прохождения сигнала по измерительному тракту может быть получена на математической модели со следующими допущениями.
-
Коэффициент передачи разомкнутого ОУ равен
где A0 — коэффициент передачи ОУ на постоянном токе; ωс — частота среза АЧХ ОУ; р — комплексная частота.
-
Коэффициент передачи синфазного сигнала ОУ равен Ас.с.
-
Все остальные характеристики соответствуют идеальному ОУ.
Напряжение на выходе ОУ может быть найдено из соотношения:
Напряжение U2 находят из выражения:
Так как i1 = i2, можно записать:
Подставим U2' к U1' в выражение (1):
Из этого выражения найдем значение
Введя обозначения:
Кд.— коэффициент передачи дифференциального сигнала;
Кс.д.— коэффициент преобразования синфазного сигнала в дифференциальный;
Кс.с.— коэффициент передачи синфазного сигнала,
найдём для случая U1 = -U2 = - Uд/2
Коэффициент ослабления синфазного сигнала
Подставляя значения К1 и К2, получим:
Таким образом, получены основные характеристики усилителя, позволяющие произвести количественную оценку влияния синфазной помехи на исследуемый сигнал.
Лабораторная работа №1
Цель работы — теоретическое изучение влияния помех и методов борьбы с ними при измерении биоэлектрических сигналов.
Порядок выполнение работы.
-
Оцените влияние синфазной помехи на дифференциальный сигнал в БТС УЭК.
Для исследования БТС УЭК необходимо:
-
разработать математическую модель в соответствии с рис.3 и
найти напряжение на входе усилителя для дифференциального и синфазного сигналов; -
рассчитать элементы эквивалентной схемы кабеля пациента;
-
исследовать на модели влияние мультипликативных помех, вы
званных:
изменением элементов эквивалентной схемы биологических тканей на ±5% ; ±10% ; ±20% ;
изменением импеданса электрод — кожа на ±5% ; ±10% ; ±20%;
изменением параметров соединительного кабеля на ±5%; ±10%; ±20%;
для следующих комбинаций входного дифференциального Rвх.д и синфазного Rвx.c.c сопротивлений:
Rвх.д, Мом Rвх.с.с, МОм
0,3 30 ±0,05
3,0 300 ± 0,5
30,0 3000 ± 5
-
поcтроить зависимости Кд, Кс.д, Кс.с. от частоты;
-
оценить влияние синфазной помехи на прохождение ЭКГ сигнала по тракту БТС. Для этого необходимо:
считать файл ECG1.PRN, соответствующий одному периоду ЭКГ сигнала с числом точек, равным 256;
осуществить БПФ этого сигнала для 64 выборок;
представить синфазный сигнал в виде гармоники с номером 25;
найти Uвх.д и Uвх.с.с для каждой гармоники;
осуществить обратное БПФ;
построить на одном графике исходную и расчетную формы сигнала и сравнить их.
-
Оцените влияние характеристик биоусилителя и синфазной помехи на дифференциальный сигнал:
-
используя математическую модель биоусилителя, постройте зависимости Кд, Кс.д., Кс.с от частоты при изменении значений элементов схемы на ±0,1%, ±1%, ±10%;
-
оцените влияние синфазной помехи на ЭКГ сигнал при его прохождении через биоусилитель. Для этого, используя результаты, полученные по пп. 1д и 2а, найдите напряжение на выходе ОУ;
-
постройте на одном графике исходную форму сигнала и напряжение на выходе ОУ на одном графике.
ЛИТЕРАТУРА
-
Янушкевичус З.И„ Черейкин Л.В., Пранявичус А.А. Дополнительно усиленная электрокардиограмма. Л.: Медицина, 1990. 192 с.
-
Биотехнические системы. Теория и проектирование /Под ред. В.М.Ахутина.
Л.: Изд-во Ленингр. Ун-та, 1981.,20 с.
-
Ярошенко А.А, Вопросы электрокожной коммуникации. Томск: Изд-во
Том.гос.ун-та, 1980. 145 с. -
Лощилов В.И.. Калакутский Л.И. Биотехнические системы злектронейростимуляции. Основы теория и проектирования. М.: Изд-во МГТУ, 1991. 169 с
















