Н.П. Алешин, А.Л. Ремизов, А.А. Дерябин - лекции по ККСС (1050136), страница 12
Текст из файла (страница 12)
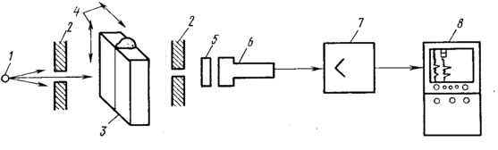
Рис. 7.12. Схема радиометрического метода контроля:1 – источник излучения, 2 – коллиматоры, 3 – контролируемый объект, 4 – направления перемещения, 5 – сцинтилляционный кристалл, 6 – фотоэлектронный умножитель, 7 – усилитель, 8– регистрирующий прибор
Узкий (коллимированный) пучок ионизирующего излучения (рис.2.12) перемещается по контролируемому объекту, последовательно просвечивая все его участки. Излучение, прошедшее через объект, регистрируется счетчиком, на выходе которого образуется электрический сигнал с величиной, пропорциональной интенсивности поступающего излучения. Электрический сигнал, прошедший усилитель, регистрируется устройством, которым может быть самописец, осциллограф, миллиамперметр и т.д. При наличии дефекта в шве регистрируется увеличение интенсивности.
7.5 Источники ионизирующих излучений
Рис. 7.13. Классификация источников ионизирующих излучений
Согласно классификационной схеме (рис.7.13) тормозное излучение получают на R-аппаратах, в ускорителях электронов и от β-источников с мишенью.
Рентгеновские аппараты. Рентгеновская установка состоит из рентгеновского излучателя, источника высокого напряжения и пульта управления (рис. 7.14). Высоковольтный генератор преобразует напряжение сети в высоковольтное напряжение для питания постоянного тока рентгеновской трубки. Высоковольтный генератор включает: преобразователи переменного тока в постоянный (диоды кенотронов), конденсаторы для фильтрации и удваивания напряжения, трансформаторы накала рентгеновской трубки, трансформаторы накала кенотронов, выключатели и защитные устройства.
Рис.7.14 Структурная схема рентгеновской установки.
Пульт управления представляет собой группу приборов, которые служат для измерения и регулирования времени, тока, напряжения и частоты.
Особый класс составляют импульсные рентгеновские трубки (рис.7.15).
Рис.7.15. Схема импульсной рентгеновской трубки: 1 – баллон, 2 – анод, 3 – игольчатые катоды, 4 – катодный держатель.
Свободные электроны в них получают в результате автоэлектронной эмиссии при создании у катода трубки электрического поля напряженностью выше 108 В/м. Импульсные трубки называют трубками с «холодным катодом» (в отличие от трубок с «горячим катодом», в которых для получения свободных электронов используют термоэлектронную эмиссию.
Радиоактивные источники.
Рис. 7.16. Конструкция радиоактивных дефектоскопических источников на резьбе и сварного:
1 – наружная ампула, 2,5 – крышки, 3 – активная часть, 4 – внутренняя ампула, 6 - баллон
Радиоактивные источники γ-излучения представляют собой ампулы, заполненные γ-активным нуклидом. Ампулы могут быть заваренными, завальцованными на резьбе. В промышленности наиболее широко применяют гамма-аппараты в источники 75Se, 192Jr, 137Cs, 60Со.
ЛЕКЦИЯ №8. РАДИАЦИОННЫЕ МЕТОДЫ НЕРАЗРУШАЮЩЕГО КОНТРОЛЯ
ТЕХНОЛОГИЯ РАДИОГРАФИЧЕСКОГО КОНТРОЛЯ
8.1 Основные параметры
Относительная чувствительность
(%) определяется отношением размера
минимально выявляемого дефекта или элемента эталона чувствительности к толщине контролируемого изделия δ. Зависимость относительной чувствительности радиографии от основных параметров просвечивания определяется уровнем
где
-минимальная разность плотностей почернения различаемая глазом; В - дозовый фактор накопления;
- контрастность радиографической пленки; μ – линейный коэффициент ослабления.
На практике значение
≈ 0,006÷0,01.
Помимо указанных факторов чувствительность радиографического контроля зависит также от формы и места расположения дефекта, величины фокусного расстояния, фокусного пятна трубки, типа рентгеновской пленки.
Ввиду сложности процессов ослабления энергии рентгеновского и γ-излучений при прохождении их через контролируемый металл и многообразия перечисленных факторов учесть одновременное воздействие их на чувствительность метода не представляется возможным. Целесообразно рассмотреть эти факторы в отдельности, оценивая влияние каждого из них на чувствительность метода к выявлению дефектов.
Энергия излучения. Из формулы для расчета абсолютной чувствительности видно, что чем больше коэффициент линейного ослабления (
), тем меньше размер дефекта, который удается обнаружить. В свою очередь, коэффициент
зависит от энергии излучения источника. Влияние энергии рентгеновского и гамма-излучения на чувствительность контроля показана на рис. 2.17. Как видно из графиков, чувствительность контроля стали одинаковой толщины тем выше, чем меньше энергия излучения.
Рис. 8.1. Зависимость чувствительности радиографического контроля
от энергии излучения:
а – рентгеновского аппарата РУП-150-10, б – изотопов
Рассеянное излучение в зависимости от энергии первичного излучения изменяет качество снимка, снижает контрастность и четкость изображения, а следовательно, и чувствительность самого метода, при отсутствии рассеяния дефект на пленке будет изображаться с четкими границами (рис.8.1).
Рис.8.2. Влияние рассеянного излучения
на контрастность изображения при просвечивании:
а – при параллельном нерассеянном пучке излучения, б – ухудшение контрастности от рассеянного излучения при просвечивании изделий
большой толщины, в – улучшение контрастности при просвечивании изделий малой толщины тем же пучком излучения
Рассеяние излучения всегда сильнее в толстостенных материалах (рис.8.2б), чем в тонкостенных, поэтому чувствительность метода значительно ухудшается с увеличением толщины просвечиваемого материала. Совершенно избавиться от рассеивания излучения нельзя. Уменьшить его можно применением специальных фильтров, представляющих собой тонкий слой оловянной (0,025 мм) или свинцовой (0,075-0,15 мм) фольги, расположенной либо между источником и контролируемым объектом, либо между пленкой и объектом.
Толщина материала. Чувствительность более сложным образом зависит от толщины контролируемого материала (рис.8.3). Вначале чувствительность возрастает вследствие того, что с увеличением толщины материала убывает эффективный коэффициент ослабления. Мягкие составляющие излучения ослабляются сильнее, чем жесткие, и в последующие слои попадает излучение, уже частично отфильтрованное в предыдущих слоях. По мере прохождения через вещество излучения становится все более жестким и при этом одновременно замедляется убывание коэффициента эффективного ослабления – он приближается к постоянному значению. Для сравнительно больших толщин подъем кривой (ухудшение чувствительности) объясняется эффектом рассеяния. В конечном итоге ухудшение чувствительности из-за наличия рассеянного излучения определяет предел применяемости всего метода просвечивания материалов до определенной толщины (100-150 мм).
Рис. 8.3. Зависимость чувствительности радиографического контроля
от толщины контролируемого соединения.
Форма дефектов и их ориентация в шве. Дефекты (непровары), имеющие прямолинейные грани, ориентированы параллельно направлению распространения излучения, выявляются значительно лучше из-за большой резкости изображения их границ (рис.8.4,а), чем дефекты цилиндрической (шлаковые включения) или шаровой (поры) или другой формы (рис.8.4,б,в).
Рис. 8.4. Влияние формы дефекта на контрастность его изображения:
а – прямоугольный, б –шаровой, в – трапецеидальный
Наилучшая выявляемость наблюдается при прохождении излучения вдоль дефектов, т.е. когда угол α (рис.8.5) равен 0. При ориентации дефекта под некоторым углом к направлению излучения выявляемость ухудшается; в этом случае пучок излучения будет проходить не всю высоту (ΔS), а только определенную часть ее. Чувствительность просвечивания при этом будет определяться шириной раскрытия дефекта (Δ). В практике очень часто встречаются дефекты, у которых ширина раскрытия (Δ) незначительна при достаточно большой высоте (ΔS).
Рис. 8.5. Выявляемость трещины в зависимости
от ориентации ее к направлению излучения
Фокусное расстояние. Увеличение величины фокусного расстояния (рис.8.6) аналогично энергии ослабления излучения делает его боле мягким, вследствие чего улучшается чувствительность контроля. Следует заметить, что фокусное расстояние (F) связано с временем просвечивания (t) следующим соотношением: t / t0 = ( F/F0 )2, где t – время просвечивания при выбранном фокусном расстоянии, см; t0 – время просвечивания при фокусном расстоянии F0, см, взятом по номограмме. Из соотношения видно, что при увеличении фокусного расстояния резко возрастает время просвечивания.
Чем меньше размер фокуса, тем более четкий рельеф изображения дефекта на снимке, тем меньше область полутени, тем выше чувствительность контроля (рис. 8.7).
Рис. 8.6. Влияние размера фокуса (d) на чувствительность контроля
Рис. 8.7. Чувствительность при просвечивании стали -излучением
на различных фокусных расстояниях
Усиливающие экраны. Из рис. 8.8 видно, что применение металлических экранов обеспечивает некоторое повышение чувствительности, обусловленное уменьшением воздействия вторичного излучения, источником которого является сам контролируемый материал. Рассеянное вторичное излучение уменьшает резкость и контрастность изображения объекта. Рассеянное излучение от тяжелых элементов, подобно свинцу, сравнительно невелико, они выполняют роль своеобразного фильтра, особенно для первичного излучения низких энергий.
Рис. 8.8. Влияние усиливающих экранов на чувствительность радиографического метода при просвечивании стали -излучением 154Eu:
1 – флуороскопические экраны, 2 – без экранов,
3 – металлические экраны (свинец 0,1 мм)
Металлические экраны рекомендуется использовать с безэкранными радиографическими пленками РТ-1, РТ-3, РТ-4М, РТ-5. При их применении практически не ухудшается разрешающая способность изображения на пленках.
Для каждого источника ионизирующего излучения материал экрана следует выбирать в зависимости от энергии излучения, в частности для рентгеновского излучения целесообразно использовать медь, титан, олово, свинец, вольфрам, для γ-излучения - вольфрам, свинец, медь. Практика показывает, что наибольшую эффективность обеспечивают металлические экраны из медной и титановой фольги. В этом случае получается гораздо лучшая контрастность снимков. Толщина фольги должна быть равна максимальной длине пробе га вторичных электронов в экране. На практике толщина экрана (фольги) 0,05 ...0,5 мм. Фольга наносится на гибкую пластмассовую подложку.
Усиливающее действие флуоресцентных экранов определяется действием фотонов видимой, сине-фиолетовой, ультрафиолетовой и инфракрасной областей спектра, высвечиваемых из люминофоров при прохождении через них ионизирующего излучения. В качестве люминофоров используют ZnS, CdS, BaS04, PbSO4, CaWO4 и др.
Флуоресцентные экраны изготовляют в виде пластмассовых или картонных подложек, на которые наносят слой люминофора. Эти экраны рекомендуется использовать с экранными радиографическими пленками, поскольку спектральная чувствительность эмульсии пленки и спектр свечения экранов хорошо согласуются. При применении флуоресцентных экранов разрешающая способность изображения на пленках существенно ухудшается из-за крупнозернистости экранов.
С помощью флуоресцентных экранов получают меньшие экспозиции (рис. 8.9), а при использовании металлических экранов (рис. 8.10) - лучшую чувствительность.
Рис. 8.9. Зависимость экспозиции от толщины стали для различных экранов и источников излучения
Рис. 8.10. Зависимость относительной чувствительности рентгенографии от толщины стали для различных экранов.















