Rtk47_52 (1043239), страница 2
Текст из файла (страница 2)
Рабочие поверхности захватов не должны изменять геометрическую форму и качество поверхности деталей при их захватывании.
Работа вакуумного захвата основана на том, что воздух, подаваемый под давлением через эжектор, создает вакуум в объеме, образованном камерой эластичной присоски и плоскостью заготовки. Присоски крепятся с помощью винта и гайки, что позволяет с наименьшими затратами времени их заменить. Такое конструктивное исполнение дает широкую возможность выбора присосок различных диаметров в зависимости от геометрических параметров заготовок.
Механические захваты клещевого типа обычно снабжаются сменными губками, конструкция которых зависит от формы исходных заготовок и получаемых деталей.
Существующая в настоящее время тенденция к дальнейшему повышению уровня механизации и автоматизации листоштамповочного производства позволяет сформулировать дополнительные требования к технологическому оборудованию:
-
возможность автоматической перепрограммируемой смены штампов;
-
автоматизация сбора и удаления отходов из зоны обработки;
-
наличие устройства программируемого изменения хода ползуна;
-
наличие автоматизированной системы контроля целостности штамповочной оснастки.
Робототехнические комплексы холодной листовой штамповки условно можно разделить на три группы:
-
роботизированная позиция — РТК, состоящий из одной единицы основного технологического оборудования, обслуживаемого роботами;
-
роботизированный участок — РТК, состоящий из одного робота и обслуживаемых им двух, трех единиц основного технологического оборудования (двух-трех-операционная обработка);
-
роботизированная линия, состоящая из нескольких РТК, соединенных передающими устройствами (многооперационная штамповка).
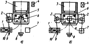
Простейшая структура роботизированной позиции приведена на рис. 29, а. В такой компоновке применяются роботы с автоматическим удалением отштампованной детали в тару. Такой РТК обладает наибольшей производительностью, так
Рис. 29. Структура роботизированных позиций:
а—с одним промышленным роботом, б—с двумя промышленными роботами; 1 — подающее устройство, 2 — промышленный робот, 3 — пресс, 4 — пульт управления, 5 - система сдува; 6 — штамп, 7 — тара. 8 — система управления роботом, 9 — датчик контроля. 10 — захват
как после установки детали в штамп робот сразу же продолжает перемещение за последующей заготовкой, причем траектория перемещения руки робота может не содержать движения "рука вперед" и "рука назад". Кроме того, такая компоновка удобна для оператора при замене штамповой оснастки и отладке робототехнического комплекса.
Роботизированная позиция оснащается двумя роботами, если роботом удаляют деталь. Такая позиция обладает тем преимуществом, что значительно облегчает доступ наладчика в зону штамповки, а это сокращает время на переналадку штамповой оснастки и всего комплекса.
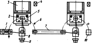
Рис. 30. Структура роботизированной линии с двумя промышленными роботами:
1 — подающее устройство, 2 — захват, 3 — пресс, 4 ~ пульт управления прессом, 5 — штамп, 6 - датчики контроля, 7 — передающее устройство, 8 — промышленный робот, 9 — система управления РТК, 10 — тара
Возможна такая компоновка роботизированной позиции с применением двух роботов с одной рукой (рис. 29, б), которой присущи достоинства и недостатки РТК, описанных выше.
Роботизированная линия двухоперационной штамповки с применением роботов сверхлегкого типа приведена на рис. 30. При необходимости эта линия может быть дополнена до трех и более роботизированных позиций.
Современные промышленные роботы в холодноштамповочном производстве могут действовать только в хорошо организованной среде.
Наряду с технологическими мероприятиями роль организатора среды в значительной степени выполняют вспомогательные устройства, служащие для подачи заготовок под робот в ориентированном виде и последующей их передачи без потери ориентации, смазывания заготовок перед штамповкой, удаления отходов, контроля протекания производственного процесса и других операций.
Каждый робототехнический комплекс представляет собой совокупность универсальных автоматических устройств, соединенных между собой электрическими связями и образующих единый механизированный комплекс, который позволяет обрабатывать двух-операционные детали, а также путем наращивания соответствующих составляющих устройств — многооперационные детали. Его можно трансформировать и на две самостоятельные позиции (без дополнительных устройств) для обработки однооперационных деталей.
Обслуживание горячештамповочных процессов
Внедрение роботов на большинстве операций, связанных с горячей, формовкой металлов, было обусловлено в первую очередь безопасностью обслуживания и контролем качества.
Так, например, условия работы в кузнечно-прессовых цехах считаются самыми тяжелыми для рабочих. Надо вынимать из горячих печей тяжелые поковки, устанавливать их в штампы быстродействующих прессов, а зачастую и менять их положение внутри пресса и укладывать готовую продукцию. Это тяжелые и опасные операции.
Именно в этой области задолго до программируемых управляемых роботов стали применять телеоператоры, что позволило избавить человека от непосредственного контакта с горячештамповочными прессами, однако при этом уменьшились гибкость и чувствительность управления. Чтобы в полной мере использовать возможности промышленных роботов, рекомендуется внести ряд дополнительных изменений в типовой процесс горячей штамповки.
Существующие роботы лишены органов чувств и не могут заглянуть в горячую печь и опознать детали, случайным образом распределенные в ее рабочем пространстве. Система технического зрения или другая сенсорная система для решения этой задачи должна будет надежно работать в условиях повышенных температур, масляного тумана и масляных паров. Наиболее тривиальным подходом в этом случае является использование нидукционных печей вместо печей отражательного типа, куда детали подаются на конвейере, нагреваются по отдельности и затем в ориентированном виде снимаются роботом.
Аналогичным образом в некоторой модернизации нуждаются и ковочные штампы.
Для процессов горячей штамповки характерно, что после удара пуансона заготовка может остаться на верхней или нижней поверхности штампа. Человек-оператор в данный конкретный момент может увидеть, где находится деталь, вынуть ее и провести соответствующие манипуляции. Без зрительных возможностей робот не может сделать это, и даже при наличии современных систем технического зрения скорость координации между зрением и действием руки робота относительно мала. Наилучшее решение в данном случае состоит в разработке такой конструкции ковочных штампов, когда деталь всегда будет иметь одну и ту же известную ориентацию.
Кроме того, в процессе выполнения операции штамповки форма самой детали изменяется. Чтобы справиться с этой проблемой, робот должен быть оснащен более гибкими или регулируемыми захватными устройствами.
В массовом производстве для автоматизации горячей штамповки используются специализированные горячештамповочные автоматы или горячештамповочные прессы, оснащенные грейферными перекладчиками.
В серийном переналаживаемом производстве промышленные роботы являются наиболее прогрессивным видом технологического оборудования для автоматизации горячештамповочных технологических процессов.
Основным видом роботизированного кузнечно-прессового оборудования в настоящее время являются кривошипные горячештамповочные прессы, где на основе промышленных роботов автоматизируются все вспомогательные операции:
-
загрузка нагревательных устройств,
-
транспортирование нагретой заготовки в зону формообразования,
-
передача поковки из ручья в ручей,
-
транспортирование и укладка в обрезной пресс,
-
складирование поковки и отходов.
В процессе горячей штамповки, ковки и т.д. нашли применение промышленные роботы с четырьмя — шестью степенями подвижности и относительно большой памятью устройств программного управления, причем для роботов, работающих в массовом и крупносерийном производстве, достаточно четырех степеней подвижности за счет применения спецоснастки и других приспособлений.
Преобладающей тенденцией в отечественном роботостроении является стремление создать специализированные роботы, основные конструктивные особенности и технические характеристики которых сводятся к повышению быстродействия, теплозащитным конструкциям рук и захватов.
При этом учитываются следующие факторы, специфические для процесса горячей штамповки:
-
резкое изменение конфигурации и габаритов поковок;
-
- контроль положения поковок в штампе;
-
смазка гравюр штампов;
-
контроль температуры поковок;
-
синхронизация работы технологического оборудования (нагревательные устройства, штамповочные и обрезные прессы, передающие устройства и т.д.).
РОБОТОТЕХНИЧЕСКИЕ КОМПЛЕКСЫ
ЛИТЕЙНОГО ПРОИЗВОДСТВА И ГАЛЬВАНОПОКРЫТИЙ
Робототехнические комплексы литейного производства
В мировой и отечественной практике автоматизация литейных производств с применением робототехники, кроме процессов литья под давлением, находится в начальной стадии развития.
Основное направление в области робототехники для литейного производства — это создание ПР модульной конструкции, имеющих достаточное число степеней подвижности, невысокую стоимость, надежных при эксплуатации, снабженных развитой контрольно-измерительной системой, устройствами восприятия и переработки информации на базе микропроцессоров и ЭВМ, а также создание гибких предметно-специализированных робототехнических литейных комплексов из оборудования с ЧПУ и промышленных роботов.
В настоящее время целесообразно роботизировать в литейном производстве различных отраслей промышленности следующие производственные операции:
-
плавку (разделка и загрузка шихты; футеровка печей и ковшей);
-
заливку форм (установка грузов и съем их с форм, заливка форм с различным расположением литниковых чаш, передача залитых форм на охлаждающий конвейер);
-
приготовление формовочных и стержневых смесей; изготовление форм (установка стержней в формы, опрыскивание подмодельных плит и обдувка форм, окрашивание форм);
-
изготовление стержней (установка каркасов в ящики, обдувка стержней и стержневых ящиков, окрашивание стержней, подача стержней из машины на транспортные устройства, обслуживание машин для изготовления стержней методом холодного отверждения);
-
выбивку форм (съем отливок с решетки и навешивание на транспортное устройство);
-
очистку отливок;
-
обрубку и зачистку отливок;
-
термообработку, контроль и последующую обработку отливок;
-
погрузочно-разгрузочные операции, грунтовку и окрашивание отливок.
Особое место по интенсивности использования робототехники занимает процесс литья под давлением.
Литье по выплавляемым моделям, базирующееся на старинном процессе растапливания воска, открыло интересную область применения для промышленных роботов.
Вкратце этот процесс можно описать следующим образом. Сначала изготовляется твердая восковая модель, затем эта модель покрывается термостойким керамическим материалом, после этого воск выплавляется, оставляя полую форму, которая затем используется для изготовления деталей газовых турбин или реактивных двигателей из весьма дорогих (трудно обрабатываемых) сверхпрочных сплавов. Использование воска для изготовления модели позволяет повторить форму изделия.
Интересно, что этот метод литья был известен еще в Древнем Египте. На практике исходные восковые формы изготовляются по мастер-формам и затем соединяются вместе, такую сборку называют "деревом". Раньше человек-оператор собирал это дерево из форм и после погружения его в раствор — суспензию из глинистых частиц — начинал вращать. При многократном окунаний в раствор формируется оболочка формы с достаточно толстыми стенками, которая подвергается затем обжигу при температуре свыше 1000°С для создания огнеупорного слоя, а масса формовочного дерева все время увеличивается. В связи с этим количество литейных форм, помещаемых на одном таком дереве, ограничивается. Полученные формы часто различаются по толщине стенок, как на разных формовочных деревьях, так и в пределах одного дерева, так как человек-оператор не может точно повторить свои действия при выполнении нанесения покрытия. После выплавления воска и заливки металла окончательные размеры детали получаются отличными друг от друга, что зависит от усадки в форме. Эти недостатки устраняются (как и при сварочных операциях) при применении роботов с большой грузоподъемностью и хорошей повторяемостью, не оснащенных сенсорными системами.
В настоящее время на многих зарубежных фирмах и отечественных предприятиях создан и эксплуатируется ряд различных робототехнических литейных комплексов.
На операции очистка отливок применяется РТК с системой плазменной дуговой резки, с промышленным роботом с сенсорной информационной системой. Серийный датчик близости с использованием оптических волокон установлен рядом с плазменной дуговой горелкой. В процессе работы манипулятор перемещает горелку и сенсорное устройство по программной траектории вдоль очищаемой поверхности детали. При обнаружении заусенцев в контроллер робота поступает от сенсорного устройства сигнал, позволяющий вывести плазменную дуговую горелку к основанию заусенца для его удаления.
Для обдирочных работ применяются промышленные роботы, где рабочим инструментом являются сменные шлифовальные головки, вставляемые в кисть робота.
















