реферат (1041048), страница 2
Текст из файла (страница 2)
Монокристаллические слитки кремния, полученные и очищенные методами Чохральского или зонной плавки, являются основными заготовками для получения кремниевых пластин. Предварительно слиткам придается надлежащая форма (рисунок 6): с обоих концов отрезаются хвостовики (1), проводится калибровка по диаметру (2), формирование базового среза (3).
Рисунок 6 – Этапы формования слитка
Отрезка хвостовиков выполняется на том же оборудовании, что и последующая резка слитков на пластины. Калибровка или круглая шлифовка слитка по диаметру необходима для выравнивания его поверхности и получения впоследствии пластин равного диаметра. Ведется на шлифовальных станках чашечными алмазными кругами. Предварительно к торцам слитка наклеечной мастикой приклеиваются центры. При шлифовании слиток охлаждается водой. Формирование базовых срезов выполняется чашечными алмазными кругами того же типа, что и для калибровки слитков. Последующее разделение слитка на пластины и их механическую обработку можно считать первыми операциями из технологического процесса производства микрострук- тур. Именно на этих операциях обеспечивается достижение комплекса физических, электрических, геометрических параметров, обеспечивающих кремниевой пластине свойства технологической подложки. Особенности механической обработки кремниевых пластин определяются высокой твердостью и хрупкостью кремния. Поэтому обработка ведется с использованием абразивов - как в связанном состоянии (алмазные диски и шлифовальники), так и в свободном (абразивные суспензии и алмазные пасты). Отметим также, что монокристаллический кремний весьма дорог и его потери при формообразовании пластин снижают эффективность всего производства микроструктур. При абразивной обработке кремния происходит нарушение совершенства кристаллической решетки приповерхностного слоя кремниевой пластины - на ее поверхности возникает механически нарушенный слой.
Свободный абразив подается в зону обработки в виде жидких абразивных суспензий - абразивный порошок находится в жидкости во взвешенном состоянии и равномерно распределен в ней. Жидкость переносит новую порцию абразивных зерен, поступающих из дозатора, и выносит из зоны обработки разрушенные частицы обрабатываемого материала, уменьшает перегрев обрабатываемых поверхностей. При использовании в качестве жидкости щелочных или кислотных растворов при абразивной обработке обеспечивается химическое воздействие на обрабатываемый кремний. Кроме того, жидкость проникает в микротрещины на поверхности кремния и спо- собствует откалыванию от его поверхности отдельных частиц за счет расклинивающего действия сил поверхностного натяжения.
Жидкость при обработке связанным абразивом используется лишь для охлаждения режущего инструмента и обрабатываемого материала. При определенном сочетании скорости резания и усилия подачи абразива возмож- но формирование продуктов резания кремния не в виде микроосколков, а в виде пластич- ной стружки.
Типовой технологический процесс изготовления пластин, отвечающих сформу- лированным в предыдущих разделах требованиям, включает следующие операции:
резка слитков на пластины,
снятие фасок,
шлифовка и полировка,
химико-механическая полировка рабочей стороны,
финишная очистка.
Учитывая высокую твердость кремния, его резка сопряжена с высокими нагрузками и температурой в зоне обработки. Именно на этом этапе формируется максимальный по глубине нарушенный слой, последующие процессы шлифовки и полировки приводят к уменьшению глубины залегания этого слоя.
Наиболее широко применяется резка слитков дисками с внутренней режущей кромкой и проволокой. Резка дисками – традиционный метод разделения слитков на пластины для микроэлектронного производства. Инструментом для резки здесь является тонкий круглый диск из холоднокатаной стальной ленты, в центре которого выполнено отверстие с диаметром, соответствующим диаметру разрезаемого слитка. На края отверстия нанесено алмазное покрытие, формирующее режущую кромку диска.
Резка проволокой начиная с 1980-х годов все более широко применяется для резки слитков на пластины. В этом методе используется проволока из нержавеющей стали диаметром 110…140 мкм и длиной до 100 км, которая перематывается со скоростью 10…20 м/с с подающей катушки на приемную. Современные установки для резки проволокой позволяют обрабатывать одновременно несколько слитков, как круглого так и прямоугольного сечения. Шаг сеточного полотна определяет толщину отрезаемой пластины, диаметр проволоки – ширину реза. Абразивные частицы вдавливаются проволокой в зону реза, перекатываются и перемещаются вдоль нее. В зоне контакта формируются микротрещины и отделяются микровыколки кремния. Происходит, по сути локальное вышлифовывание кремния свободным.
Помимо карбида кремния в качестве абразива может использоваться также алмазный порошок. Оба материала весьма дороги, их стоимость составляет 25…35% от общей стоимости операции резки слитка. Объемное содержание SiC в суспензии - от 20 до 60%. Основная задача суспензии – перемещать частицы абразива в зону резания, а также предотвращать их агломерацию
Рисунок 7 – а) Резка слитка проволокой; б) Резка диском
Метод резки проволокой по большинству параметров существенно превосходит метод резки дисками. Дальнейшим развитием метода является применение проволоки с нанесенным на нее абразивом. Основным преимуществом здесь является резкое, в 3…5 раз, повышение скорости резания. Кроме того, повышается чистота и экологичность процесса за счет устранения жидкой суспензии.
Шлифовка пластин является обязательной технологической операцией после резки слитков, поскольку она способствует уменьшению нарушенного слоя, неплоскостности , изгиба пластин и их разброса по толщине. По технологическим признакам шлифовку подразделяют на предварительную и окончательную, по конструктивным признакам — на одностороннюю и двустороннюю, по виду используемого материала — на шлифовку свободным и связанным абразивом. В современной технологии применяют методы обработки пластин, объединяющие все эти признаки. Так, предварительная шлифовка для быстрого выравнивания плоскостей пластин – это обычно последовательная односторонняя шлифовка связанным абразивом (grinding). Окончательная шлифовка, одно- или двухсторонняя, выполняется с применением свободного абразива (lapping).Завершается процесс полировкой пластин (polishing) – это, как правило, односторонняя обработка свободным абразивом.
Шлифовка связанным абразивом выполняется на станках с эксцентрично рас- положенными осями вращения шлифовальника и обрабатываемых пластин. Главной осо- бенностью этого процесса является конструкция шлифовального круга, который пред- ставляет собой металлический диск с закрепленными на его поверхности абразивными вставками. Обрабатываемые пластины закрепляются на подложкодержателе, который в про- цессе шлифовки вращается вокруг своей оси. Шпиндель шлифовального круга, вращаясь с частотой 15000— 18 000 об/мин, приходит в контакт с поверхностью пластин. Алмазные зерна шлифовальника, ударяясь с высокой скоростью о пластины, снимают с поверхности кремния микростружку. Обработанная этим способом пластина имеет специфический ри- сунок поверхности, который представляет собой сетку из множества рисок. В процессе шлифовки связанным абразивом выделяется много теплоты, поэтому для охлаждения шлифовальника и обрабатываемых пластин в зону обработки подают охлаждающую жидкость.
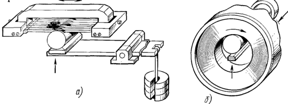
Шлифовку свободным абразивом выполняют на станках односторонней и дву- сторонней обработки пластин с использованием абразивных суспензий и паст. В процессе обработки абразивная суспензия создает тонкую прослойку между шлифовальником и об- рабатываемой пластиной, в которой абразивные зерна свободно перекатываются, находясь в свободном состоянии. При двусторонней шлифовке обрабатываемые пластины располагаются в гнездах сепараторов и размещаются между двумя шлифовальниками. (Рисунок 8).
Рисунок 8 – Шлифование свободным абразивом
Шлифование свободным абразивом Пластины, загруженные в гнезда сепаратора, совершают сложное движение, которое складывается из вращения шлифовального круга, вращения сепаратора и вращения самой пластины внутри гнезда сепаратора. Такое движение дает возможность снимать слой материала равномерно со всей поверхности пластины с высокой точностью. Абразивная суспензия подается через верхний шлифовальник и равномерно обволакивает полупроводниковую пластину со всех сторон. При работе станка абразивные зерна перекатываются по верхней и нижней поверхностям пластины, создавая определенное давление, которое приводит к выкалыванию микрочастиц кремния.
Полировка полупроводниковых пластин. Схема процесса полировки аналогична шлифовке свободным абразивом. Однако при этом используют полировальники в виде жестких дисков, обтянутых мягким мате- риалом: фланелью, замшей, батистом, фетром, велюром, сукном, шелком и др. В качестве абразива используют микропорошки с зернистостью не выше 3 мкм из синтетического алмаза, оксида алюминия, оксида хрома, диоксида кремния или диоксида циркония. Предварительно алмазный порошок зернистостью 3 мкм втирают в приготовленный батистовый полировальник. На приготовленный таким образом полировальник помещают рабочие головки с наклеенными на них пластинами. Частота вращения полировальника не должна превышать 30—40 об/мин для исключения перегрева пластин. Далее процесс повторяется с новым покрытием полировальника и применением алмазного порошка зернистостью 1 мкм. На заключительном этапе окончательной тонкой полировки снова меняется полировальник, а в качестве абразивного материала используется, например, оксид хрома с величиной зерна менее 1 мкм. Обычно применяют оксид хрома двух сортов: грубый с размером зерна 0,6—0,8 мкм и тонкий с размером зерна 0,2—0,4 мкм. Наиболее производительным является процесс полировки с использованием на последнем этапе в качестве абразивного материала диоксидов кремния или циркония. Обычно используют диоксид кремния с размером зерна не более 0,1 мкм. Постепенное уменьшение размеров абразивного материала позволяет свести к минимуму толщину нарушенного слоя.
Химико-механическая полировка (Chemical-mechanical polishing- CMP) – это процесс окончательной планаризации поверхности пластин и полного удаления нарушен- ного слоя с использованием как механического воздействия абразива, так и химического воздействия применяемых реактивов. Химикаты реагируют с кремнием, разрыхляют его и способствуют удалению абразивными частицами с минимальными усилиями. Химико-механическая полировка пластин. Полировальная суспензия (смесь частиц SiO2 размером около 100 Ǻ и реактива- окислителя NaOH) подается на вращающийся плоский стол, покрытый полировальным материалом. Подложка закрепляется в металлическом держателе шпинделя через промежуточную прокладку. Стол и шпиндель вращаются, при этом шпиндель совершает еще и осциллирующие движения. Полировальник выполняется из пористого полимерного материала с размерами пор в диапазон 30…50 мкм. Периодически полировальник подвергается правке с помощью правильного круга. Под действием теплоты от трения пластины о полировальник поверхность пластины окисляется (химический этап процесса), а затем частицы оксида кремния счищают окисленный кремний с поверхности пластины (механический этап). Процесс проводится в две стадии. Сначала используется суспензия высокой концентрации, процесс длится около 30 мин со скоростью удаления кремния 1 мкм/ мин. Вторая стадия проводится с очень разбавленной суспензией, более мягким полировальником в течение 5…10 мин для удаления всего 1 мкм с поверхности пластины. С учетом активной химической реакции между кремнием и химикатом суспензии, немедленно после завершения процесса пластины должны промываться в деионизованной воде. Это поможет предотвратить появления матовых и оксидных пятен. Скорость и качество химико-механической полировки зависит от многих факторов. В их числе усилие прижима пластины к полировальнику, температура в зоне обработки, скорость вращения стола, pH суспензии и ряд других, которые должны экспериментально подбираться для заданных условий обработки. Заметим, что химико-механическая полировка не влияет на плоскостность пластины и предназначена для удаления остатков нарушенного слоя. Финишная очистка. Изготовленные на предыдущих операциях пластины отвечают всем требованиям спецификации и могут использоваться для создания микроструктур. Однако для запуска их в технологический процесс, предусматривающий нанесение фоторезиста, выполнение высокотемпературных операций (оксидирования, диффузии и др.) пластины должны быть тщательно очищены от всех видов загрязнений. В случае значительных загрязнений органическими веществами или металлами кремниевую подложку следует многоступенчато очистить кислотой Каро и затем под- вергнуть очистке смесями RCA (Radio Corporation of America). Кислота Каро названа так в честь получившего ее немецкого химика Генриха Каро(Caro), RCA процесс - по имени фирмы, на которой он был разработан. Обработка кислотой Каро проводят при температуре 130 0С в течение 10-15 минут. Эта стадия часто носит название Пиранья-травление из-за способности кислоты Каро "прожорливо" удалять органические примеси. Кислота Каро представляет собой смесь 25%-ой перекиси водорода (H2O2) и 98%-ой серной кислоты (H2SO4) в соотношении 1:2. При воздействии серной кислоты органические примеси восстанавливаются до углерода. Углерод взаимодействует с кислородом, образующимся при диссоциации переки- си водорода. В результате выделяется окись углерода СО2, вязкость раствора в травиль- ном резервуаре увеличивается. При травлении кислотой Каро нарастает окись кремния (SiO2) вглубь кремния (ес- тественный окисел). Этот окисел следует удалить в разбавленном растворе HF (1-5%) в течение нескольких минут. Смесь Каро удаляет органические слои, но не удаляет металлы. По этой причине пластину следует обработать в смеси RCA-1 при температуре 70-75 0C в течение 10 минут. Смесь RCA-1 представляет собой раствор, состоящий из 25%-ой H2O2, 25%-ой NH4OH и H2O в соотношении 1:1:5. При обработке смесью RCA-1 вновь нарастает окисел кремния толщиной примерно 10-15 ангстрем. Образовавшийся окисел кремния следует удалить разбавленным HF. Следующая стадия обработка пластины смесью RCA-2 при температуре 80 0С в те- чение 10 минут. Смесь RCA-2 представляет собой раствор, состоящий из 30%-ой HCI, 25%-ой H2O2 и H2O в соотношении 1:1:8 Последняя стадия удаление появившегося окисла кремния (SiO2) погружением в разбавленный раствор HF. Следует отметить, что после каждой стадии очистки необходимо осуществлять тщательную отмывку пластин деионизованной водой
Источники информации
-
Ю.Б.Цветков. Процессы и оборудование микротехнологии. Курс лекций.
-
Ю.В. Панфилов, В.Т. Рябов, Ю.Б. Цветков. Оборудование производства интегральных микросхем и промышленные роботы.
-
REC Silicon fluidized bed reactor (FBR) process. URL: http://www.recsilicon.com/technology/rec-silicons-fluidized-bed-reactor-process/
-
Helmut Föll. Semiconductor technology. Lecture course. URL: http://www.tf.uni-kiel.de/matwis/amat/semitech_en/
















