Лаба 3 - Расчет параметров стадий процесса прессования и их экспериментальная проверка (1022724), страница 2
Текст из файла (страница 2)
ρнас =
; Ууд =
, [2, стр. 20]
где m1 – масса измерительного цилиндра, кг; m2 – суммарная масса пробы и измерительного цилиндра, кг.
За окончательный результат принимаем среднеарифметическое значение из результатов трех измерений.
2. По чертежу пресс-формы “Б” изображенному в ГОСТ 15882-84 рассчитываем объем изделия и находим массу навески.
Массу навески (m) в граммах для испытаний вычисляем по формуле:
m =ρ*Vф, где
ρ- плотность фенопласта новолачного типа марки О3-010-02, г/см3,
ρ=1,4 г/см3
Vф- объем формы на изделие (образец), см3.
Vф=πh*(r2нар-r2внут)+ (2/3)π*(r3нар-r3внут), где
rнар – наружный радиус изделия, мм
rвнут – внутренний радиус изделия, мм
h – высота цилиндрической части изделия, мм
3.Установливаем пуансон в держатель, а матрицу в обойму. Тип матрицы и пуансона выбирается по указанию преподавателя. Нажатием кнопки “Пуансон” опускаем его в матрицу. Нагреваем прибор до заданной температуры (контроль по показаниям прибора на измерительной панели).
4.Нажатием кнопки “Пуансон - вверх” переводим шток вместе с пуансоном в крайнее верхнее положение.
5.Быстро помещаем в нагретую матрицу навеску испытуемого материала.
6.Нажимаем кнопку “Пуансон – вниз”, что приводит к смыканию формы.
7.Для проведения оценки кинетики отверждения:
7.1. В момент замыкания формы, когда зазор между матрицей и пуансоном будет 2-3 мм, необходимо нажать кнопку “Ротор вкл”, при этом автоматически включается потенциометр КСПП-4 и идет запись изменения крутящего момента во времени.
7.2. При достижении пером самописца крайнего правого положения для возвращения его к левому краю диаграммы нажимаем кнопку “Ротор откл”.
7.3. Нажимаем кнопку “Пуансон – вверх ”. Шток перемещается вместе с пуансоном в крайнее верхнее положение.
7.4. Поворотом ручки затвора освобождаем пуансон и очищаем его от остатков материала латунным ножом.
7.5. Нажимаем кнопку “Пуансон – вниз”, соединяем затвор с формой и нажатием кнопки “Пуансон – вверх”, поднимаем форму вверх, освобождаем форму из затвора, производим чистку рабочей полости формы на столе.
7.6. Для подготовки к проведению следующего опыта помещаем в обойму матрицу с пуансоном и нагреваем до заданной температуры. Количество параллельных опытов – 3.
7.7. Обрабатываем результаты опыта, регистрируемые в координатах “крутящий момент – время” .
Для определения времени вязкопластичного состояния и времени отверждения необходимо провести пересчет значений Мкр (Н*м), полученных на диаграмме, в значения напряжения сдвига (МПа) и с учетом скорости перемещения диаграммы (V) определить длительность процесса.
Напряжение сдвига (σ,МПа), рассчитывается на стадии пластично - вязкого состояния по формуле:
σ = М●L [МПа], где: М – крутящий момент, значение которого рассчитывается по диаграмме, исходя из диапазона, соответствующего положению пе-реключателя “крутящий момент”, Нм,
L - постоянная установки, числовое значение которой для формы Б равно 3,9 ●105м–3
Напряжение сдвига (σ,МПа), рассчитывается на стадии отверждения по формуле:
σ = М● С [МПа], где М – крутящий момент, значение которого, рассчитывается по диаграмме, исходя из диапазона, соответствующего положению переключателя “крутящий момент”, Нм; С – постоянная, числовое значение которой составляет для форм Б 15,4●105 м–3
7.7.1. Время (t), прошедшее с начала записи диаграммы процесса отверждения, находим по формуле:
t = a/V [c], (20)
где а - длина участка вдоль диаграммы от ее начала, мм;
V – скорость перемещения диаграммы, мм/с.
При переводе результатов из координат “Мкр – время” в координаты “напряжение - время” необходимо на каждом участке диаграммы пересчитать Мкр для 3 - 5 точек, включая точки перегиба кривой.
7.7.2. По графику “напряжение сдвига - время” определяем продолжительность вязкопластичного состояния и время отверждения материала. График и полученные результаты вносим в лабораторный журнал.
7.8. Повторяем опыт по пп. 5.1 - 5.7 для других температур(180 оC и 190оC), записываем в журнал условия проведения опыта.
8. Для оценки структурно-механических свойств пресс-материала (испытания по методу Б)
8.1. Выполняем пп. 1 – 4.
8.2. После смыкания формы выдерживаем в ней материал в течение заданного времени (по указанию преподавателя). Время выдержки фиксируем по секундомеру. За 1 – 2 сек до окончания времени выдержки включаем перемещение диаграммной бумаги. После окончания выдержки включаем ротор нажатием кнопки “Ротор вкл”. Рекомендуемые времена выдержки: 0, 1, 4, 10 мин.
8.3. Записываем диаграмму “Мкр – время” до выхода зависимости на прямую, параллельную оси времени.
8.4. Переводим полученные данные в координаты “напряжение – относительная деформация”; расчет относительной деформации по формуле : ε = t
,
где
– скорость сдвига образца, с1; t – время деформирования, с.
Расчет времени проводим по п.5.7.3.
8.5. По углу наклона начального участка кривых “напряжение сдвига – относительная деформация” определяем модуль упругости образца отвержденного материала. График “напряжение сдвига – относительная деформация” и полученные результаты расчетов заносим в лабораторный журнал.
8.6. По указанию преподавателя повторяем п. 6.1 - 6.5 для других времен выдержки, температур отверждения или другого материала. Строим зависимости модуля упругости при сдвиге, разрушающего напряжения от времени выдержки.
3.ЭКСПЕРИМЕНТАЛЬНАЯ ЧАСТЬ
3.1.РЕЗУЛЬТАТЫ РАСЧЕТОВ И ОБСУЖДЕНИЕ РЕЗУЛЬТАТОВ
3.1.1.Массу навески (m) в граммах для испытаний вычисляют по формуле:
m =ρ*Vф, где
ρ- плотность фенопласта новолачного типа марки О3-010-02, г/см3, Vф- объем формы на изделие (образец), см3.
Объем формы рассчитываю по чертежу пресс-формы “Б” представленному в ГОСТ 15882-84
Vф=πh*(r2нар-r2внут)+ (2/3)π*(r3нар-r3внут), где
rнар =10 – наружный радиус изделия, мм
rвнут =7 – внутренний радиус изделия, мм
h = 31 – высота цилиндрической части изделия, мм
Vф=3,14*31*(102-72)+(2/3)*3,14*(103-73)=6339,66 мм3= 6,34 см3
m=1,4*6,34=8,87 г
3.1.2.Определение насыпной плотности пресс-порошка и расчет навески для формования образцов в пресс-форме “Б” прибора Р-1.
Насыпная плотность порошков характеризует массу свободно насыпанного порошка в единице объема и зависит, главным образом, от материала, формы и размера частиц, состояния поверхности.
Насыпную плотность материала ρнас (в кг/ м3) и удельный объем Vуд (в м3/ кг) рассчитываем по формулам:
ρнас=
; Vуд =
,
где m1 – масса измерительного цилиндра, кг; m2 – суммарная масса пробы и измерительного цилиндра, кг.
m1=0,390 кг = 390 г
m2=0,45 кг = 450 г
ρнас=
=
=600 кг/ м3= 0,6 г/ см3
Vуд =
=
=0,01667 м3/кг
3.1.3 Полученные кривые “Мкр – время” пересчитываю в координаты “Напряжение сдвига – время” Максимальный крутящий момент для всех температур равен 42,63 Н*м
Рисунок 1 - Кинетическая кривая отверждения фенопласта новолачного типа 03-010-02 при Т = 170 ºС при времени выдержки τвыд = 0 мин
По рисунку 1 определили τвпл. = 41 с., τотв = 80 с.
3.1.4.Определение температуры прессования: Тпресс. = Тст - (lnτв.-пл.сост. - lnτ0)/γ1
[2, стр.187]
где Тст - температура испытаний материала на пластометре, К
τв.пл сост.– продолжительность вязко-пластичного состояния, с;
τо– время отверждения по пластометру, с;
Тст = 170 ºС (443К) [2, стр 186], τ0 = 65 с [2, стр 188], γ1 = 0,030 /ºС [2, стр 188]
τв.пл сост=31 с. [2, стр 188]
Тпресс = 443 - ( ln31- ln65)/0,03 = 468 К (195˚С)
Рисунок 2 - Кинетическая кривая отверждения фенопласта новолачного типа 03-010-02 при Т = 190 ºС при времени выдержки τвыд = 0 мин
По рисунку 2 определили τвпл. = 22 с., τотв = 34 с.
По рисункам 1 и 2 можно сказать, что с увеличением температуры формы уменьшаются время вязко-пластичного состояния и время отверждения, т.к с увеличением температуры скорость реакции поликонденсации увеличивается
3.1.5. Расчет времени τв.-пл.сост в зависимости от температуры прессования.
Т. : 170 ºС, 180 ºС, 190 ºС.
А = 1,77*10-7 [2, стр.187], U = 69,5 кДж/моль [2, стр.187]
τв.-пл.сост = А*exp(U/RT) [2, стр.185]
где τв.-пл.сост – продолжительность вязко-пластичного состояния, с;
А – коэффициент, зависящий от типа связующего и рецептуры композиции;
U – кажущаяся (эффективная) энергия активации процесса поли-конденсации, кДж/Моль;
R = 8,31 – универсальная газовая постоянная, кДж/кМоль·град
Т – температура, К
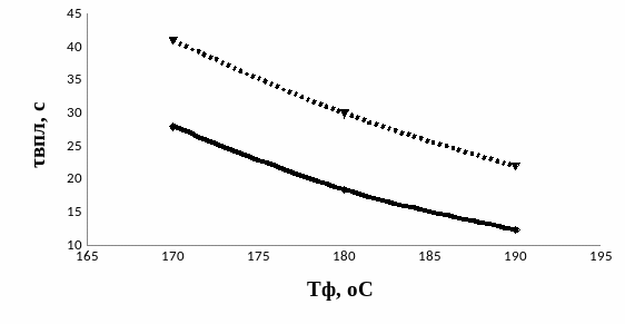
при Т = 170 ºС (443 К), τв.-пл.сост = 1,77*10-7*exp(69,5/8,31*443) = 28,0 с
при Т = 180 ºС (453 К), τв.-пл.сост = 1,77*10-7*exp(69,5/8,31*453) = 18,45 с
при Т = 190 ºС (463К), τв.-пл.сост = 1,77*10-7*exp(69,5/8,31*463) = 12,38 с
Рисунок 3 – Расчетная и экспериментальная зависимости “Время вязко-пластичного состояния -температура формы”
По рисунку 3 видно, что при увеличении температуры формы, значение времени вязко-пластичного состояния уменьшается. Также видно, что экспериментальные данные отличаются от расчетных потому что, при расчете используются общие коэффициенты для всех фенопластов:
А –( коэффициент, зависящий от типа связующего и рецептуры композиции);
U – (кажущаяся (эффективная) энергия активации процесса поли-конденсации, кДж/Моль);
3.1.6.Расчет времени отверждения в зависимости от температуры прессования.
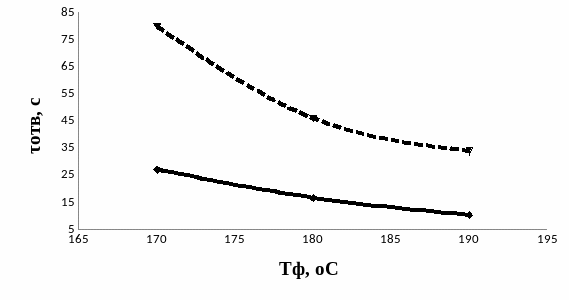
τотв. = ν*τпл exp[α(Tст – Тф)] + (B/kc)exp[γ(Tст – Тф)],
где α и ν – температурные коэффициенты; γ – коэффициент, учитывающий влияние температуры на время отверждения; τпл – продолжительность вязкопластического состояния при температуре стандартных испытаний Тст ; В – коэффициент, зависящий от заданной степени отверждения, 1/ºС.; kc-константа скорости отверждения, с-1; Tф – температура стенки формы , К.
Для фенопластов v = 0,85 [1, стр 282];
τпл = 30 с [1, стр 282];
α = 0,050 1/ºС [1, стр 282];
kc = 12,5 * 103 с-1 [1, стр 282];
γ = 0,030 1/ºС [1, стр 282];
Тст = 170ºС ( для фенопластов) [1, стр 282]
В = 0,020 1/ºС [1, стр 282];
при Т = 170 ºС (443 К),
τотв. = 0,85*30*exp[0,05(170-170)]+(0,02/12,5*103)*exp[0,03*(170-170)]=27,1 c
при Т = 180 ºС (453 К),
τотв. = 0,85*30*exp[0,05(170-180)]+(0,02/16,75*103)*exp[0,03*(170-180)]=16,3 c
при Т = 190 ºС (463 К),
τотв. = 0,85*30*exp[0,05(170-190)]+(0,02/21*103)*exp[0,03*(170-190)]=9,9 c
Рисунок 4 – Расчетная зависимость “Время отверждения – температура формы”
По рисунку 4 видно, что при увеличении температуры формы, значение времени отверждения уменьшается. Также видно, что экспериментальные данные отличаются от расчетных потому что, при расчете используются общие коэффициенты для всех фенопластов.
Сравнивая рисунки 3 и 4 экспериментальные и расчетные данные времени вязко-пластичного состояния ближе, чем данные по времени отверждения, т.к. в расчете времени отверждения используется 6 общих коэффициентов, при расчете времени вязко-пластичного состояния 2 общих коэффициента.
















