Инженерная графика (1016950), страница 2
Текст из файла (страница 2)
Разрезом является изображение того, что расположено в секущей плоскости (сечения), и того, что становится видным за секущей плоскостью в результате разреза.
-
7 –
Мысленное рассечение предмета, принятое для данного изображения (разреза), не влечет за собой изменения других изображений, то есть разрезы, выполненные на различных изображениях данного предмета, друг от друга не зависят.
Р
Если при соединении половины вида и половины разреза на ось симметрии прое- цируется ребро призмы или пирамиды, то в этом случае изображается не половина, а больше или меньше половины разреза так, чтобы ребро спроецировалось видимой ли- нией. При этом границей вида и разреза является сплошная волнистая линия, рас-
положенная слева от оси, если ребро вну-
три, и справа от оси, если ребро снаружи.
азрезы располагают на местах основных видов, если от этого не страдает ясность внешней формы предмета. Фронтальный разрез располагают на месте вида спереди, горизонтальный - на месте вида сверху и профильный - на месте вида слева. В противном случае разрезы располагают на свободном поле чертежа, применяя установленные стандартом обозначения. С целью уменьшения объема графических работ и экономии площади чертежа рекомендуется соединять половину вида и половину соответствующего разреза в одном изображении, если оно проецируется в виде симметричной фигуры. При этом линией, разделяющей вид и разрез, служит в общем случае ось симметрии (тонкая штрих-пунктирная линия).
Разрез, как правило, располагают справа от вертикальной оси и вниз от горизонтальной оси симметрии.
В общем случае границы секущей плоскости обозначают толстыми штрихами с перпенди-
кулярными к ним стрелками, указывающими направление взгляда.
Около стрелок со стороны внешнего угла
наносят одну и ту же прописную букву рус-
ского алфавита (начиная с А), всегда рас-
положенную в горизонтальной строке неза-
висимо от положения секущей плоскости.
Высота букв должна быть больше высоты
размерных чисел (шрифт 7).
Над разрезом помещают надпись, состо-
ящую из букв, обозначающих секущую плос-
кость, и написанных через тире (напри-
нутренний контур предмета изображается на разрезе сплошными толстыми линиями, при этом соответствующие им штриховые линии на виде не наносят.мер, А-А ). Надпись не подчеркивают.
Если разрез расположен на месте одного из основных видов, а плоскость разреза совпадает с плоскостью симметрии предмета, секущую плоскость не обозначают и разрез не надписывают.
Штриховка фигуры сечения должна иметь наклон 45° к линиям рамки чертежа. Линии штриховки
наносят с наклоном вправо или влево, но в одну и ту же сторону на всех разрезах и сечениях, относящихся к данной фигуре на данном чертеже.
- 8 -
При выполнении разрезов необходимо применить условности, установленные стандартом.
1. Тонкие стенки типа ребер жесткости (их поперечный размер значительно меньше двух других) в продольном разрезе показывают рассеченными, но не штрихуют, отделяя от основной части предмета сплошной основной линией (это не применяется в аксонометрии!).
- 10 -
2. Допускается изображать в разрезе отверстия, расположенные на круглом фланце, когда они не попадают в секущую плоскость(отверстие «выкатывают» в плоскость разреза).
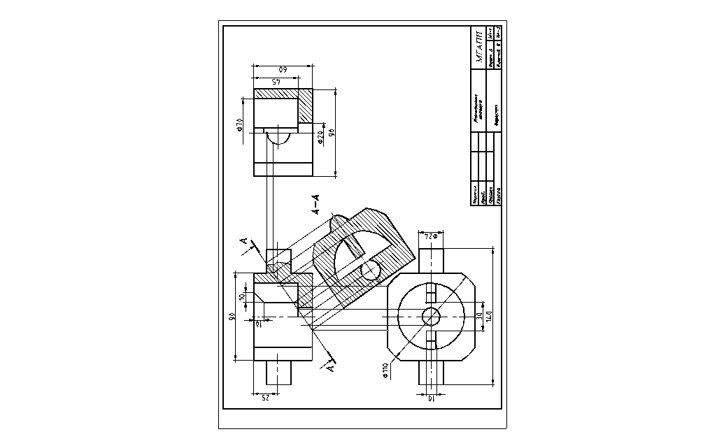
Натуральный вид наклонного сечения указанной в задании плоскостью стро-
ится проецированием на дополнительную плоскость, параллельную заданной.
Фигуру мысленно разделяют на элементарные геометрические тела и строят сечения каждого из этих тел сначала по внешнему контуру, затем – по внутреннему.
Сечение располагают в наиболее удобном месте чертежа, причем при необходимости его можно повернуть. К надписи повернутого сечения добав-
ляется знак
, представляющий собой окружность диаметром min 5 мм со стре-
лкой слева. Угол между линиями стрелки 90.
Показанная здесь картинка только иллюстрирует наклонное сечение, но не относится к листу 4, где строится аксонометрия неусеченной фигуры.
При нанесении размеров следует выполнять рекомендации, данные на стр.1.
Как правило, размеры следует наносить вне контура изображения. Размеры, относящиеся к внешним очертаниям, наносят на стороне вида, а размеры внутренних очертаний - на стороне разреза.
-9 -
- 9 -
- 9 ----
-10 -
ЛИСТ 4
Построить аксонометрию с разрезом
фигуры, заданной к листу 3.
Пример оформления листа приведен на стр. 13.
Задание выполняется на листе формата А3. Вид аксонометрического изображения (изометрия или диметрия) указан в задании листа 4.
Для упрощения аксонометрию строят по приведенным коэффициентам, т.е. в изометрии по всем осям принимают коэффициент искажения равным 1, в диметрии по осям X и Z-1, по оси Y - 0,5. При этом изображение получается увеличенным в изометрии в 1/0,82 =1,22 раза и в диметрии - в 1/0,94 = 1,06 раза.
Построение начинают с аксонометрического изображения основных осей фигуры.
В
диметрии удлиненные предметы располагают так, чтобы длинная сторона предмета была параллельна оси X или Z, т.е. без сокращения вдвое.
Следует избегать применения изометрической проекции при изображении квадрата, деталей с квадратными гранями, отверстиями и т.п., так как такое изображение не обладает наглядностью.
Проекции многоугольников в аксонометрии строят по координатам вершин.
-
11 –
Окружность в аксонометрии проецируется в эллипс. При вычерчивании эллипсов необхо- димо правильно выбрать направление их осей. Аксонометрическая ось, перпендикулярная к плоскости, в которой лежит окружность, называется свободной осью. В прямоугольных аксо- нометрических изображениях (и в изометрии, и в диметрии) малая ось эллипса всегда параллельна свободной аксонометрической оси, а большая ось эллипса ей перпендикулярна.
Построение эллипса начинают с определения его центра и направления большой и малой осей. Затем находят концы большой и малой осей (по приведенным ниже формулам) и четыре точки, являющиеся концами диаметров, параллельных аксонометрическим осям (проецируются без искажения). Как правило, полученных восьми точек достаточно для вычерчивания эллипса. Его обводят сначала от руки, а затем по лекалу.
Для выявления внутренней формы в аксонометрии делают вырез одной четверти предмета, ближайшей к наблюдателю. В этом случае вычерчивание можно начать с контуров сечения, как показано ниже.
- 12 -
Следует хорошо усвоить, как выбирается направление штриховки сечений в аксонометрических проекциях. Если на комплексном чертеже штриховка наносится под углом 45° к основным линиям чертежа, то в аксонометрических проекциях этот угол (как и все другие) искажается и направление линий штриховки определяется прямыми, отсекающими на аксонометрических осях равные отрезки. При этом следует помнить, что в диметрии размеры отрезков, параллельных оси Y , сокращаются вдвое.
Штриховка в изометрии штриховка в диметрии
- 13 -
ЛИСТ 5
Построить проекции и натуральный вид сечения фигуры
плоскостью
Задание выполняется на листе формата А3.
Пример выполнения листа приведен на стр. 15.
Задана фигура, представляющая собой сложное тело, ограниченное несколькими поверхностями. Линия сечения фигуры заданной плоскостью состоит из отдельных ли- ний пересечения этой плоскости с каждой из поверхностей. Строить проекции линии сечения надо последовательно: сначала построить линию пересечения плоскости с одной поверхностью, затем - с другой и т.д. Например, сначала построить линию
пересечения плоскости с внешней поверхностью, затем – с внутренней.
Построив три проекции заданной фигуры, следует изобразить секущую плос- кость или , указанную в задании. Так как заданная секущая плоскость - проецирующая, одна проекция линии сечения известна: она совпадает с проекцией плоскости (2 или 1). Две другие проекции линии сечения строят из условия принадлежности ее заданным поверхностям.
В примере, приведенном на стр. 15, заданная фигура ограничена снаружи прямым круговым цилиндром и двумя плоскостями (верхним и нижним основаниями). Внутри - углубление, ограниченное треугольной пирамидой.
Цилиндр пересекается плоскостью по эллипсу. Так как цилиндр является горизонтально проецирующим (все образующие перпендикулярны горизонтальной плоскости П 1), то все точки, лежащие на поверхности цилиндра, проецируются в одну и ту же окружность и проекция эллипса совпадает с этой окружностью. Остается построить третью проекцию эллипса - на плоскости П 3.
Построение следует начать с опорных точек, лежащих на уже имеющихся на чертеже линиях. Точка 1 - на левой образующей цилиндра (фронтальный очерк).
На профильной проекции эта образующая проецируется на ось, следовательно, и
профильная проекция точки 1 также лежит на оси (13).
Точки 2 и 3 - на профильном очерке цилиндра. Профильные очерковые образу- ющие цилиндра на фронтальной плоскости проецируются на ось цилиндра. Точка пе-
ресечения плоскости с осью является фронтальной проекцией точек 2 и 3.
Точки 4 и 5 - на окружности верхнего основания цилиндра.
Затем надо построить две-три промежуточных точки (точки 6 и 7). Полученные точки соединяют тонкой линией, а затем обводят с учетом видимости. На профильной проекции участки эллипса 2-4 и 3-5 – невидимые, т.к. при взгляде слева половина
цилиндра, расположенная справа от вертикальной оси (от точки 2 до точки 3) не
















