Архитектуры ПЛИС (1015493), страница 3
Текст из файла (страница 3)
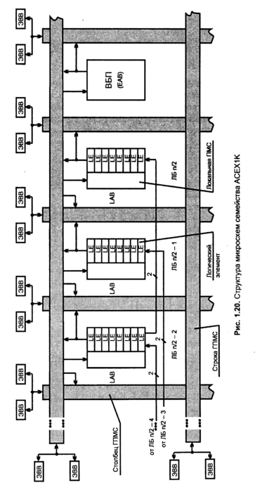
На рис. 1.20 приведена структура микросхем популярного семейства АСЕX1K архитектурно подобного семейству FLEXI0K. Микросхемы АСЕХIК являются хорошей иллюстрацией комбинирования архитектурных признаков FРGА и СРLD.
Функциональные блоки LAB (Logic Array Blocks) являются наборами логических элементов LE (Logic Elements), содержащих функциональные преобразователи ФП табличного типа (LUTs). Блоки LAB расположены в виде матрицы, между их строками и столбцами проходят горизонтальные и вертикальные трассировочные каналы, что характерно для FPGA. В то же время трассы в каналах не сегментированы, а непрерывны, что типично для CPLD. Поскольку, как уже отмечалось, в схемах с большим числом функционаных блоков применение единой коммутационной матрицы затруднено, система коммутации имеет два уровня межсоединений - глобальный и локальный. Локальная программируемая матрица соединений (локальная ПМС или ЛПМС) обеспечивает соединения логических элементов в рамках одного функционального блока (LAВ). В состав LAВ входят 8 логических элементов. Соединения между отдельными LAB обеспечиваются глобальной программируемой матрицей соединений ГПМС, к концам строк и столбцов которой подключаются блоки ввода/вывода (IOBs, lnput/Output Вlocks).
Блоки параллельно-последовательных преобразований данных (блоки SERDES)
Уменьшение разрядности быстродействующих трактов передачи сигналов сопряжено с необходимостью изменения разрядностей слов при их вводе/выводе согласно требованиям устройств обработки получаемых или передаваемых данных. В этой сфере в последнее время большое внимание уделяется разработке скоростных блоков SERDES (Serializer-Deserializer). Еще не все проблемы создания блоков SERDES полностью решены, прежде всего. требует решения задача снижения потребляемой ими мощности, которая в настоящее время слишком велика. Однако достижения современной схемотехники уже позволили создать блоки SERDES, работающие на частотах в несколько гигагерц. На рис. 1.34 приведена структура блока Serializer.
Рис. 1.34 Структура передатчика SERDES.
Параллельные данные от логического устройства с разрядностью J защелкиваются в регистре блока Serialize низкочастотным синхросигналом. Формируемые внутри блока высокочастотные синхросигналы выдвигают данные на выход блока. Блок PLL имеет два параметра (W и J), устанавливаемые по выбору проектировщика. Установка коэффициента умножения частоты W определяет соотношение между частотой системного тактирования и скоростью передачи в последовательной линии. Установка коэффициента J управляет шириной шины данных, вводимых в передатчик блока. Параметры W и J устанавливаются независимо друг от друга.
1.6Заключение. Особенности архитектур CPLD и FPGA
Особенности ПЛИС CPLD:
-
малая, предсказуемая задержка на линиях связи, обусловленная непрерывностью этих линий;
-
структура оптимизирована для выработки сложных комбинационных функций от большого числа аргументов;
-
память конфигурации на EEPROM ячейках, что избавляет от необходимости использовать отдельное конфигурационное ПЗУ;
-
очень малое время выхода на рабочий режим после включения питания;
-
сравнительно небольшая логическая емкость (32-512 макроячеек).
Особенности ПЛИС FPGA (в том числе комбинированных):
-
иерархическая система межсоединений (имеются связи различной длины как непрерывные, так и сегментированные);
-
архитектура оптимизирована для построения последовательностных тактируемых схем;
-
в подавляющем большинстве моделей используется память конфигурации на статических ячейках типа SRAM, требуется внешнее ППЗУ;
-
для выхода на рабочий режим необходима загрузка конфигурации из ППЗУ;
-
очень большая логическая емкость — до 540 000 ФБ (LUT + триггер) (Altera Stratix-IV E);
-
наличие дополнительных аппаратных блоков: умножители, буферы ВВ с поддержкой DDR, трансиверы, встроенные процессорные ядра.
1Здесь и далее термин "глобальный" при меняется для сигналов, общих для всей микросхемы
1















