Диплом_Юань (1005946), страница 5
Текст из файла (страница 5)
Рис. Кожухотрубный рекуператор: 1- подвод холодного воздуха; 2- отвод горячего воздуха; 3- подвод газа; 4- коллектор холодного воздуха; 5- коллектор горячего воздуха; 6- верхняя трубная доска; 7- нижняя трубная доска; 8 - перегородки
Технические характеристики кожухотрубного рекуператора приведены в таблице…, а габаритные и присоединительные размеры в таблице…
Таблица: Технические характеристики кожухотрубных рекуператоров
| № п/п | Параметр | Значение |
| 1 | производительность по воздуху | 100-2000 м3/час |
| 2 | температура дутьевого воздуха | 0-250 С |
| 3 | температура подогрева воздуха | 250-4500 С |
| 4 | температура газа - перед рекуператором - после рекуператора | 700-9000 С 450-7000 С |
| 5 | максимальная температура стенки | 400-6500 С |
| 6 | потери давления по воздушному тракту | 900-1500 Па |
| 7 | потери давления по газовому тракту | 30-100 Па |
| 8 | максимальное давление воздуха | 20 КПа |
Таблица: Габаритные и присоединительные размеры кожухотрубных рекуператоров
| Наименование | ||
| размеры, мм | H | 1610 |
| h | 1040 | |
| h1 | 320 | |
| B | 1305 | |
| B1 | 1280 | |
| D | 940 | |
| D1 | 910 | |
| d1 | 260 | |
| d2 | 310 | |
| d3 | 70 | |
| n | 53 | |
| Масса, кг | 1265 | |
Водогрейный котел КВ-ГМ-11,63-150Н теплопроизводительностью 11,63 (10,0) (МВт) (Гкал) предназначен для получения горячей воды давлением до 1,6 (16,3) МПа (кгс/см2) и номинальной температурой 50°С, используемой в системах отопления и горячего водоснабжения промышленного и бытового назначения, а также для технологических целей.
Котел выполнен в газоплотном исполнении, имеет горизонтальную компоновку, состоит из топочной камеры и конвективного газохода.
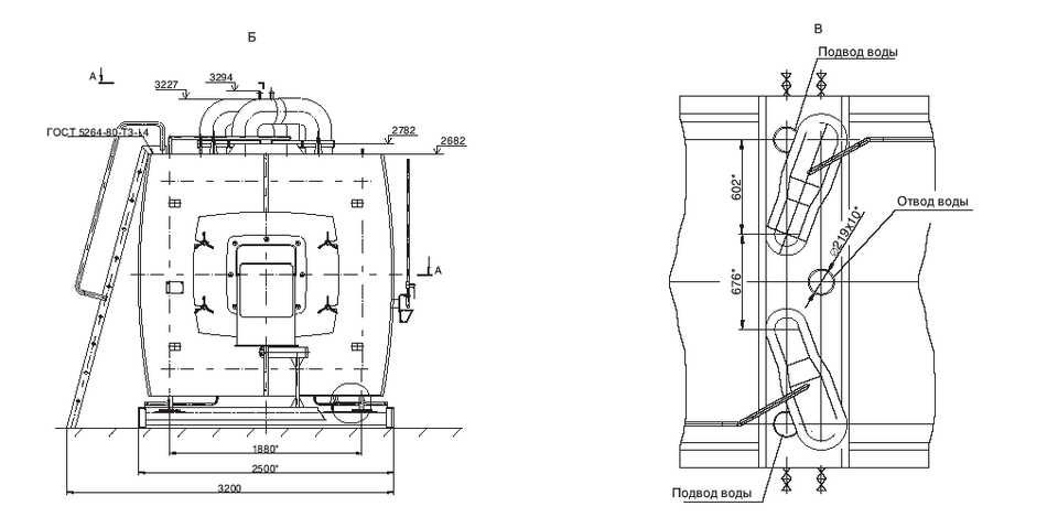
Топочная камера, состоящая из потолочного, подового и двух боковых экранов, экранирована трубами Ø60х3мм с шагом 80мм, входящими в коллекторы Ø219х10 мм. Между трубами ввариваются проставки шириной 20мм, обеспечивающие газоплотность панелей топки котла. Трубы боковых экранов расположены горизонтально.
Конвективная поверхность нагрева, находящаяся следом за топочной камерой, состоит из U-образных ширм Ø32х3 с шагом S1=80мм и S2=33мм. Боковые стены конвективного газохода закрыты горизонтально расположенными трубами (стояками) Ø60x3мм и ввариваются в вертикальные коллектора Ø219x10мм. Газоплотность боковых стенок конвективной части обеспечивается путем приварки уголка 32x32x4. Доступ к конвективным поверхностям обеспечивается за счёт расположенного над конвективной камерой прямоугольного лаза 400x450мм и лаза в коробе газовом. Циркуляция воды в котле принудительная. воды в котле принудительная. Подвод воды для котла осуществляется в коллектор конвективной части, отвод воды – из коллектора топочного блока.
С фронта котла расположена неохлаждаемая фронтовая поворотная камера, на которую устанавливается горелочное устройство.
Котел самонесущий, имеет 8 опор, приваренных к вертикально расположенным коллекторам блоков. При поставке единым блоком опорами котел опирается на раму, изготовленную из швеллера №20. При поставке двумя блоками - топочным и конвективным - на бетонные стойки. При варианте котла на раме устройство специального фундамента не требуется.
Котел состоит из двух основных элементов: топочного и конвективного блоков. Каждый имеет облегченную обмуровку и металлическую обшивку. Толщина обмуровки - 60мм. Блоки топочный и конвективный стыкуются непосредственно между собой с помощью фланцевого соединения и уплотнительного шнура (входящего в комплект поставки в случае раздельной поставки котла). На правой боковой стенке котла находятся сливные воронки, в которые выводятся воздушные линии. Дренажные линии и штуцера для отвода конденсата из топочного и конвективного блоков находятся по обеим сторонам котла. Штуцера слива конденсата у топочного и конвективного блоков вварены в подовые экраны котла.
На боковых стенках котла имеются смотровые гляделки; отборное устройство разрежения располагается на потолочном экране топочной камеры.
На потолочном экране топочной камеры и на газовом коробе находятся два взрывных предохранительных клапана. Взрывные предохранительные клапаны предназначены для сбрасывания давления воздуха (газов) в топке и конвективных поверхностях котла при достижении его критического значения. Клапаны срабатывают путём разрыва чувствительной прокладки, изготовленной из специального огнеупорного материала типа КТПУ-10.
| № п/п | Технические характеристики | |
| 1 | Топливо | газ |
| 2 | Теплопроизводительность, МВт | 11,63 |
| 3 | Рабочеее давление воды на выходе, МПа | 1,6 |
| 4 | Температура воды на входе, С | 0-20 |
| 5 | Температура воды на выходе, С | 50-75 |
| 6 | Диапазон регулирования теплопроизводительности по отношению к номинальной, % | 30-100 |
| 7 | Гидравлическое сопротивление МПа, не более | 0,25 |
| 8 | Объемный расход воды | 2,75 |
| 9 | Расход топлива, на газе м3/ч | 1234 |
| 10 | КПД котла, % | 94 |
| 11 | Расчетное аэродинамическое сопротивление, Па | 180 |
| 12 | Коэффициент избытка воздуха в топке | 1,05 |
| 13 | Объем топочной камеры, м3 | 22,4 |
| 14 | Поверхность стен топки, м2 | 59,4 |
| 15 | Поверхность нагрева конвективной части, м2 | 291,6 |
| 16 | Удельный выброс окислов азота, г/м3, не более, газ | 0,23 |
| 17 | Сейсмичность по СниП II-А, 12-69, балл, не более | 6 |
| 18 | Масса метала котла, кг, расчетная | 144000 |
| 19 | Длина, мм | 9350 |
| 20 | Высота, мм | 17170 |
| 21 | Ширина, мм | 8780 |
| 22 | Средний срок службы до списания, лет, не менее | 15 лет или 75000 часов |
Водонагреватель II ступени
Схема гидравлического котла водогрейного КВ-ГМ-1,1-95П
| № п/п | Наименование | Величина |
| 1 | Теплопроизводительность, МВт | 1,1 |
| 2 | Температура воды на входе в котел, °С | 50 |
| 3 | Температура воды на выходе из котла, °С | 90 |
| 4 | Температура уходящих газов, °С | 200 |
| 5 | Расчетное давление воды на входе, МПа | 0,7 |
| 6 | поверхность нагрева, м2 | 10 |
| 7 | Гидравлическое сопротивление, не более, МПа | 0,135 |
| 8 | КПД котла не менее, % | 93,8 |
| 9 | Диапазон регулирования, % | 30-100 |
| 10 | Удельный выброс оксидов азота, г/м3 | 0,08 |
| 11 | Аэродинамическое сопротивление котла (без горелки), не более, Па | 200 |
| 12 | Номинальный расход газа м3 /ч | 1200 |
| 13 | Объемный расход воды, м3/час | 3,0 |
| 14 | Масса котла (без горелки и без воды), кг | 3200 |
4. Экономическая часть (20-25 стр)
Разработать технологию (после Кудрявцевой)
-
Расчет социально-экономического эффекта (руб.)
-
Расчет эффективности (руб.)
-
определить стоимость очистных сооружений по методичке Кудрявцевой. Затраты в рублях на тот период, за который очищают
-
Расчет текущих издержек: по обслуживанию этого агрегата, ФОТ обслуживающего персонала, который занимается обслуживанием агрегата, амортизация, материалы, сырье
-
Описать показатели, которые улучшаются: социальные, экологические (эффект, эффективность), экономические
Плакаты:
-
эффект
-
эффективность (формулы + мои данные)
-
Расчет предотвращенного экологического ущерба
5. Охрана труда окружающей среды (10 стр)
Охрана труда оператора печи, дадут план, по нему посчитать воздушное душирование для работника у печи. Плакат №5
В данном дипломном проекте рассматриваются проблемы защиты атмосферного воздуха от загрязнений термического цеха. В термическом цехе находятся печи, в которых производятся операции термической обработки металлических изделий. Управляет данной печью оператор.















