Otvety_Rk_1 (1003472), страница 2
Текст из файла (страница 2)
11. Определения углов , , . Их влияние на процесс резания.
-(главный угол в плане) при равной глубине резания и подачи уменьш. привод. к измен. формы срезаемого слоя.
При малых обеспечивается повыш. стойкость инст-та, суммарные силы резания будут>
Меняется также напр-ие силы резца на деталь, увел-ся радиальная сост. “+” уменьшение высоты h
Остаточных неров-тей (шероховатость меньше)
Главный задний угол . (определяет трение по лавной задней пов-ти инстр.) малые: Режущий инст. Раб. В более благоприятных усл. Сжим. Нагрузок, Больше размерная стойкость инст. Лучший теплоотвод. большие: меньше трен. По задней пов-ти инст. Меньше силы трения, меньше теплоотвод, след износ меньше. Резание с отриц.задними углами невозможно!
- назначение этого угла заключается в уменьшении трении по ВРК.
Наибольшая стойкость при = 100
всегда> 0 (за исключением чистовой обраб-ки)
12. Определения угла , . Их влияние на процесс резания.
- Угол наклона главного режущего лезвия(определяет направление схода стружки)
Угол определяет плавность входа в заготовку при прерывистом резании, на прочность реж.клина, появляется движение вдоль реж.кромки.
Для станков с ручным управление рек-ют напр-ть стружку от рабочих органов(к шпинделю),
С ЧПУ напр. Наоборот.
- назначение этого угла заключается в уменьшении трении по ВРК.
Наибольшая стойкость при = 100
всегда> 0 (за исключением чистовой обраб-ки)
13. Изменение углов режущего клина при установке на станке.
1)
При повороте угла против часовой стрелки на угол ∆ϕ угол ϕ увеличивается, а угол ϕ1 уменьшается на величину угла поворота. Длина активного участка режущей кромки ум-ся, стойкость резцов ум-ся, сила резания ум-ся. Изменяется шероховатость обработанной поверхности. Разворот резца в сторону увеличения угла ϕ часто позволяет снизить вибрации.
2) Изменение углов при установке резца не по высоте цетров.
При смещение резца выше заготовки при наружном точении и ниже при растачивании главный задний угол α может принять нулевый или отрицательные значения. Это приводит к сильному трению по задней пов-ти или невозможности осуществления процесса резания.
14. Объяснить изменение кинематических углов при отрезке заготовок.
При смещнии относительно высоты цетров на +h:
γκ=γ+τ
ακ=α-τ
При смещнии относительно высоты цетров на -h:
γκ=γκ-τ
ακ=ακ+τ
Клин становиться менее прочным.
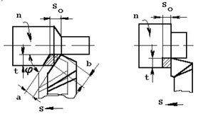
15. Сечение срезаемого слоя на примере строгания поверхности и точения упорным.(картинка справа)
Поток стружки, действующий на переднюю поверхность резца в процессе точения определяет интенсивность сил резания и тепловыделения. Характеристикой этого действия принято считать площадь f сечения металла, срезаемого резцом за один оборот заготовки
b - ширина среза - расстояние между обработанной и обрабатываемой поверхностями, измеренное вдоль главного режущего лезвия;
a - толщина среза - кратчайшее расстояние между двумя последовательными положениями резца за один оборот заготовки.
Cтрогание поверхности упорным резцом
17. Виды стружек. От чего зависит вид стружки.
Тип стружки зависит от пластичности обрабатываемого материала, переднего угла, толщины срезаемого слоя и скорости резания.
1) Сливная стружка (а). Образуется при обработке пластичных материалов (медь, алюм, стали) на высоких скоростях резания, малых толщинах срезаемого слоя и больших передних углах (g>10°). Стружка сходит в виде ленты и обладает большой прочностью. Прирезцовая сторона зеркальная.
2) Стружка скалывания (б). Состоит из отдельных элементов, связанных друг с другом. При обработке сталей повышенной пластичности, при большой толщине среза, малых передних углах гамма, малых скоростях реза. Когда элементы суставчатой (б) стружки перестают быть связанными, то формируются элементные стружки (в).
3) Стружка надлома (г). Образуется при обработке хрупких материалов. Резец выламывает крупные частицы металла впереди себя.
18. Мероприятия по борьбе со сливным стружкообразованием.
Сливная стружка недопустима в автоматном производстве, в ручном опасна для рабочего, наматывается на деталь и шпиндель, занимает большой объем. Борьба – спец. форма передней поверхности, обеспечивающая завивание или дробление, стружколомы, термообработка. На резцах используются накладные регулируемые стружколомы, стружколомающие уступы, стружкозавивающие канавки.
19. Что характеризует усадка стружки. Как определяется.
Усадку определяет коэффициент укорочения стружки. При срезании слоя a*b*l полученная стружка будет иметь толщину а1>a, L>L1,b1>b. Укрочение и утолщение до 4 раз. из равенства объемов видно, что во сколько раз она стала толще, во столько раз она стала короче. εа=а1/a- коэф утолщения
εl=L1/L-коэф. укорочения. Чем больше укорочение стружки, тем больше затрачив. энергии на пласт. деф. припуска. εl зависит от пластич. обработ. мат-ла, от переднего угла γ( чем больше γ, тем меньше εl, с увеличением b- εl снижается). Усадка связана с углом наклона условной пл. сдвига.
20. Нарост, положительные и отрицательные стороны наростообразования.
Нарост-клиновидная зона застойного мат-ла вблизи режущей кромки, подверженная всестороннему сжатию(налипает к режущей кром.). Нарост характерен при обработке сталей и др. НВ м-ла нароста в 2-2,5 раза больше НВ обработ. детали.
+ защищает реж. кром. от износа
+увелич. передний угол γ(улучш. условия стружкообразования)
+уменьшает темпер. рабочих поверхностей инструмента
-геом. параметры нароста нестабильны и не поддаются управлению
21. Зависимость высоты нароста от скорости резания и переднего угла.
1)Скорость резания, основной фактор, влияющий на нарост.
В I-ой зоне при малых скоростях резания температура в зоне резания незначительна, стружка элементная и не имеет длинного контакта с резцом. В связи с этим нарост практически не образуется.
В зоне II увеличивается температура, стружка – суставчатая и сливная, имеет место увеличение адгезии, а значит и величины нароста.
В зоне III нарост вымывается за счёт возрастания сил резания и температуры и не успевает вырасти до больших размеров.
2) С увеличением угла γ снижается высота нароста, так как снижается сопротивление стеканию стружки по передней поверхности.
22. Принцип измерения температуры естественной термопарой.
Рабочим концом естественной термопары являются площадки взаимного касания лезвия резца, стружки и поверхности резания на заготовке. Рис.1.9. (1 - резец; 2 - заготовка; 3 - токосъёмник; 4 - осциллограф; 5 – блок питания; 6 – электроизоляция). С изменением режима резания на поверхностях резца, контактных со стружкой и обрабатываемой заготовкой, устанавливается различный температурный режим. Последний изменяет термоэлектродвижущую силу термопары «резец – заготовка», которая регистрируется осциллографом на движущейся фотобумаге.
24. Для чего необходимо для практики знание составляющих сил резания.
Действие составляющих сил резания на станок: Сила Рz по направлению совпадает с вектором скорости резания и является основным потребителем мощности (главная составляющая сипы резания). Она нагружает механизм главного движения станка. По ней производят расчет коробки скоростей. Сила Рx действует в направлении продольной подачи станка и создает осевую на грузку на опоры шпинделя. По ней расчитывают механизм подачи станка (механизм коробки подач. фартука, винтовую пару). Сила Рy действует в радиальном направлении. По ней рассчитывают механизм поперечных подач станка.
Действие составляющих сил резания на резец: Учитывают при расчете резца на прочность или жесткость. Обычно расчет производят по главной составляющей силе Рz
Действие составляющих сил резания на деталь: Учитывают при назначении режимов обработки нежестких деталей. За счет отжима заготовки от резца под действием радиальной составляющей силы резания фактическая глубина резания становится меньше установленного ее значения t на величину
25. Использование тензометрии для определения составляющих силы резания.
Для измерения составляющих сил резания разработаны и используются на практике динамометры различных модификаций. Схема динамометра: .
Тензодатчики – датчики, основанные на изменении сопротивления при механических деформациях.
Динамометры не позволяют определить непосредственно силы резания. Их показания дают величины (силы тока, напряжения, перемещения и т.д.), пропорциональные действующим силам. Поэтому перед работой необходимо протарировать динамометр. Тарировка
заключается в том, что динамометр нагружают в направлении сил резания сначала возрастающими, а затем убывающими силами, величина которых известна. Показания динамометра, соответствующие определенным величинам сил, регистрируются. На основании этих данных
по средней линии нагрузки строится тарировочный график, которым в дальнейшем пользуются для расшифровки показаний динамометра. Тарировочный график для определения сил резания:
27. Изменения, происходящие в поверхностном слое детали после обработки и причины их возникновения.
Пластические деформации приводят к искажению кристаллической решетки и накоплению дислокаций, что в свою очередь вызывает упрочнение поверхности (наклеп), формирование остаточных напряжений.
Причины изменения структуры и свойств:
1) Пластические деформации проникающие ниже линии движения вершины резца
2) Наличие радиуса скругления режущего лезвия
3) Температура, при которой происходит пластические деформации















