Otvety_Rk_1 (1003472)
Текст из файла
1.Получение детали. Формообразованием и формоизменением. Примеры.
Формообразование - технологические процессы, придающие форму телам ранее ее не имевшие (жидкие, сыпучие).
Пример формообразования: литье, порошковая металлургия, аддитивные технологии, технология полимерных и композитных материалов, высокотемпературный синтез.
Формоизменение – принцип получения детали за счет перераспределения объема материала заготовки за счет удаления части.
Пример формоизменения:
Перераспределение объема: штамповка, прокатка, экструдирование, прессование
Удаление части металла с заготовки: электроэрозионная обработка, обработка резаньем.
Формообразование остается основным технологическим приемом при получение точных деталей машин и механизмов.
Припуск – специально оставленная часть материала заготовки для удаления в целях обеспечения точности действительных размеров, а также заданного качества поверхностного слоя обработанной детали.
Можно удалять механически, физически, электрическими методами и их комбинациями.
Механический метод – это обработка резаньем, которая основана на деформации материала до его разрушения, проходит по определенным поверхностям
Немеханический метод – основывается на процессах плавления, испарения.
2.Параметры, по котором определяется эффективность процесса резанья.
1) Производительность – количество обрабатываемых деталей в единицу времени.
2) Точность обработки – соответствие размеров формы обрабатываемой поверхности к требованию чертежа.
Точность определяется квалитетом. Резанье позволяет достичь наибольшую степень точности
Пример: лезвийная обработка – IT6 амбразивная – IT4
3) Качество обрабатываемой поверхности – совокупность 3 параметров: а) шероховатость б) изменение твердости поверхностного слоя в) изменение остаточных напряжений.
Пример: лезвийная обработка - Ra 1,0 мкм (обычная) ; Ra 0, 32 мкм (чистовая)
Амбразивное микроточение – сотен долей мкм
4)Энергоёмкость- работа, затраченная на формообразование.
5)Себестоимость(экономический критерий).
3.От чего зависит обрабатываемость резанием.
Обработка материала резанием – способность материала подвергаться обработке резанием
Обрабатываемость – важнейшее технологическое свойство, определяющее и производительность обработки, и стоимость продукции
Чаще всего обрабатываемость материала оценивается скоростью резания через коэффициент обрабатываемости:
VЭ – значение скорости резания эталонного материала при определенном периоде стойкости (время резания от начала резания до отказа)
V – значение скорости резания рассматриваемого материала при тех же условиях обработки и необходимых для получения той же стойкости
Обрабатываемость материала зависит от совокупности физико-механических свойств материала с учетом их изменения в зоне резания
Основные физико-механические свойства:
-
Прочность
-
Твердость
-
Пластичность
-
Теплоемкость
-
Теплопроводность и др.
В процессе резания на обрабатываемый материал воздействуют 3 фактора, изменяющие эти свойства
-
Нагрев (разупрочнение материала)
-
Степень деформации
-
Скорость дефформации
4.Группы обрабатываемости металлов по ISO.
| Группа ISO | Материал |
| P | Сталь, все виды, кроме нержавеющих с аустенитной структурой |
| M | Нержавеющая сталь с аустенитной структурой |
| K | Серый чугун, ковкий чугун, высокопрочный чугун |
| N | Алюминий и цветные сплавы |
| S | Жаростойкие сплавы на основе железа, никеля, кобальта, титана, титановые сплавы |
| H | Закаленная сталь, отбеленный чугун |
5. Примеры свободного резания.
Свободным называется такое резание, при котором в работе участвует только одно (главное) режущее лезвие. Деформированное состояние срезаемого слоя при этом является плоским. В этом случае деформация совершается в плоскостях, параллельных друг другу, и все элементарные объемы срезаемого слоя могут свободно перемещаться в параллельных направлениях.
6. Осложненное (несвободное) резание.
При большем числе лезвий - резание считается не- свободным. Несвободное резание сопровождается пересечением направлений стекания стружки, что приводит к дополнительному теплообразованию, наклепу, ухудшению качества обработанной поверхности. Несвободное резание производится одновременно главным и вспомогательным лезвиями инструмента ( продольное точение, нарезание резьбы, отрезка, прорезка канавок).
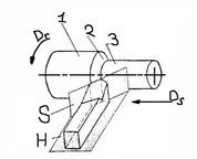
7. Поверхности на обрабатываемых заготовках в примерах по эскизам строгания и точения.
1 – обрабатываемая поверхность
2 – поверхность резания
3 – обработанная поверхность
Н – основная плоскость
S – плоскость резания
8. Определение «режим резания», последовательность назначения параметров режима резания.
Режимом резания называется совокупность элементов, определяющих условия протекания процесса резания. К элементам режима резания относятся – глубина резания, подача, период стойкости режущего инструмента, скорость резания, частота вращения шпинделя, сила и мощность резания. Метод расчёта - это определению, по эмпирическим формулам, скорости, сил и мощности резания по выбранным значениям глубины резания и подачи.
Глубиной резания называется расстояние между обрабатываемой и обработанной поверхностями, измеренное по нормали к последней.
Подачей называется путь, пройденный какой-либо точкой режущей кромки инструмента, относительно заготовки, за один оборот заготовки (режущего инструмента), либо за один двойной ход режущего инструмента.
Периодом стойкости (стойкостью) режущего инструмента называется время его непрерывной работы между двумя смежными переточками.
Скорость резания – скорость главного движения, определяет направление деформации и разрушения снимаемого припуска
9. Типы резцов по видам оборудования. Конструктивные параметры токарного резца.
По виду станка, за котором выполняется работа: токарный, строгальный, долбежный.
По виду выполняемой работы: точение (резец проходной, проходной упорный, подрезной, отрезной, прорезной, фасонный, резьбовой); растачивание (резец проходной, подрезной); строгание (резец проходной, подрезной); долбление (резец проходной двухсторонние, прорезной).
По положению режущей кромки: правые, левые.
По конструкции рабочей части и её положению относительно крепежной: прямой, отогнутый, изогнутый.
По форме главной режущей кромки: прямолинейный и криволинейный.
По форме передней поверхности лезвия: плоский, плоский с фаской, криволинейный, криволинейный с фаской.
По способу изготовления: цельный, составной с приваренной встык рабочей частью, с приваренной режущей пластиной, сборный.
По материалу лезвия: быстрорежущей сталь, твердый сплав, режущая керамика.
По поперечному сечению крепежной части: квадратные, прямоугольные, круглые, специальной формы.
Классический режущий клин инструмента обращён пересечением 3-х поверхностей. Именно по передней поверхности сходит стружка. Главная задняя поверхность инструмента обращена к поверхности резания. Вспомогательная задняя поверхность обращена к обработанной поверхности. Введено6 стандартных углов, которые определяют процесс резания и прочность режущего инструмента (g,a,a1,f,f1,l).
ВРК-вспомогательная режущая кромка
ПП-передняя поверхность
ГРК-главная режущая кромка
ГЗП-главная задняя поверхность
ВЗП-вспомогательная задняя поверхность
L1-режущая часть инструмента
L2-присоединительная часть инструмента
10. Определения углов , . Их влияние на процесс резания, прочность инструмента (шероховатость).
Главный передний угол γ – угол между основной плоскостью и передней поверхностью. Он может быть положительным (если передняя поверхность расположена ниже основной плоскости), равным нулю (передняя поверхность совпадает с основной плоскостью) и отрицательным (если передняя поверхность расположена выше основной плоскости).
Передний угол оказывает влияние на степень деформации. Чем больше угол, тем меньше необходимо совершить работу для снятия стружки, снижает контактные давления, следовательно, износ будет меньше. При увеличении угла режущий клин начинает работать в неблагоприятных условиях. Для прочных материалов (жаропрочных и титановых сплавах) угол равен 0. Большой передний угол ухудшает теплоотвод из зоны резания.
Главный угол в плане φ – угол между проекцией главной режущей кромки на основную плоскость и направлением движения подачи.
В основном угол влияет на шероховатость обработанной поверхности. С уменьшением угла шероховатость понижается, одновременно уменьшается толщина и увеличивается ширина срезаемого слоя, следовательно, уменьшаются сила и температура резания, приходящиеся на единицу длины режущей кромки, но резко увеличивается сила резания в направлении, перпендикулярном оси заготовки.
Характеристики
Тип файла документ
Документы такого типа открываются такими программами, как Microsoft Office Word на компьютерах Windows, Apple Pages на компьютерах Mac, Open Office - бесплатная альтернатива на различных платформах, в том числе Linux. Наиболее простым и современным решением будут Google документы, так как открываются онлайн без скачивания прямо в браузере на любой платформе. Существуют российские качественные аналоги, например от Яндекса.
Будьте внимательны на мобильных устройствах, так как там используются упрощённый функционал даже в официальном приложении от Microsoft, поэтому для просмотра скачивайте PDF-версию. А если нужно редактировать файл, то используйте оригинальный файл.
Файлы такого типа обычно разбиты на страницы, а текст может быть форматированным (жирный, курсив, выбор шрифта, таблицы и т.п.), а также в него можно добавлять изображения. Формат идеально подходит для рефератов, докладов и РПЗ курсовых проектов, которые необходимо распечатать. Кстати перед печатью также сохраняйте файл в PDF, так как принтер может начудить со шрифтами.















