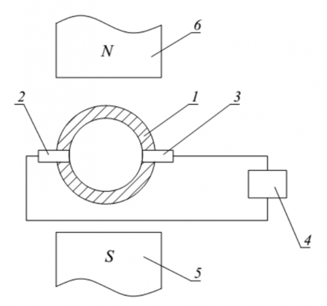
Ответ на вопрос №738849: Соотнесите элементы схемы электромагнитного расходомера с их обозначениями. 1 3 4 6 трубопровод электрод измерительный прибор южный полюс магнита Соотнесите элементы схемы электромагнитного расходомера с их - Ответ на вопрос №738849Соотнесите элементы схемы электромагнитного расходомера с их - Ответ на вопрос №738849
2025-06-202025-06-20СтудИзба
Соотнесите элементы схемы электромагнитного расходомера с их - Ответ на вопрос №738849
Вопрос
Соотнесите элементы схемы электромагнитного расходомера с их обозначениями.
- 1
- 3
- 4
- 6
- трубопровод
- электрод
- измерительный прибор
- южный полюс магнита
Ответ
Этот вопрос в коллекциях

Гарантия сдачи без лишних хлопот! ✅🎓 Ответы на тесты по любым дисциплинам, базы вопросов, работы и услуги для Синергии, МЭИ и других вузов – всё уже готово! 🚀 🎯📚 Гарантия качества – или возврат денег! 💰✅