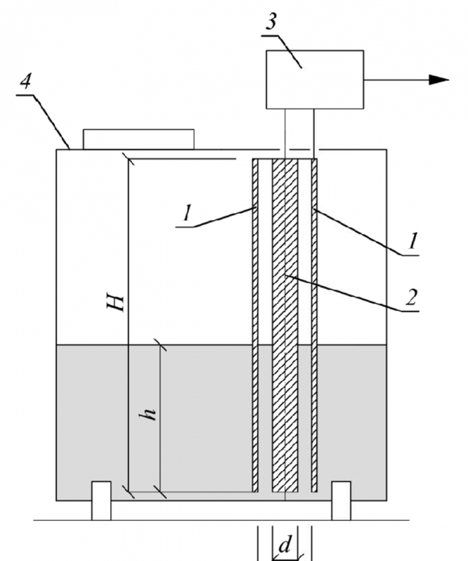
Ответ на вопрос №738844: Соотнесите элементы схемы работы емкостного уровнемера с их обозначениями. 2 3 4 цилиндрический конденсатор источник питания/вторичный преобразователь емкость Соотнесите элементы схемы работы емкостного уровнемера с их - Ответ на вопрос №738844Соотнесите элементы схемы работы емкостного уровнемера с их - Ответ на вопрос №738844
2025-06-202025-06-20СтудИзба
Соотнесите элементы схемы работы емкостного уровнемера с их - Ответ на вопрос №738844
Вопрос
Соотнесите элементы схемы работы емкостного уровнемера с их обозначениями.
- 2
- 3
- 4
- цилиндрический конденсатор
- источник питания/вторичный преобразователь
- емкость
Ответ
Этот вопрос в коллекциях

Гарантия сдачи без лишних хлопот! ✅🎓 Ответы на тесты по любым дисциплинам, базы вопросов, работы и услуги для Синергии, МЭИ и других вузов – всё уже готово! 🚀 🎯📚 Гарантия качества – или возврат денег! 💰✅