Ответ на вопрос №738821: На изображении представлена … Схема электромагнитного расходомера Схема ультрозвукового расходомера Схема сильфонного расходомера На изображении представлена … Схема электромагнитного расходомера - Ответ на вопрос №738821На изображении представлена … Схема электромагнитного расходомера - Ответ на вопрос №738821
2025-06-202025-06-20СтудИзба
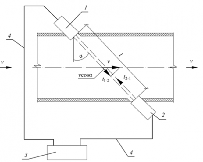
На изображении представлена … Схема электромагнитного расходомера - Ответ на вопрос №738821
Вопрос
На изображении представлена …
- Схема электромагнитного расходомера
- Схема ультрозвукового расходомера
- Схема сильфонного расходомера
Ответ
Этот вопрос в коллекциях

Гарантия сдачи без лишних хлопот! ✅🎓 Ответы на тесты по любым дисциплинам, базы вопросов, работы и услуги для Синергии, МЭИ и других вузов – всё уже готово! 🚀 🎯📚 Гарантия качества – или возврат денег! 💰✅