Ответ на вопрос №738814: На изображении представлен … жидкостный термометр стержневой термометр биметаллический термометр манометрический термометр На изображении представлен … жидкостный термометр стержневой - Ответ на вопрос №738814На изображении представлен … жидкостный термометр стержневой - Ответ на вопрос №738814
2025-06-202025-06-20СтудИзба
На изображении представлен … жидкостный термометр стержневой - Ответ на вопрос №738814
Вопрос
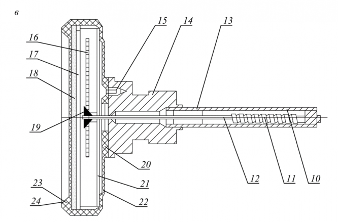
На изображении представлен …
- жидкостный термометр
- стержневой термометр
- биметаллический термометр
- манометрический термометр
Ответ
Этот вопрос в коллекциях

Гарантия сдачи без лишних хлопот! ✅🎓 Ответы на тесты по любым дисциплинам, базы вопросов, работы и услуги для Синергии, МЭИ и других вузов – всё уже готово! 🚀 🎯📚 Гарантия качества – или возврат денег! 💰✅