Ответ на вопрос по инженерной графике №12246: На каком изображении размеры проставлены правильно? На каком изображении размеры проставлены - Ответ на вопрос по инженерной графике №12246На каком изображении размеры проставлены - Ответ на вопрос по инженерной графике №12246
2024-01-092024-01-09СтудИзба
На каком изображении размеры проставлены - Ответ на вопрос по инженерной графике №12246
-47%
Вопрос
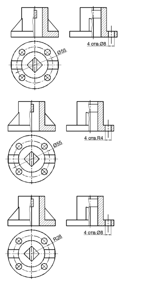
На каком изображении размеры проставлены правильно?
Ответ
Пожалуйста, если не трудно, оцените файл на высокую оценку, спасибо!
iFate























