Ответ на вопрос по электротехнике №913858: Если якорь машины вращается против часовой стрелки, то ЭДС будет отсутствовать в проводниках с номерами... Если якорь машины вращается против часовой - Ответ на вопрос по электротехнике №913858Если якорь машины вращается против часовой - Ответ на вопрос по электротехнике №913858
2025-07-252025-07-25СтудИзба
Если якорь машины вращается против часовой - Ответ на вопрос по электротехнике №913858
Вопрос
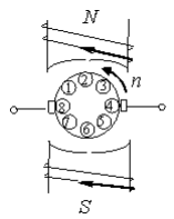
Если якорь машины вращается против часовой стрелки, то ЭДС будет отсутствовать в проводниках с номерами...
Ответ

Если нужен другой вариант работы или отдельная задача из любой работы, пишите в комментарии
















