Ответ на вопрос №300077: Установите соответствие между элементами схемы водонагревателя типа УАП и их названиями. A. 1 B. 2 C. 3 D. 4 E. 5 F. 6 G. 7 H. стальной резервуар I. стекловата J. контактный термометр K. патрубок для горячей волы L. элементный нагреватель M. обратный клапан N. запорный вентиль Установите соответствие между элементами схемы водонагревателя типа - Ответ на вопрос №300077Установите соответствие между элементами схемы водонагревателя типа - Ответ на вопрос №300077
2025-03-062025-03-06СтудИзба
Установите соответствие между элементами схемы водонагревателя типа - Ответ на вопрос №300077
-47%
Вопрос
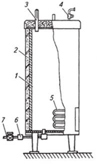
Установите соответствие между элементами схемы водонагревателя типа УАП и их названиями.
- A. 1
- B. 2
- C. 3
- D. 4
- E. 5
- F. 6
- G. 7
- H. стальной резервуар
- I. стекловата
- J. контактный термометр
- K. патрубок для горячей волы
- L. элементный нагреватель
- M. обратный клапан
- N. запорный вентиль
Ответ

Анастасия Жукова






















