Форма тока в нагрузке, если диод VD1 выйдет из строя - Ответ на вопрос по электронике №1109434
-42%
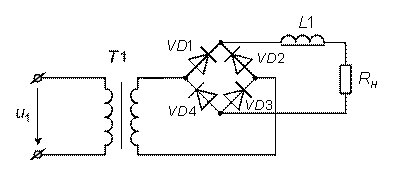
Вопрос
Форма тока в нагрузке, если диод VD1 выйдет из строя
Ответ

Если нужен другой вариант работы или отдельная задача из любой работы, пишите в комментарии














