Классификация методов защиты
1.3. Классификация методов защиты
В задачу защиты, как это не покажется странным, не входит полное прекращение процессов коррозии. К тому же, это и невозможно. Основная цель - замедлить скорость коррозионного разрушения до приемлемого уровня. Так, трубопровод, проложенный к некоторому объекту, может морально устареть уже через 20 лет. Поэтому есть ли смысл предусматривать для него срок службы - за счет средств антикоррозионной защиты - длительностью 40 лет? Некоторая деталь машины механически изнашивается много быстрее, чем разрушается за счет электрохимических явлений. В данном случае проблемы коррозии скорее всего вообще нет. И, наконец, некоторый небольшой элемент атомного реактора разрушился и это вызвало радиоактивное заражение окружающего пространства. Такой элемент при проектировании антикоррозионной защиты безусловно должен иметь двойной-тройной запас надежности.
Защита от коррозии это комплекс мероприятий, выбираемых инженером-коррозионистом исходя из его опыта, который вероятнее всего основывается на мировых знаниях. Легко перечислить возможные способы защиты и антикоррозионные мероприятия, труднее принять наиболее правильное решение.
1.3.1. Коррозионностойкие материалы.
Безусловно, пластмассовая труба лучше стальной, если не отвлекаться такими “мелочами” как старение и растрескивание пластмассы, деструкция сварных швов с разгерметизацией стыков. Стык труб - чрезвычайно слабое место пластмассового трубопровода. Поэтому есть некоторая уверенность, что трубопроводы из малоуглеродистой и низколегированной стали, повсеместно применяющиеся сейчас, не скоро уступят свое место трубопроводам из пластмассы. Особенно это касается магистральных трубопроводов большого диаметра и высокого давления.
Керамические, стеклянные, железобетонные трубопроводы нашли свою область применения и с успехом заменяют стальные там, где это можно: безнапорные трубопроводы, химические производства, мелиорация и пр.
С малой скоростью корродируют чугунные трубопроводы, которые широко используются в водоснабжении.
Многочисленные марки нержавеющей стали с легирующими добавками хрома, никеля, молибдена и титана предназначены, казалось бы, для защиты во всех агрессивных средах. Но, к сожалению, именно нержавеющие стали корродируют по механизму межкристаллитной и питтинговой коррозии. Так, нержавеющие стали стойки в азотной, сернистой, во многих органических кислотах, в щелочах и, разумеется, в атмосфере и нейтральных средах, но уже нестойки в разбавленных растворах соляной кислоты.
К тому же пока нет желающих строить дорогой подземный трубопровод из нержавеющей стали.
1.3.2. Изолирующие покрытия
Рекомендуемые материалы
Первое, на что интуитивно надеется простой обыватель,- покрасить и с этим снять коррозионную проблему. Но тогда пусть не удивляет такой факт: морской корабль при его периодическом ремонте покрывают четырьмя, и даже шестью слоями краски. Для маленького миноносца водоизмещением 1600 т тратится 1,5 т высококачественной краски на один слой покрытия. А простое однослойное покрытие - это не антикоррозионное, а декоративное.
Основное назначение любого вида покрытия - уменьшить доступ агрессивной среды к поверхности металла.
Применяют следующие виды покрытия:
- металлическое;
- неорганическое;
- лакокрасочные и полимерные.
К сожалению, все виды покрытия - пористые или имеют механические повреждения. Поэтому надеяться на эффективную защиту от коррозии только с помощью покрытий нельзя. Однако и без покрытия, как важнейшего звена комплексной защиты, обойтись нельзя. Поэтому коротко познакомимся с особенностями наиболее распространенных видов покрытия.
Металлические покрытия
Цинк на стали - жертва стального сооружения агрессивной среде. Действительно, цинк в паре с железом образуют гальванический элемент, в котором, как известно, одному из электродов - аноду - суждено растворяться, этим самым давая жизнь (энергию) другому электроду - катоду. В данном случае цинк - анод, сталь - катод. Пока на поверхности стали есть островки цинка, сталь может надеяться на защиту. В данной ситуации работает так называемая протекторная защита, о которой речь еще впереди.
Правда, эффективная протекторная защита распространяется на участки не очень далеко отстоящие от края островка цинкового покрытия. Так, в морской воде эффективным катодом может служить поверхность, отстоящая от границы с цинком даже на десятки сантиметров, в то время как в низкоминерализованной воде, следовательно, в среде с низкой электропроводностью, уже на расстоянии несколько миллиметров от цинка плотность катодного тока незаметна и железо там начинает ржаветь.
В морской воде цинк расходуется со скоростью примерно 0,03 мм в год. Такой же толщины покрытие в атмосфере морских районов может простоять 8 лет, в то время как в промышленных районах срок их службы может составить только 4 года.
В процессе работы гальванической пары цинк-железо образуются продукты коррозии, например, ZnO, заполняющие трещины и поры. Поскольку ZnO - это проводник с электронной проводимостью со своим собственным электрохимическим потенциалом, то э.д.с. гальванической системы будет меняться. Опыт показывает, что ток пары цинк-железо со временем может упасть до нуля. Но еще опаснее ситуация, когда благодаря осадкам ZnO может произойти изменение полярности гальванической системы, т.е. железо чистое станет анодом, а железо под слоем ZnO - катодом. Возникнет язвенная коррозия, что и наблюдалось не раз в аэрированной горячей воде.
Однако несмотря на это часто единственным способом борьбы с внутренней коррозией трубопровода горячей воды является цинкование труб.
Никелевое покрытие на стали - катод. Поэтому коррозию стали в порах покрытия можно избежать лишь устранив эти поры. Покрытие должно быть достаточно толстым с порами заполненными или лаком, или расплавом легкоплавкого металла, например, олова.
Часто сверху на слой никеля электроосаждением наносят слой хрома или еще один тонкий слой никеля, который благодаря легирующим добавкам делают пористым и к тому же анодом относительно нижнего слоя.
Общая толщина слоя никелевого покрытия колеблется от 0,008 мм - внутри жилого помещения, до 0,2 мм - на производствах в химической промышленности.
Для защиты металлических элементов, погруженных в воду, применяют алюминиевое покрытие, изготовленное методом напыления - металлизацией. Покрытие (обычно толщиной 0,08...0,2 мм) затем пропитывают органическим лаком. В паре с железом алюминиевое покрытие может выступать как анодом, так и катодом в зависимости от химического состава коррозионной среды. При этом определяющее воздействие на потенциал алюминия и железа оказывают ионы Cl- и SO4-.
Неорганические покрытия
Силикатные эмали или стеклоэмали изготавливаются путем наплавления размолотого порошка силиката того или иного состава на защищаемую поверхность. Эмалированная посуда, емкости, детали трубопровода и даже целые трубопроводы - все это может быть изготовлено с эмалевыми покрытиями.
Покрытия практически непроницаемы для воды, но до тех пор, пока не появятся трещины, что при хрупкости такого рода покрытий вряд ли можно избежать.
Цементные покрытия обладают ощутимым преимуществом - они имеют низкую стоимость и удобны при применении. Цемент обычно наносят на металлическую сетку слоем 5...25 мм.
Несмотря на то, что обычное цементное покрытие водопроницаемо, коррозионные процессы практически не идут из-за высокой щелочности бетона (рН>11). При большом числе трещин и выщелачивании бетона защитные свойства покрытия снижаются.
За счет высокой щелочности защищена арматура железобетонных сооружений, например, мостов, но до тех пор, пока щелочность не уменьшится за счет проникновения солей и атмосферного воздуха, изменяющих химический состав бетона. Часто арматуру перед закладкой покрывают слоем изоляции, например, эпоксидной смолой.
Сталь в бетоне имеет более положительный электрохимический потенциал, чем сталь в почве. Поэтому при контакте с арматурой железобетонного сооружения подземный трубопровод работает анодом и может активно разрушаться.
Оксидирование и анодирование - процессы химической и электрохимической обработки защищаемой металлической поверхности с образованием нерастворяющейся пленки окислов. Покрытия хорошо стоят в атмосфере, но для трубопроводов непригодны.
Лакокрасочные и полимерные покрытия
Весьма многообразный выбор различного рода красок не свидетельствует о том, что все проблемы антикоррозионной защиты уже решены. Мало того, что эти покрытия пористые, но еще и стоимость работ по их нанесению - с подготовкой окрашиваемой поверхности - в несколько раз превышает стоимость краски. Однако без изолирующих покрытий в антикоррозионной борьбе обойтись нельзя.
Битумные эмали или мастики - широко распространенный вид покрытия подземных трубопроводов - изготавливают из смеси нефтяных битумов и различного рода наполнителей. Наносят в расплавленном при температуре 160-170 оС виде на очищенную и отгрунтованную поверхность. При этом поверх мастики еще в горячем состоянии накладывают армирующий слой стеклохолста.
Конструкция битумного покрытия подземного трубопровода определяется требованиями норм и правил в соответствии с агрессивностью грунта. Так, для некоторых сред применяют усиленное покрытие, состоящее из следующих слоев:
- битумная грунтовка;
- мастика битумно-резиновая или битумно-полимерная;
- стеклохолст;
- мастика битумно-резиновая или битумно-полимерная;
- стеклохолст;
- наружная обертка из крафт-бумаги.
Вцелом толщина усиленного покрытия около 6 мм.
Применяют и весьма усиленное покрытие толщиной 9 мм. Такое покрытие включает в себя дополнительно еще один слой мастики со стеклохолстом.
Аналогична конструкция покрытия на основе каменноугольной смолы.
Битумное и каменноугольное покрытия готовят в основном в заводских условиях, стыки труб вручную заделывают на трассе. Существуют также машины для нанесения покрытия в трассовых условиях.
Дешевизна и надежность битумных покрытий открыли им широкую дорогу примерно с 30-х годов, в то время как каменноугольные покрытия для изоляции чугунных трубопроводов известны уже более 100 лет. Но можно вспомнить, что еще при строительстве дворца царя Соломона в 980 г. до н.э. битум использовали для защиты от коррозии.
1.3.3. Электрохимическая защита
Согласившись с тем, что полностью изолировать металлическую поверхность от окружающей среды нельзя (даже, если натянуть на стальную трубу некий беспористый шланг, то как решить проблему герметизации стыков между шлангами?), коррозионная наука выдвинула альтернативный способ защиты. Способ был предложен в начале прошлого века, но, как это часто бывает, оказался не очень нужным и получил распространение лишь через 100 лет. Это - электрохимическая защита (ЭХЗ) металлических сооружений от коррозии, чему с благоговением отдана жизнь автора этой книги.
Различают четыре вида электрохимической защиты:
а) протекторную;
б) катодную;
в) электродренажную;
г) анодную.
Познакомимся с ними скорее в историческом плане, оставив фундаментальный анализ на последующие главы.
Протекторная защита
В 1824 г. Хемфри Деви предложил защитить медную обшивку корабля с помощью прикрепляемых к ней железных (или цинковых) блоков при соотношении поверхностей железа и меди 1:100. Как мы теперь понимаем, Х.Деви впервые предложил протекторную защиту - разновидность электрохимической. Действительно, скорость коррозии медных листов и крепящих их гвоздей заметно упала, но защищенная медь стала обрастать морскими организмами, заметно снизившими скорость судна и Британское Адмиралтейство отвергло эту идею. Лишь после того, как деревянные корабли с медной обшивкой были заменены стальными судами, протекторная защита- к тому же с помощью цинковых пластин - стала традиционной.
Протекторная защита - электрохимическая защита с помощью тока гальванической пары.
Современные протекторные материалы - это сплавы на основе магния или алюминия, реже - цинка. Все они отличаются от стального защищаемого сооружения своим электрохимическим потенциалом, а именно, их потенциал более электроотрицателен. Благодаря разности потенциалов в гальванической паре возникает ток, стекающий с анода (более электроотрицательного электрода) и натекающий из электролита на катод. Создание натекающего тока - цель электрохимической защиты.
Катодная защита
Позже электрический ток, необходимый для ЭХЗ, решили получать с помощью внешнего источника. Так возникла идея катодной защиты - другой разновидности электрохимической защиты, которая была практически реализована в Англии и США в 1910-1912 гг.
При катодной защите, например, подземного стального трубопровода, в качестве жертвенного анода выступает электрод-заземлитель, заложенный в землю недалеко от него. Для того, чтобы этот заземлитель работал анодом, а труба - катодом, включают внешний источник постоянного тока, причем “плюсом” - к аноду, “минусом” - к катоду. При этом в принципе безразлично, из какого материала выполнен анод, важно лишь, чтобы образовался электрический ток и чтобы этот ток был направлен из земли на трубу. Действительно, ток идет от “+” источника на заземлитель, затем в землю, из земли - на трубу и возвращается на “-” источника.
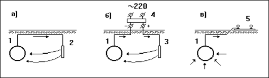
На рис.1.1 даны схемы различных видов электрохимической защиты.
![]() |
Рис.1.1. Схемы протекторной (а), катодной (б) и электродренажной (в) защиты трубопровода: 1 - трубопровод; 2 - протектор; 3 - анодный заземлитель; 4 - выпрямитель переменного тока; 5 - рельсы электротранспорта.
Электродренажная защита
Третьей разновидностью ЭХЗ является электродренажная защита, использующая в качестве катодного (натекающего) тока блуждающий ток рельсового электротранспорта. Блуждающий ток есть часть тягового тока электропоезда или трамвая. Так как рельсы являются проводником тягового тока и они не изолированы от земли, то часть тока протекает в земле недалеко от рельсов и может попасть на соседние трубопроводы. Стекающий затем с трубопровода, блуждающий ток вызывает электролитическое растворение металла. Если весь блуждающий ток отводить (дренировать) с трубопровода, то ток везде будет только натекающим, что и обеспечит эффект защиты.
Простейшая электродренажная установка - кабельная перемычка между трубопроводом и рельсами (рис.1.1,в). Величина тока в перемычке будет определяться разностью потенциалов труба-рельсы в точках их соединения. Блуждающий ток будет выполнять свои защитные функции, если потенциал рельсов меньше потенциала трубопровода. В этом случае ток по перемычке направлен из трубопровода, а не в земле.
В 1895 г. в патенте No 538755, выданному Уоткинсу, описывается, вероятно, впервые, устройство, которое сейчас мы называем электродренажом. Первые неприятности с блуждающими токами на трубопроводе были зафиксированы в 1887 г. в Бруклине вблизи новейшей трамвайной линии. Этим ознаменовалось начало эры трамвая.
Анодная защита
Если при катодной защите требуется обеспечить натекающий ток, то при анодной - наоборот. Анодная защита применяется для металлов, которые могут переходить в так называемое пассивное состояние. Это, главным образом, нержавеющие и углеродистые стали в концентрированных кислотах, щелочах и солевых растворах.
Комплексная защита
Практически во всех случаях применяют ЭХЗ совместно с защитой изоляционными покрытиями. Попытки использовать ЭХЗ для неизолированного сооружения приведут к неоправданным затратам электроэнергии и анодного матариала. Действительно, при ЭХЗ изолированного сооружения токи защиты будут распределяться лишь по трещинам и проколам в изоляции, что резко снизит затраты на электроэнергию. Токи ЭХЗ, таким образом, “залечивают раны изоляции”, которые она получает в процессе строительства и эксплуатации сооружения. К тому же в порах и трещинах изоляции при электрохимической защите образуется солевой осадок, который “пломбирует” повреждения. Именно благодаря такой дружественности повсеместно применяется комплексная защита - изоляционные покрытия в сочетании с ЭХЗ.
1.3.4. Прочие виды защиты
Ингибиторная защита
Ингибитор или замедлитель - это химическое вещество, искусственная добавка которого в агрессивную среду, причем в очень малом количестве, уменьшает скорость коррозии.
Считают, что защитное действие ингибитора связано с экранирующим эффектом адсорбированной пленки ингибирующего вещества на корродирующей поверхности. Этот барьер затрудняет ионный обмен и, следовательно, коррозионный процесс.
В лекции "25 Категории стандартов" также много полезной информации.
Ингибиторы широко применяются для защиты внутренних поверхностей трубопроводов при транспортировке агрессивных жидкостей, а также в химических производствах. В мире запатентованы тысячи химических соединений, пригодных в качестве ингибиторов в той или иной коррозионной среде.
Дэаэрация воды
Этот способ защиты основан на факте, что при уменьшении содержания кислорода в воде ее агрессивность падает.
Кислород удаляется из воды либо химически, либо паровой или вакуумной деаэрацией. В паровых деаэраторах кислород выпаривают в тонких слоях воды или в брызгах на нагретых паром поверхностях. Полученная горячая вода далее используется в водяных котлах или в системе горячего водоснабжения, благоприятно действуя на коррозию внутренних поверхностей трубопроводов.
В вакуумных дэаэраторах обескислороживается холодная вода путем понижения давления с помощью в пароструйных насосов. При этом удаляются и другие растворенные в воде газы.
Антикоррозионная защита стали в горячей воде имеет место при концентрации кислорода в ней не более 0,1 мг/л, что обеспечивается стандартным деаэраторам. Кстати, концентрация кислорода в воде в нормальных условиях может достигать 20 мг/л.






















