Основы проектирования машин
Первичные данные

Рис 1. Первичные данные эскиза редуктора
РГР №1. Общий расчет привода. Расчет червячной передачи верхним расположением червяка. Эскиз редуктора. Расчет цепной передачи
Из имеющихся данных:
Ррм =14кВт; Рдв =17,74кВт;
3=
(1/c); 
По предложенным данным найдем:
T=P/
или Т2=Т1*U* з
Для значений первого вала: T1= Рдв /
,
Рекомендуемые материалы
где Рдв – расчетная мощность двигателя, Вт.
T1=18000/76= 234 (Н*м)
Для значений второго вала:
Т2=Т1Uч
зред
зред - КПД редуктора
зред=0,83* 0,992 =0,8
Т2=233,98
20
0,8= 3804, 5(Н
м)
2=
1 / Uч=76/20= 3,9 (1/c);
Для значений транспортера или третьего вала и его расчетов и измерений показателей:

Общее количество числа зубьев червячного колеса составляет
Z2 = U
Z1
Z2 = 2
=20
Скорость скольжения зависит прежде всего от марки того или иного червячного колеса.
Таким образом, первым этапов расчета будет определение скорости скольжения:
Us=
Us=
Следующим этапом действий будет расчет контактного напряжения или межосевого расстояния: 
а=
а=
=0,3532(м)=353,2(мм)
Последним этапом червячного расчета является определение диаметра червяка
q=Z2/4
q=20/4=5
m=2353,2/(5+10)=117660(мм)
Уточним межосевое расстояние в соответствии с расчетами диаметра:
a=0,5
m
(q+Z2)
а=0,5
14
(5+20)=175(мм)
Таким образом, редуктор не может быть использован в массовом производстве, так как его значения слишком малы.
Выполним расчет цепной передачи (КПД передачи)

Эквивалентное число зуба определено следующим образом:
[№3 с.186]
=42,5
Коэффициент формы зуба составляет:

Поле определения размеров выполним эскиз в соответствии с длинами, расчетами и прочими показателями эскиза редуктора.

Рис 1.1 Эскиз редуктора




.[1]
РГР №2. Расчет и конструирование вала с подбором подшипников и выполнение рабочего чертежа этого вала
Из предыдущих расчетов имеем:
(H),
(H),
(H),
,
,
.
По условию выполним проверку подшипников:
, где 
С – динамическая грузоподъемность

Рис. 2.1 Диаметр подшипника

Рис. 2.2 Конструирование вала. Часть подшипника
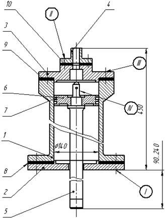
РГР №3. Выполнение на эскизе резьбовых соединений редуктора

Рис 3.1 Эскиз резьбового соединения редуктора
Таблица 3.1
Обозначения выполненного эскиза рис. 3.1
| Поз. | Наименование | Кол. |
| 1 | Корпус | 1 |
| 2 | Крышка | 1 |
| 3 | Крышка верхн. | 1 |
| 4 | Горловина | 1 |
| 5 | Шток | 1 |
| 6 | Поршень | 1 |
| 7 | Кольцо уплот. | 2 |
| 8 | Прокладка | 1 |
| 9 | Прокладка | 1 |
| 10 | Прокладка | 1 |
Заключение
Работа состоит из трех заданий и охватывает основные понятия и практику по курсу «Основы проектирования машин»[2]. Было получено:
1) Расчет привода
2) Расчет червячной передачи
3) Расчет цепной передачи
4) Эскиз редуктора
5) Расчет и конструирование вала с подбором подшипников
Вместе с этой лекцией читают "2 Вхождение Республики Казахстан в международное сообщество".
6) Выполнены резьбовые соединения редуктора
Список использованной литературы
1. Допуски. Справочник. В 4-х ч. 9-е изд., перераб. и доп.- М.: Машиностроение, 2007 – 145 стр.
2. Бушманов Н.С. Машиностроение и разработка основ проектирования. - М: Издательство ГСХА, 2004 – 54 стр.
[1] Допуски . Справочник. В 4-х ч. 9-е изд., перераб. и доп.- М.: Машиностроение, 2007
[2] Бушманов Н.С. Машиностроение и разработка основ проектирования. - М: Издательство ГСХА, 2004






















