Электромагниты постоянного тока
Электромагниты постоянного тока
Электромагнитными называются устройства, предназначенные для создания в определенном пространстве магнитного поля с помощью обмотки, обтекаемой электрическим током.
В нейтральных электромагнитах постоянного тока рабочий магнитный поток создается с помощью обмотки постоянного тока. Действие таких электромагнитов, в отличие от поляризованных, не зависит от направления тока в обмотке, они наиболее экономичны и благодаря разнообразию конструктивных исполнений их легко приспосабливать в различных конструкциях к различным условиям работы. Поэтому они получили наибольшее распространение.
Таблица 1.1
| Исполнение для макроклима- тических районов | Обозначения | ||
| буквенное | |||
Рекомендуемые материалыFREE Маран Программная инженерия Техническое задание -14% Помогу вам сдать - КМ-2. Методики к описанию архитектуры предприятия. Контрольная работа КМ-2. Расчет тарифа на теплоту. Контрольная работа. Вариант 10 -76% Исследование характеристик источника постоянного тока КМ-2. Технология, методы обработки и хранения экономической информации. Контрольная работа русские | латинские | ||
| С умеренным климатом С умеренным и холодным кли- матом С влажным тропическим кли- матом С сухим тропическим климатом С сухим и влажным тропичес- ким климатом Для всех макроклиматических районов на суше, кроме рай- она с очень холодным клима- том (общеклиматическое ис- полнение) | У УХЛ ТВ ТС Т О | (N) (NF) ( ТН) (ТА) (Т) (V) | 0 1 2 3 4 5 |
Таблица1.2
| Категории размещения для эксплуатации | Обозначение |
| На открытом воздухе Под навесом или в помещениях (объемах), где колеба- ния температуры и влажности несущественно отлича- ются от их колебаний на открытом воздухе и имеется сравнительно свободный доступ наружного воздуха В закрытых помещениях (объемах) с естественной вен- тиляцией без искусственно регулируемых климатичес- ких условий, где колебания температуры и влажности воздуха и воздействие песка и пыли существенно мень- ше, чем на открытом воздухе В помещениях (объемах) с искусственно регулируемы- ми климатическими условиями В помещениях (объемах) с повышенной влажностью (на- пример, в неотапливаемых и невентилируемых подзем- ных помещениях, в том числе шахтах, подвалах, в поч- ве и др.) | 1 2 3 4 5 |
Значительную часть электромагнитов постоянного тока составляют электромагнитные механизмы, использующиеся в качестве привода для осуществления необходимого перемещения.
Примером подобных электромагнитов являются: тяговые электромагниты, предназначенные для совершения механической работы при перемещении их рабочих органов, электромагниты муфт сцепления и торможения и тормозные электромагниты; электромагниты, приводящие в действие контактные устройства в контакторах, пускателях, автоматических выключателях; электромагниты реле, регуляторов и других чувствительных устройств автоматики.
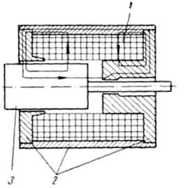
При всем разнообразии электромагнитов отдельные их узлы имеют общее назначение (рис.1.1):
катушка с расположенной на ней намагничивающей обмоткой 1; неподвижная часть магнитопровода из ферромагнитного материала 2; подвижная часть магнитопровода — якорь 3.
Якорь отделяется от остальных частей магнитопровода рабочим и паразитным зазорами и представляет собой часть электромагнита, которая, воспринимая электромагнитное усилие, передает его соответствующим деталям приводимого в действие механизма.
В зависимости от расположения якоря относительно остальных частей электромагнита и характера воздействия на якорь со стороны магнитного потока электромагниты постоянного тока разделяются на следующие типы: электромагниты с втягивающимся якорем, с внешним притягивающимся якорем и с внешним поперечно движущимся якорем.
Одна из типичных конструкций электромагнита с втягивающимся якорем показана на рис.1. Характерной особенностью таких электромагнитов электромагнитов является то, что якорь, или, как его в данном случае можно назвать, подвижный сердечник, располагается целиком или частично внутри катушки с обмоткой. В процессе срабатывания электромагнита якорь, перемещаясь поступательно, погружается в катушку. Втягивание якоря происходит как за счет магнитного потока, проходящего через торцевую поверхность якоря, так и за счет действия магнитных потоков, выходящих из его боковой поверхности.
На рис. 5.2 изображена одна из разновидностей электромагнитов с внешним притягивающимся якорем. У этих электромагнитов якорь расположен снаружи по отношению к катушке. На него действует главным образом рабочий магнитный поток, проходящий от якоря к торцу шляпки сердечника. В результате этого якорь поворачивается в пределах малого угла или совершает поступательное перемещение в направлении линии индукции рабочего магнитного потока.

Рис.1.1. Электромагнит с втягивающимся якорем
Конструкция электромагнита с внешним поперечно движущимся якорем показана на рис. 5.3. Якорь в подобных электромагнитах

также располагается снаружи катушки. Рабочий магнитный поток, действующий на якорь, проходит из его боковой поверхности к полюсным наконечникам, имеющим особую форму, определенным способом согласованную с формой боковой поверхности якоря. В результате воздействия со стороны рабочего магнитного потока якорь движется поперек магнитных линий, поворачиваясь на некоторый ограниченный угол.
Рис.1.2. Электромагнит с внешним притягивающимся якорем
Обратите внимание на лекцию "13. Ионизирующее излучение".
![]() |
Рис.1.3. Электромагнит с внешним поперечно-движущимся якорем
В каждой из трех перечисленных групп электромагнитов постоянного тока в свою очередь имеется ряд конструктивных разновидностей, определяемых конструкцией магнитной цепи. Кроме того, в зависимости от способа включения обмотки электромагнита различают электромагниты с обмотками параллельного включения и с обмотками последовательного включения.
В первом случае обмотка выполняется таким образом, что ее включают на полное напряжение источника питания непосредственно или через добавочное сопротивление. Ток в цепи обмотки параллельного включения полностью, или в значительной степени, определяется ее параметрами.
Обмотка последовательного включения практически не влияет на величину тока той цепи, в которую она включается. Последний определяется параметрами остальных элементов цепи. Благодаря этим особенностям некоторые характеристики электромагнитов параллельного и последовательного включений, в первую очередь их динамические характеристики, оказываются различными.
Наконец, электромагниты могут различаться по скорости их срабатывания.
























