Силы сопротивления движению автомобиля
Лекция 2. Силы сопротивления движению автомобиля
План лекции
2.1. Показатели тягово-скоростных свойств
2.2. Силы, действующие на автомобиль при движении
2.3. Мощность и момент, подводимые к ведущим колесам
2.1. Показатели тягово-скоростных свойств
Тягово-скоростные свойства имеют большое значение при эксплуатации автомобиля, так как от них во многом зависят его средняя скорость движения и производительность. При благоприятных тягово-скоростных свойствах возрастает средняя скорость, уменьшаются затраты времени на перевозку грузов и пассажиров, а также повышается производительность автомобиля.
Основными показателями, позволяющими оценить тягово-скоростные свойства автомобиля, являются:
• максимальная скорость vmax, км/ч;
• минимальная устойчивая скорость (на высшей передаче) vmin, км/ч;
• время разгона (с места) до максимальной скорости tp, с;
Рекомендуемые материалы
• путь разгона (с места) до максимальной скорости Sp, м;
• максимальные и средние ускорения при разгоне (на каждой передаче) jmax и jср, м/с2;
• максимальный преодолеваемый подъем (уклон) на низшей передаче и при постоянной скорости imах, %;
• длина динамически преодолеваемого подъема (с разгона) Sj, м;
• максимальная сила тяги на крюке (на низшей передаче) Рс, Н.
В качестве обобщенного оценочного показателя тягово-скоростных свойств автомобиля можно использовать среднюю скорость непрерывного движения vcp, км/ч. Она зависит от условий движения и определяется с учетом всех его режимов, каждый из которых характеризуется соответствующими показателями тягово-скоростных свойств автомобиля.
2.2. Силы, действующие на автомобиль при движении
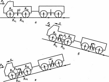
При движении на автомобиль действует целый ряд сил, которые называются внешними. К ним относятся (рис. 3.1) сила тяжести G, силы взаимодействия между колесами автомобиля и дорогой (реакции дороги) RXl, RX2, RZt, RZ2 и сила взаимодействия автомобиля с воздухом (реакция воздушной среды) Рв
Рв.
Рис. 2.1. Силы, действующие на автомобиль с прицепом при движении: а — на горизонтальной дороге; б — на подъеме; в — на спуске
Одни из указанных сил действуют в направлении движения и являются движущими, другие — против движения и относятся к силам сопротивления движению. Так, сила RX2 на тяговом режиме, когда к ведущим колесам подводятся мощность и крутящий момент, направлена в сторону движения, а силы RX1 и Р,- против движения. Сила Рп — составляющая силы тяжести — может быть направлена как в сторону движения, так и против в зависимости от условий движения автомобиля — на подъеме или на спуске (под уклон).
Основной движущей силой автомобиля является касательная реакция дороги RX2 на ведущих колесах. Она возникает в результате подвода мощности и крутящего момента от двигателя через трансмиссию к ведущим колесам.
2.3. Мощность и момент, подводимые к ведущим колесам
автомобиля
Рекомендация для Вас - 1.5 Оснастка для производства цельноформованной обуви.
В условиях эксплуатации автомобиль может двигаться на различных режимах. К этим режимам относятся установившееся движение (равномерное), разгон (ускоренное), торможение (замедленное) и накат (по инерции). При этом в условиях города продолжительность движения составляет приблизительно 20 % для установившегося режима, 40 % — для разгона и 40 % — для торможения и наката.
При всех режимах движения, кроме наката и торможения с отсоединенным двигателем, к ведущим колесам подводятся мощность и крутящий момент. Для определения этих величин рассмотрим схему, представленную на рис. 3.2.
Здесь Ne — эффективная мощность двигателя; Nтр— мощность, подводимая к трансмиссии; Nкол — мощность, подводимая к ведущим колесам; Jм — момент инерции маховика (под этой величиной условно понимают момент инерции всех вращающихся частей двигателя и трансмиссии: маховика, деталей сцепления, коробки передач, карданной передачи, главной передачи и др.).
При разгоне автомобиля определенная доля мощности, передаваемой от двигателя к трансмиссии, затрачивается на раскручивание вращающихся частей двигателя и трансмиссии. Эти затраты мощности

Рис. 2.2. Схема для определения мощности и крутящего момента, подводимых от двигателя к ведущим колесам автомобиля: Д - двигатель; М — маховик; Т — трансмиссия; К — ведущие колеса

























