Промысловые трубопроводы
Лекция 38
Тема: Разработка газовых и газоконденсатных месторождений.
План: 1. Промысловые трубопроводы.
2. Сепарация нефти.
1. Промысловые трубопроводы.
КЛАССИФИКАЦИЯ ПРОМЫСЛОВЫХ ТРУБОПРОВОДОВ
Промысловые трубопроводы — это капитальные инженерные сооружения, рассчитанные на длительный срок эксплуатации и предназначенные для бесперебойной транспортировки природного газа, нефти, нефтепродуктов, воды и их смесей от мест их добычи (начальная точка трубопровода до установок комплексной подготовки и далее к местам врезки в магистральный трубопровод или для подачи на другой вид транспорта — железнодорожный, речной, морской.
Основной составляющей промыслового трубопровода является линейная часть — непрерывная нить, сваренная из отдельных труб или секций и уложенная в траншею тем или иным способом.
Линейная часть трубопровода прокладывается в разнообразных топографических, геологических, гидрогеологических и климатических условиях. Вдоль трассы трубопроводов встречаются участки с грунтами малой несущей способности, а также болотистые участки, участки многолетнемерзлых и скальных грунтов и др. Кроме того, трубопроводы пересекают значительное число естественных и искусственных препятствий (реки, озера, железные и шоссейные дороги), требующих соответствующих конструктивных решений, которые обусловлили бы как надежную работу трубопровода, так и беспрепятственную эксплуатацию пересекаемых искусственных сооружений по их прямому назначению.
Рекомендуемые материалы
В настоящее время существуют следующие принципиально различные конструктивные схемы прокладки промысловых трубопроводов: подземная, наземная и надземная, а также редко используемая прокладка в каналах и коллекторах. Выбор той или иной схемы прокладки (определяется условиями строительства и окончательно принимается на основании технико-экономического сравнения различных вариантов
При подземной и наземной прокладке трубопроводы обычно засыпают минеральным грунтом. Специально обработанные грунты при засыпке трубопроводов применяют с целью: предотвращения смерзания изоляции с грунтом; обеспечения устойчивости трубопровода против всплытия на участках с высоким уровнем грунтовых вод; деаэрации электролита почвы; нейтрализации грунта кислотами или щелочами; уменьшения опасности биокоррозии путем обработки различными химикатами; замены грунта на менее кор-розионноагрессивный; теплоизоляции трубопровода и обеспечения гидрофобизации.
Обеспечение устойчивости трубопровода закрепленными, гид-рофобизированными грунтами не является универсальным способом, однако за счет своих достоинств — невысокой стоимости, возможности использования для приготовления грунтово-вяжущей смеси обычных минеральных грунтов — он предоставляет проектировщикам и строителям трубопроводов дополнительные возможности по выбору оптимального способа балластировки, увеличивает число возможных вариантов, что в конечном итоге сказывается на темпах и стоимости строительства [35, 140].
Закрепление трубопровода грунтом производят отдельными перемычками или сплошным слоем, размеры которых определяют при помощи соответствующих расчетов с учетом диаметра трубопровода, физико-механических свойств грунта, размеров траншеи. Предпочтительнее использовать сплошной слой закрепленного грунта.
При закреплении грунтов в него добавляют вяжущее вещество для трубопроводов ВМТ летней и зимней модификации, представляющее собой остаток термического крекинга гудрона нефти с легким газойлем коксования и нефтяным битумом, выпускаемым по ТУ 0258-001 -02080196 - 2000.
Целью деаэрации электролита почвы является снижение концентрации растворенного кислорода воздуха как агрессивного реагента, участвующего в катодной и анодной реакциях и значительно увеличивающего скорость коррозии металла.
Уменьшение опасности биокоррозии достигают путем добавления в засыпаемый грунт различных ядохимикатов, например извести, являющейся наиболее дешевым материалом. Высокое значение рН препятствует росту сульфатвосстанавливающих бактерий. Поэтому используют специальные засыпки, создающие высокое значение рН вокруг трубы.
Гидрофобизация грунтов применяется для защиты изоляции трубопроводов от механических повреждений, вредного воздействия окружающей среды и приводит к замедлению процесса ее старения. Под термином "гидрофобизированные" подразумеваются грунты, обработанные вяжущими продуктами и имеющие повышенную водостойкость, водонепроницаемость, низкую коррозионную активность и газопроницаемость
Замену грунта на менее агрессивный осуществляют с целью уменьшения коррозионной активности грунта, т. е. улучшения его физико-механических свойств. С этой целью проводят нейтрализацию грунта кислотами и щелочами.
Наземные схемы прокладки преимущественно используются в сильно обводненных и заболоченных районах при высоком уровне грунтовых вод и очень малой несущей способности верхнего слоя грунта, на солончаковых грунтах, при наличии подстилающих скальных пород, а также при пересечении с другими коммуникациями.
При наземной прокладке верхняя образующая трубопровода располагается выше отметок дневной поверхности, а нижняя образующая — ниже, на уровне или выше дневной поверхности. Для уменьшения объема насыпи и увеличения устойчивости трубопровода в горизонтальной плоскости (особенно на криволинейных участках) рекомендуется проектировать прокладку трубопровода в неглубокую траншею глубиной 0,4 — 0,8 м с последующим сооружением насыпи необходимых размеров. При всех ее преимуществах недостатком является слабая устойчивость грунта насыпи и необходимость устройства большого числа водопропускных сооружений.
Надземную прокладку трубопроводов или их отдельных участков [144, 193, 200] рекомендуется применять в пустынных и горных районах, в болотистых местностях, в районах горных выработок, оползней и в районах распространения многолетней мерзлоты, а также на переходах через естественные и искусственные препятствия. При надземной прокладке сводится к минимуму объем земляных работ, отпадает необходимость в дорогостоящей пригрузке и в устройстве защиты от почвенной коррозии и блуждающих токов. Однако надземная прокладка имеет недостатки: загроможден-ность территории, необходимость устройства опор, специальных проездов для техники и миграции животных и значительную подерженность трубопровода суточным и сезонным колебаниям температуры, что требует принятия специальных мер.
В каналах и коллекторах прокладывают водоводы, теплопроводы, трубопроводы для перекачки высоковязких и застывающих нефтей, в том числе с путевым подогревом, а также трубопроводы в вечномерзлых грунтах. Для сокращения тепловых потерь стенки каналов изготавливают из теплоизоляционных материалов
Приведем классификацию промысловых трубопроводов:
По виду перекачиваемого продукта:
нефтепроводы;
газопроводы;
нефтегазопроводы;
метанолопроводы;
конденсатопроводы;
ингибиторопроводы;
водопроводы;
паропроводы;
канализационные.
По назначению:
самотечные;
напорные;
смешанные.
По рабочему давлению:
низкого (до 0,6 МПа);
среднего (до 1,6 МПа);
высокого (свыше 1,6 МПа) давления.
По способу прокладки:
подземные;
наземные;
надземные;
подводные.
По функции:
выкидные (от устьев скважин до групповой установки);
сборные коллекторы (принимающие продукцию от нескольких трубопроводов);
товарные (транспортирующие товарную продукцию).
По способу изготовления:
сварные;
сборные.
По форме расположения:
линейные (сборный коллектор представляет собой одну линию);
кольцевые (сборный коллектор представляет собой замкнутую кольцевую линию);
лучевые (сборные коллекторы сходятся лучами к одному пункт
По материалу:
стальные;
чугунные;
полимерные;
стеклопласгиковые;
полимерметаллические;
комбинированные.
По изоляционным покрытиям:
внешняя;
внутренняя;
без изоляции.
На нефтяных месторождениях наиболее распространены трубопроводы диаметром от 75 до 350 мм, на газовых месторождениях используются трубопроводы диаметром до 1420 мм.
Состав промысловых трубопроводов
На нефтяных месторождениях применяют такие виды трубопроводов, как [171, 200]:
выкидные — прокладывают от нефтяных скважин, за исключением участков, расположенных на кустовых площадках скважин (на кустах скважин), для транспортировки продуктов скважин до замерных установок;
нефтегазосборные — для транспортировки продукции нефтяных скважин от замерных установок до пунктов первой ступени сепарации нефти (нефтегазопроводы);
газопроводы для транспортировки нефтяного газа от установок сепарации нефти до установки комплексной подготовки газа, установки предварительной подготовки газа или до потребителей;
нефтепроводы для транспортировки газонасыщенной или разгазированной обводненной или безводной нефти от пункта сбора нефти и дожимной компрессорной станции до центрального пункта сбора;
газопроводы для транспортировки газа к эксплуатационным скважинам при газлифтном способе добычи;
газопроводы для подачи газа в продуктивные пласты с целью увеличения нефтеотдачи;
трубопроводы систем заводнения нефтяных пластов и систем захоронения пластовых и сточных вод в глубокие поглощающие горизонты;
нефтепроводы для транспортировки товарной нефти от центрального пункта сбора до сооружения магистрального транспорта;
газопроводы для транспортировки газа от центрального пункта сбора до сооружения магистрального транспорта газа;
ингибиторопроводы для подачи ингибиторов к скважинам
2. Сепарация нефти.
Нефтегазовые сепараторы (НГС) предназначены для дегазации нефти на различных ступенях сепарации и очистки попутного нефтяного газа на нефтегазодобывающих предприятиях. Нефтегазовые сепараторы со сбросом пластовой воды модернизированные (НГСВМ-А) предназначены для разделения продукции скважин на нефть, газ и воду. Блоки сепарационные для нефти с высоким газовым фактором (СБВГ) предназначены для разделения газожидкостной смеси на газ, нефть и воду в нефтедобывающих предприятиях
Для стабилизации нефти на промыслах используют в основном метод сепарации. Сосуд, в котором происходит отделение газа от нефти, называют сепаратором. В сспарационных установках происходит и частичное отделение воды от нефти. Применяемые сепараторы можно условно подразделить на следующие основные типы: по принципу действия — гравитационные, центробежные (гидроциклонные), жалюзийные, ультразвуковые и др.; по геометрической форме н по- ложению в пространстве — сферические, цилиндрические, вертикаль- ные, горизонтальные и наклонные; по рабочему давлению — высо- кого давления (более 2,5 МПа) среднего (0,6—2,5 МГЦ), низкого (0—0,6 МПа), вакуумные; по назначению — замерные и рабочие; по месту положении в системе сбора — I, II, концевой ступеней сепарации.
В сепараторах любого типа по технологическим признакам различают четыре секции: I —основную сепарацмонную, в которой происходит отделение газа от нефти; II — осадительную, предназначенную для выделения пузырьков газа, увлеченных нефтью из сепарационной секции, III —секцию отбора нефти, служащую для сбора и отвода нефти из сепаратора; IV - - каплеуловительную, находящуюся в верхней части аппарата и служащую для отвода газа и улавливания капельной нефти, уносимой потоком газа.
Эффективность работы аппаратов характеризуется количеством жидкости, уносимой газом, н количеством газа, оставшегося в нефти после сепарации. Чем ниже эти показатели, тем более эффективна работа аппарата.
Конструктивные особенности промысловых сепараторов
В вертикальном цилиндрическом гравитационном сепараторе (рис. 3.3) газонефтяная смесь через патрубок поступает в раздаточный коллек- тор н через щелевой выход попадает в основную сепарационную сек- цию. В осадительной секции из нефти при ее течении по наклонным плоскостям происходит дальнейшее выделение окклюдированных пузырьков газа. Разгазнрованная нефть поступает в секцию сбора нефти, из которой через патрубок отводится из сепаратора. Газ, выделившийся из нефти на наклонных плоскостях, попадает в капле- уловительную секцию, проходит через жалюзийную насадку и по трубопроводу выходит из сепаратора. Капли нефти, захваченные потоком газа и неуспевающие осесть под действием силы тяжести, в жалюзийиых решетках прилипают к стенкам и стекают но дренажной трубке в секцию отбора нефти.

Рис. 3.3. Вертикальный сепаратор:
1 — корпус; 2 — поплавок; 3 — дренажная трубка; 4 — наклонные плоскости; 5 — патрубок для «вода гаэожнд костной снеси; 6 — регулятор давления «до себя»; 7 — выход газе;9 — перегородив для выравнивании скорости тала; 9 — жалюэнйная насадив; 10 — регулятор уровня; 11 — патрубок для сброса нефти; 12 — сброс грязи; 13 — раздаточный ноллектор: 14 — люк; 15 — заглушка; секции:I — сепарацноииаи; II— осадителькаи; III— отбора нефти; IV — квплеуловнтсльная

Рис. 3.4. Гидроциклонный двухъемкостный сепаратор:
1— тангенциальный ввод газонефтяной смеси; 2 — головка гидроциклопа. Л — отбойный козырек газа; 4 — направляющий патрубок; 5 — верхняя емкость сепаратора; 6 —перфорированные сетки для улавливания капильной жидкости; 7 — жалюзийнаи насадка; 8 — отвод газа; 9 — нижняя емкость гидроцнклона; 10 — дренажная трубка; 11 —уголковые разбрызгиватели; 12 — направляющая полка; 13 — перегородка; 14 — исполнительный механизм
Гидроцнклонный диухьеыкостный сепаратор (рис. 3.4) применяют на промыслах для работы на I ступени сепарации. Газонасыщенная нефть через тангенциальный ввод поступает в гидроцнклонную головку, где за счет центробежных сил происходит разделение нефти и газа на самостоятельные потоки. В верхнюю емкость нефть и газ поступают раздельно. Нефть по направляющей полке стекает на уголковый разбрызгиватель, и котором поток нефти разбивается на отдельные струн и происходит дальнейшее выделение газа. По сливной полке разгаэнрованнан нефть собирается в нижней емкости гидроциклона. При достижении определенного объема нефти в нижней емкости поплавковый регулятор уровня через исполнительный механизм, направляет дегазированную нефть в отводной трубопровод. Газ, отделившийся от нефти в дегазаторе, проходит в верхней емкости перфорированные перегородки, где происходит выравнивание скорости газа и частичное выпадание жидкости. Окончательная очистка газа происходит в жалюзийной насадке 7. Отделенная от газа жидкость по дренажной трубке 10 стекает в нижнюю емкость 9.
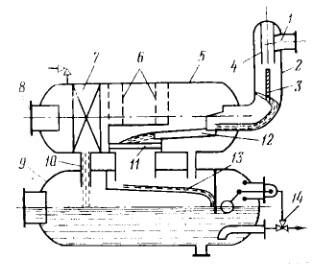
Падение давления в сборных коллекторах в результате движения по ним газонефтяной смеси может приводить к частичному выделению газа из нефти. В этом случае в сепарацнонную установку можно подавать разделенными потоками газ н нефть. Такой принцип использован на блочных сснарацнонных установках с предварительным отбором газа (рис. 3.5). Галожилкостная смесь от скважин поступает в устройство предварительного отбора газа, которое расположено на наклонном участке подводящего трубопровода. Устройство предварительного отбора газа представляет собой отрезок подводящего трубопровода значительно большего диаметра, чем основная подводящая линия, установленный под углом 3 -4° к горизонту, с приваренной вертикально газоотводной вилкой, соединенной трубопроводом с каплеуловнтсльной секцией.

Рис. 3.5. Сепаратор с предварительным отбором газа и жалюзииными насадками:
I — подводящий трубопровод; 3 —пилка дли предварительного отбора галл; 3 — каплеуловитель (сепаратор газа); 4 — жалюзнйные насадки; 5 — газопровод с регулятором давлении «до себя»; 6 — предохранительный клапан: 7 — корпус сепаратора; 8 — поплавок; 9 — пеногаентели; 10 — наклонные полки; 11 — Диффузор
Предварительно отобранный газ проходит через каплеуловитель, где в жалюзийных насадках отделяется от капельной влаги. Нефть вместе с газом, не успевшим выделиться из нефти и не попавшим в газоотводную вилку, поступает в технологическую емкость, в которой па диффузоре и наклонных полках скорость потока снижается и происходит интенсивное разгазнрование. Выделившийся в технологической емкости газ также проходит через каплеуловитель.
Разработано и применяется большое число аппаратов для разгазирования н частичного обезвоживания нефти перед подачей ее на установку товарной подготовки нефти. Такие установки позволяют уменьшить объем воды, поступающей в сепараторы-деэмульгаторы, что приводит к снижению затрат на подогрев и обработку водонефтяной эмульсии.

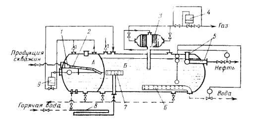
Рис. 3.6. Технологическая схема установки УПС-3000/6
Рассмотрим работу установок предварительного сброса воды на примере УПС-3000/6 (рис. 3.6). Продукция скважины поступает в отсек А через сопло 1, и на нефтсрязливной полке 2 происходит выделение основпого объема газа из жидкой фазы. Газ из отсека А через регулятор уровня 9 перепускается в отсек Б. С помощью регулятора давления 4 поддерживается перепад давления (до 0,2 МПа) между отсеками А и Б, благодаря которому водонсфтяная эмульсия после смешения в каплеобразователс 8 с горячей водой поступает через входной распределитель 7 в отсек Б. Горячая вода поступает после установок термохимической подготовки нефти и содержит остаточный деэмульгатор. Из отсека Б газ отводится через каплеотстонннк 3, нефть — через штуцер 5, вода — через перфорированный трубопровод 6.
Контрольные вопросы:
1. На какие виды делятся промысловые трубопроводы?
2. Что Вы понимаете под сепарацией?
3. Что такое промысловые трубопроводы?
4.Расскажите конструктивные особенности вертикального сепаратора
Литература
1. Баграмов Р.А. Буровые машины и комплексы: Учеб. для вузов. — М.: Недра,1988. — 501 с.
2. Басарыгин Ю.М., Булатов А.И., Проселков Ю.М. Заканчивание скважин: Учеб. пособие для
вузов. — М: ООО «Недра-Бизнесцентр», 2000. — 670 с.
Люди также интересуются этой лекцией: 5. Схема управления системой «водитель-автомобиль-дорога-среда» .
3. Басарыгин Ю.М., Булатов А.И., Проселков Ю.М. Осложнения и аварии при бурении нефтяных
и газовых скважин: Учеб. для вузов. — М.: ООО «Недра-Бизнесцентр», 2000. —679 с.
4. Басарыгин Ю.М., Булатов А.И., Проселков Ю.М. Технология бурения нефтяных и газовых
скважин: Учеб. для вузов. — М.: ООО «Недра-Бизнесцентр», 2001. — 679 с.
5. Болденко Д.Ф., Болденко Ф.Д., Гноевых А.Н. Винтовые забойные двигатели. — М.:Недра,
1999. — 375 с






















