Литература
Литература
1. Бухаленко Е.И. и др. Техника и технология промывки скважин.- М.: Недра, 1982.- 197 с.
2. Молчанов А.Г., Чичеров Л.Г. Нефтепромысловые машины и механизмы.- М.: Недра, 1976.- 328 с.
3. Справочник мастера по добыче нефти. Баку.- Азнефтеиздат, 1952.- 424 с.
4. Акулышин А.Н. и др. Эксплуатация нефтяных и газовых скважин.- М.: Недра, 1889 г. 480 с.
5. Оборудование и инструменты для ремонта нефтяных скважин. Крец В.Г., Шмурыгин В.А. и др.- Томск: Изд. ТПУ, 1996. 72 с.
6. Ишмурзин А. А. Машины и оборудование системы сбора и подготовки нефти, газа и воды.- Уфа: Изд. Уфимск. Нефт. ин-та, 1981.- 90 с.
7. Нефтепромысловое оборудование. Комплект Каталогов. Крец В.Г., Кольцов В.А., Лукьянов В.Г., Саруев Л.А. и др.- Томск: Изд. ТПУ, 1997.-822 С.
8. Крец В.Г. Разработка и эксплуатация нефтяных и газовых местрождений. Уч. пособ. Томск: Изд. ТПУ, 1992.- 112 с.
ПРИЛОЖЕНИЕ 1

Рекомендуемые материалы
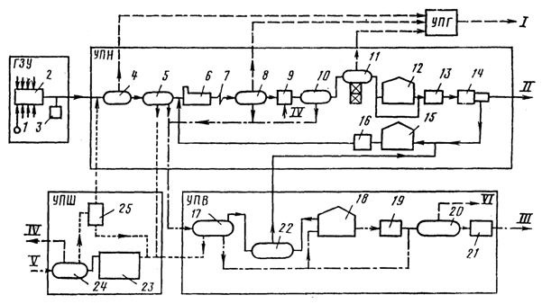
Рис. 77. Унифицированная технологическая схема комплекса сбора и подготовки нефти, газа и воды нефтедобывающего района:
1 – скважина; 2 – автоматизированная групповая замерная установка; 3 – блок подачи деэмульгатора; 4 – сепаратор I ступени; 5 – отстойник предварительного сброса воды; 6 – печь для нагрева эмульсии; 7 – каплеобразователь; 8 – отстойник глубокого обезвоживания и II ступени сепарации; 9 – смеситель для ввода пресной воды; 10 – электродегидратор для обессоливания; 11 ‑ сепаратор III (горячей) ступени сепарации; 12 – резервуар товарной нефти; 13; 16; 19 – насос; 14 – автомат по измерению количества и определению качества товарной нефти; 15 – резервуар некондиционной нефти; 17 – блок очистки воды; 18 – резервуар очищенной воды; 20 – блок дегазатора воды с насосом; 21 – узел замера расхода воды; 22 – блок приема и откачки уловленной нефти; 23 – емкость-шламонакопитель; 24 – блок приема и откачки стоков; 25 ‑ мультигидроциклон для отделения от стоячей (дождевой) воды механических примесей;
Рекомендация для Вас - Порядок согласования, регистрации проектов газификации.
I - товарный нефтяной газ; II - товарная нефть; III - очищенная вода на КНС; IV – пресная вода; V ‑ промысловые ливневые стоки; VI - газ на свечу.
Узлы - установки: ГЗУ - замера продукции скважин;
УПГ - подготовки газа;
УПН - подготовки нефти;
УПВ - подготовки воды;
УПШ - подготовки шлама или механических примесей.




















