Ловильный, режущий и вспомогательный инструменты
8.5. Ловильный, режущий и вспомогательный инструменты
Инструменты предназначенные для ловли (захвата) и извлечения из скважины бурильных и НКТ, штанг, тартального каната, каротажного кабеля и других элементов оборудования, называют ловильными. Конструкции их чрезвычайно разнообразны.
Универсальный эксплуатационный метчик МЭУ предназначен для захвата с последующим извлечением оставшейся в скважине колонны насосно-компрессорных труб, оканчивающихся муфтой, путем врезания ввинчиванием во внутреннюю поверхность трубы и муфты.
Ловильная резьба универсального метчика — специального профиля, конусностью 1:8.
Выпускается с правой и левой резьбой.
Специальный эксплуатационный метчик МЭС (рисунок 57) предназначен для захвата с последующим извлечением оставшейся в скважине колонны насосно‑компрессорных труб (гладких и высаженных), оканчивающихся муфтой, путем врезания ввинчиванием в резьбу муфты.

Рисунок 57 — Ловильные метчики
а) универсальный типа МЭУ; б) специальный типа МЭС
1 — присоединительная резьба; 2 — ловильная резьба.
Рекомендуемые материалы
Ловильная резьба метчиков с профилем и размерами резьбы соответствующей насосно-компрессорной трубы, конусностью 1:16.
Техническая характеристика метчиков типа МЭУ
Таблица 15
| Типоразмер мечика | Условный диаметр ловильных труб, мм (ГОСТ 633‑80) | Условный диа-метр колонны обсадных труб, в которой производится ловля, мм | Гру-зоподъем-ность, т | Присое-дини-тельная резьба, (замко-вая) | Основные размеры, мм | Масса, кг | |||
| d | d | D | L | ||||||
| МЭУ 36-60 МЭУ 36-60Л | 48; В48 | 114 ¸ 168 | 30 | 3 ¸ 50 | 36 | 60 | 65 | 370 | 6.5 |
| МЭУ 46-801 МЭУ 46-80Л | 60; В60 73; В73 | 114 ¸ 178 | 45 | 3 ¸ 76 | 46 | 80 | 90 | 455 | 11.0 |
| МЭУ 69-100 МЭУ 69-100Л | 89;В89 | 140 ¸ 273 | 60 | 3 ¸ 88 | 69 | 100 | 108 | 450 | 19.0 |
| МЭУ 85-127 МЭУ 85-127Л | 102; В102 114; В114 | 168 ¸ 273 | 75 | 3 ¸ 117 | 85 | 127 | 134 | 560 | 34.0 |
Выпускаются с правой и левой резьбой.
Ловильные метчики для колонн бурильных труб универсальные МБУ и специальные МСЭ изготовляют с резьбой под направление. Ловильная резьба универсального метчика — специального профиля, конусностью 1:16, а специального метчика — с профилем и размерами резьбы соответствующего ниппеля замка бурильных труб, конусностью 1:4 и 1:6. В остальном универсальные и специальные метчики по конструкции аналогичны метчикам для насосно-компрессорных труб.
Колокола ловильные (рисунок 58) предназначены для извлечения, оставшейся в скважине колонны бурильных или насосно-компрессорных труб. Захват происходит навинчиванием колокола на наружную поверхность труб.

Рисунок 58 — Ловильные колокола
а — несквозной типа К; б — сквозной типа КС; 1 — присоединительная резьба к колонне; 2 — ловильная резьба; 3 — присоединительная резьба к воронке.
Ловильные колокола по назначению подразделяются на несквозные К и сквозные КС. Сквозные колокола обеспечивают возможность пропуска сквозь корпус колокола сломанного или безмуфтового конца ловимой трубы с последующим захватом путем нарезания резьбы на наружной поверхности замков или муфты.
Все колокола изготовляют правыми и левыми. Правые колокола применяют для извлечения колонны правых труб целиком и левых труб по частям (отвинчиванием); левые колокола - для извлечения колонны левых труб целиком и правых труб по частям.
Труболовки предназначены для захвата насосно-компрессорных, бурильных и обсадных труб и извлечения их целиком или по частям из нефтяных и газовых скважин при аварийных ловильных работах.
Захват осуществляется путем заклинивания выдвижных плашек между внутренней или наружной поверхностью захватываемой трубой и стержнем или корпусом труболовки.
По характеру захвата труб труболовки подразделяются на две группы: внутренние (для захвата за внутреннюю поверхность) и наружные. Труболовки подразделяются на неосвобождающиеся и освобождающиеся (при необходимости освобождение инструмента от захваченных тру б в скважине производится после захвата и фиксации плашек в сомкнутом положении).
Труболовки спускают в скважину на колонне бурильных труб.
Внутренние и наружные освобождающиеся труболовки исполнения I и со спиральным захватным устройством состоят из механизмов захвата и освобождения, а внутренние неосвобождающиеся - только из механизма захвата. Труболовка внутренняя освобождающаяся типа ТВМ (рисунок 59) изготовляется в двух исполнениях: исполнение I — упирающаяся в торец захватываемой колонны; исполнение II — заводимая внутрь захватываемой колонны на любую глубину.

Рисунок 59 — Трубоголовка освобождающаяся типа ТВМ
а — исполнение I; б — исполнение II; 1 — корпус; 2, 8 — фиксаторы; 3 — стержень; 4 — ниппель; 5 — плашкодержатель; 6 — плашка; 7 — нижний стержень; 9 — пластинчатые пружины; 10 — поводок; 11 — стержень с зубьями.
Труболовки изготовляют с резьбами левого направления, они могут извлекать колонны труб как целиком, так и по частям, предварительно отвинчивая. По заказу потребителя труболовки исполнения I могут быть изготовлены с правыми резьбами.
Механизм захвата — шестиплашечный, состоит из плашек, стержня и наконечника, В труболовках ТВМ 60-1 механизм захвата — одноплашечный, состоит из стержня с гребенчатой насечкой, плашки и клина.
Механизм освобождения включает в себя тормозной башмак, ниппель, фиксатор, корпус и плашкодержатель, обеспечивающий синхронное перемещение плашек по наклонным плоскостям, а также удержание плашек в крайнем верхнем или сомкнутом (при освобождении) положении. В труболовке ТВМ60-1 функцию плашкодержателя выполняет поводок, ввинчиваемый в верхний торец плашки и после освобождения удерживающий плашку в сомкнутом положении.
Конструкция труболовок обеспечивает их освобождение от захваченной трубы внутри скважины с фиксацией плашек в сомкнутом положении механическим устройством.
Труболовка внутренняя неосвобождающаяся типа ТВ (рисунок 60) изготавливается с резьбами правого и левого направлений. Труболовки с резьбами правого направления могут захватывать и извлекать колонну труб целиком, а труболовки с резьбами левого направления - отвинчивать и извлекать их по частям.

Рисунок 60 — Труболовка внутренняя неосвобождающая типа ТВ
а, б — в сборе без центрирующего приспособления; в — в сборе с центрирующим приспособлением (направление с вырезом); г — в сборе с центрирующим приспособлением (направление с воронкой)
1 — переходник; 2 — стержень; 3 — плашка; 4 — клин; 5 — плашкодержатель; 6 — наконечник; 7 — специальный переводник; 8 — направление с вырезом; 9 — направление; 10 — воронка.
Механизм захвата труболовок — шестиплашечный; состоит из стержня, плашкодержателя, плашки и наконечника. В труболовках ТВ 48-80 и ТВ 60-93 механизм захвата — одноплашечный, состоит из стержня с гребенчатой насечкой, плашки и клина.
Конструкция труболовки позволяет освобождать их от захваченных труб на устье скважины без проведения сварочных работ.
Выпускаются труболовки других типов, например, труболовки наружные освобождающие ТНОС и ТНС, труболовки внутренние типа 73 ВТ 60-64, ТВР и т.д. «Ижнефтемаш», кроме оригинальных труболовок, производит комплект ловильного инструмента, который позволяет захватывать и извлекать из скважин насосно-компрессорные трубы, скважинные насосы, забойные двигатели, насосные штанги, штоки сальниковые устьевые, электрические центробежные насосы, а также одновременно извлекать НКТ и насосные штанги при ликвидации аварии.
Овершот (рисунок 61) с запорной втулкой предназначен для залавливания за муфту насосно- компрессорных труб диаметром 60, 70 и 89 мм в колонне 5 и 6 дюймов.

Рисунок 61 — Овершот
1 — переводник; 2 — упор; 3 — клапан; 4 — пружина; 5 — штифт; 6 — запорная втулка; 7 — корпус; 8 — овершот; 9 — направляющая.
Принцип работы:
Муфта НКТ, пройдя через овершот, упирается в клапан (3). Клапан, передвигаясь вверх, срезает штифт (5) и запорная втулка (6) падает на овершот (8). Жидкость с НКТ сливается через сливные отверстия упора (2) и клапана (3). Когда аварийных труб в скважине мало, определяем заловились аварийные НКТ или нет по давлению в НКТ, для чего разгружаем инструмент, отверстия в клапане закроются за счет конусной посадки клапана и перекрытия отверстий (А и Б). Давление в НКТ возрастает. Овершоты сменные.
Ловильный инструмент неосвобождающего плашечного типа предназначен для ловли и извлечения насосных штанг и насосно-компрессорных труб из эксплуатационной колонны. Ловители изготовляют с резьбой левого направления, их применяют с центрирующими приспособлениями (воронками).
Ловители ЛКШ-114 (рисунок 62) предназначены для ловли, отвинчивания и извлечения (целиком или по частям) насосных штанг за тело или муфту в эксплуатационной колонне, а также недеформированных насосно-компрессорных труб диаметром до 48 мм.
Ловитель состоит из корпуса 4, удлинителя 1, плашкодержателей 3 и 6, пружины 2, плашек 5 и 8, винта 7 и стопорного винта 9.

Рисунок 62 — Ловитель ЛКШ-114
К верхней части корпуса ловителя прикреплен удлинитель, а к нижней — воронка 10. В верхней и нижней частях корпуса на внутренней поверхности предусмотрены специальные пазы с профилем сечения типа «ласточкин хвост», в которых сверху расположены плашки для ловли штанг за тело, а снизу — плашки для ловли штанг за муфту.
Плашки перемещаются в корпусе синхронно с помощью специальных плашкодержателей, соединенных между собой винтами, и пружины.
| Техническая характеристика: | |
| Условный диаметр ловимой колонны, мм: | |
| наносных штанг: | |
| за тело | 16; 19; 22 |
| за муфту | 38; 42; 46 |
| труб: | |
| за тело | В33; В42; В48 |
| за муфту | В33 |
| Условный диаметр колонны обсадных труб, в которой производится ловля, мм | 144 ¸ 168 |
| Грузоподъемность, т | 24 |
| Основные размеры (с воронкой), мм | |
| диаметр | 95 |
| длина | 913 |
| Масса (с воронкой), кг | 31 |
Ловитель ЛКШТ-136 (рисунок 63) предназначен для ловли и извлечения насосно-компрессорных и насосных штанг (отдельных или расположенных в несколько рядов) из эксплуатационной колонны.

Рисунок 63 — Ловитель ЛКШТ-136
Ловитель состоит из трех захватных ярусов: нижнего — для захвата насосно‑компрессорных труб диаметром 73 мм и пучка насосных штанг; среднего — для захвата насосно-компрессорных труб диаметром 48 и 60 мм и насосных штанг за муфту; верхнего — для захвата насосных штанг за тело.
В состав каждого яруса входит корпус — верхний 5, средний 6 и нижний 12. Корпусы соединены между собой резьбой; средний и нижний — при помощи переводника 10.
В верхнем корпусе расположены две откидные плашки 2 с гребенчатой насечкой, которые укреплены в пазах кронштейна 4 на оси 3. Плашки могут поворачиваться в верхнее (раскрытое) положение и возвращаться в исходное.
К верхнему корпусу прикреплен переводник 1 для соединения с колонной бурильных труб, а к нижнему — специальная воронка 15 для направления ловимых штанг и труб внутрь ловителя.
В среднем и нижнем корпусах, на внутренней поверхности предусмотрены наклонные пазы с профилем сечения типа «ласточкин хвост», смещенные относительно друг друга на 120°, в пазах расположено по три плашки 9 и 14. В захватной части плашек имеются острые гребенчатые пазы, а с наружной стороны — конусные выступы с профилем сечения типа «ласточкин хвост», которые входят в соответствующие пазы корпусов. Сверху на торцах плашек установлены стаканы 7 и 13, служащие направляющими для пружин 8 и 11.
| Техническая характеристика: | |
| Условный диаметр ловимой колонны, мм: | |
| насосных штанг: | |
| за тело | 12; 16; 19; 22; 25; 28 |
| за муфту | 26; 38; 42; 46; 53; 60 |
| труб: | |
| гладких: | |
| за тело | 48 ¸ 73 |
| за муфту | 56 ¸ 73 |
| с высаженными концами: | |
| за тело | 33 ¸ 60 |
| за муфту | 18 ¸ 63.5 |
| Условный диаметр эксплуатационной колонны, в которой производится ловля, мм | 168 ¸ 273 |
| Грузоподъемность, т | 50 |
| Основные размеры (с воронкой), мм: | |
| наружный диаметр | 136 |
| длина | 1146 |
| Масса (с воронкой), кг | 95 |
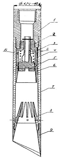
Штанголовитель типа ШК (рисунок 64) предназначен для извлечения оставшейся в скважине колонны насосных штанг и устьевых штоков.
Штанголовители типа ШК выпускают в двух исполнениях:
· для захвата за тело, муфту или головку насосной штанги;
· для захвата за муфту или головку насосной штанги.
Штанголовители изготовляют с резьбой правого направления; их применяют с центрирующим приспособлением (воронкой).
Штанголовитель состоит из переводника 1, нижнего 6 и верхнего 2 корпусов, соединенных между собой резьбой, нижней 7 и верхней 3 пружин, направляющего винта 3, цанги 5, вилки 4, плашек 5 и воронки 10.
На внутренней конической поверхности верхнего корпуса предусмотрена вилка с плашками для ловли штанг за тело. Плашки, перемещающиеся внутри корпуса на перьях вилки, удерживаются в крайнем нижнем положении с помощью верхней пружины.

Рисунок 64 — Штанголовитель типа ШК
а — исполнение 1; б — исполнение 2
В стенке нижнего корпуса имеются три сквозных паза 12 для выхода перьев цанги и байонетный паз 11 для перемещения направляющего винта.
Цанга, вставленная в нижний корпус, предназначена для захвата штанг за муфту или головку.
При подъеме ловителя цанга подхватывает штангу под муфту или головку и, не вращаясь, движется вниз до упора в бурт нижнего корпуса. При этом головка направляющего винта из крайней верхней точки перемещается в вертикальный участок байонетного паза и удерживает цангу от вращения.
Штанголовители спускают в лифтовые насосно-компрессорные трубы на колонне насосных штанг.
Технические характеристики штанголовителей типа ШК
Таблица 16
| Типоразмер штанголовителя | Использо вание | Условный диаметр НКТ в которых производится ловля, мм | Диаметр элементов ловимых насосных штанг (ГОСТ 13877‑80), мм | Грузопо дъемность, т | Основные размеры, мм | Масса, кг | |||
| тела | головки | муфты | D | L | |||||
| ШК´47´19 | 1 | 60 | 12 ¸ 19 | 26 ¸ 36 | 26 ¸ 38 | 6 | 47 | 693 | 4.9 |
| ШК´47´19-1 | 2 | 60 | — | 26 ¸ 36 | 26 ¸ 38 | 6 | 47 | 540 | 3.6 |
| ШК´57´22 | 1 | 73 | 12 ¸ 22 | 26 ¸ 46 | 26 ¸ 46 | 10 | 57 | 762 | 5.7 |
| ШК´57´22-1 | 2 | 73 | — | 26 ¸ 46 | 26 ¸ 46 | 10 | 57 | 607 | 4.1 |
| ШК´69´36 | 1 | 89; 114 | 16 ¸ 36 | 36 ¸ 52 | 38 ¸ 57 | 11 | 69 | 866 | 8.5 |
| ШК´69´36-1 | 2 | 89; 114 | — | 36 ¸ 52 | 38 ¸ 57 | 14 | 69 | 703 | 6.0 |
При ликвидации аварии в скважинах значительный объем работ занимает фрезерование аварийных металлических предметов и разбуривание цемента.
Скважинные фрезеры типа ФП предназначены для фрезирования верхнего конца насосно-компрессорных, бурильных и обсадных труб с целью захватывания их ловильным инструментом (рисунок 65).

Рисунок 65 — Скважинный фрезер типа ФП
Фрезер — торцевой, с опорно-центрирующим устройством, позволяющим центрировать его относительно оси колонны. Истирающе-режущие участки фрезера армированы композиционным твердосплавным материалом. В корпусе имеются промывочные отверстия и стружкоотводящие противозаклинивающие каналы.
Для присоединения фрезера к бурильной колонне на верхнем конце корпуса предусмотрена присоединительная резьба.
Скважинные фрезеры-райберы типа ФРЛ (рисунок 66, а) предназначены для прорезания окна в обсадной колонне под последующее бурение второго ствола.

| а | б |
Рисунок 66 — а —– скважинный фрезер-райбер типа ФРЛ
б — магнитный фрезер-ловитель типа ФМ
Фрезер-райбер состоит из режущей и ловильной частей. Режущая часть включает в себя цилиндрический и конический райберы и кольцевой фрезер. Ловильная часть представляет собой специальный захват, установленный внутри цилиндрического райбера.
Магнитные фрезеры — ловители типа ФМ (рисунок 66, б) предназначены для фрезерования и извлечения находящихся на забое скважины мелких металлических предметов с ферромагнитными свойствами.
Выпускаются также фрезеры типа ФЗ, ФТК, ФК, ФЗО, ФЗК и др.
В процессе ремонтных работ применяют различные вспомогательные инструменты и приспособления.
Скважинные механические фиксаторы типа ФГМ (рисунок 67) предназначены для определения местонахождения муфтовых соединений эксплуатационной колонны в скважине.
Фиксатор состоит из корпуса, узла фиксации, узла центрирования и патрубка с ловушкой.
Корпус 1 — основная деталь фиксатора изготовлен в виде ствола с приваренными к нему наконечниками и ребрами. Резьба в верхней части корпуса, служит для присоединения к колонне заливочных труб.
Узел фиксации состоит из трех защелок 3 подпружинных консольными пружинами и закрепленных в прорезях корпуса пальцем 4 и штифтом 5, а также поршня 6, закрепленного в корпусе установочным винтом 8.

Рисунок 67 — Скважинный механический фиксатор типа ФГМ
Узел центрирования представляет собой три центрирующие пружины 9, закрепленные в корпусе.
Патрубок с муфтой и ловушкой 7, соединяемый с нижним концом корпуса при помощи резьбы, служит для создания цементного забоя и улавливания поршня с целью повторного использования (на рис. 26 показана только ловушка).
Труборез-фрезер ТФ предназначен для резки насосно-компрессорных, обсадных труб и бурильных труб.
Труборез обеспечивает:
· резку толстостенных труб путем воздействия давления промывочной жидкости на резцы;
· возможность использования как самостоятельно, так и с якорем. Присоединительные резьбы по ГОСТ 633-80.
Универсальная печать типа ПУ2 (рисунок 68) предназначена для определения по оттиску, полученному на её алюминиевой оболочке, положения верхнего конца объектов, оставшихся в скважине вследствие аварий. Основными узлами печати являются корпус с деталями для получения оттиска предметов и зажимное устройство.
На утолщение в нижней части корпуса 2 надевается резиновый стакан 8, который прикреплен к корпусу четырьмя винтами 7. На резиновый стакан, в свою очередь, надевается алюминиевая оболочка 6, «перья» которой загибаются на кольцевой заплечик корпуса. На средней (цилиндрической) части корпуса установлен направляющий винт 4 и нарезана трапецеидальная резьба. По винту и резьбе движется зажимное устройство, при помощи которого зажимаются «перья» алюминиевой оболочки.

Рисунок 68 — Универсальная печать типа ПУ2
Зажимное устройство состоит из нажимной втулки 5 и нажимной гайки 3. На верхнюю часть корпуса навинчивается переводник 1 с замковой резьбой бурильных труб для присоединения к колонне труб, на которых печать спускается в скважину.
Печать в собранном виде медленно спускают в скважину на бурильных трубах. При необходимости спуск производят с промывкой, печать устанавливают в скважине на верхнем конце объекта. Нагрузка для получения отпечатка не должна превышать 20 кН.
Техническая характеристика универсальной печати типа ПУ2
Таблица 17
| Типоразмер печати | Условный диаметр колонны обсадных труб и НКТ, мм | Максимальная рабочая нагрузка для получения отпечатка, кН | Основные размеры, мм | Масса, кг | |
| D | L | ||||
| ПУ2-102 | 102* | 20 | 75; 84 | 295 | 4.5 |
| ПУ2-146 | 140 ¸ 146 | 106; 112; 118 | 360 | 10.0 | |
| ПУ2-168 | 168 | 125; 131; 137; 141 | 430 | 18.0 |
* Диаметр колонны насосно‑компрессорных труб.
Скважинный пробойник для насосно-компрессорных труб типа «ОСА» (рисунок 69) — высокоэффективный инструмент для ремонта скважин предназначен:

Рисунок 69 — Скважинный пробойник «ОСА»
· для сообщения полости труб с забоем скважины путем пробивки стенки НКТ без использования в подземном оборудовании дополнительных устройств, таких как разрушаемые болты и диафрагмы, управляемые и съемные клапаны и др.;
Вам также может быть полезна лекция "9 Удаление невидимых линий".
· для резки прихваченной в скважине колонны НКТ.
Инструмент выпускается в двух модификациях:
· свободного сбрасывания с приводом от столба жидкости;
· опускаемый на штангах.
В трубу НКТ сбрасывается или опускается на штангах инструмент. После достижения необходимого интервала из корпуса инструмента выходит жало и после пробивки отверстия в НКТ автоматически утапливается в корпусе (рисунок 69).
При спуске инструмента на штангах возможно пробивание множества отверстий в одном сечении — т.е. осуществляется резка труб.






















