Технология гидродинамических исследований скважин и пластов
9. Технология гидродинамических исследований скважин и пластов
При измерениях в скважинах глубиной свыше 1500 м применяют только механизированные глубинные лебедки.
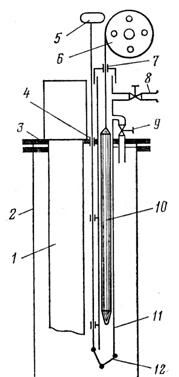
Для спуска приборов в скважины (с избыточным давлением на устье) на фонтанной арматуре должен быть установлен лубрикатор 1 (рис. 9.1), представляющий собой полый цилиндр и имеющий в верхнем торце сальник для прохода проволоки или кабеля, манометр 2 и кран 4 для сообщения лубрикатора с атмосферой. К корпусу крепится направляющий и оттяжные ролики 3 для прохода проволоки или кабеля 5.
|
Рис. 9.1. Оборудование фонтанной скважины для глубинных измерений. | Установка с лебедкой распола-гается примерно в 25—40 м от устья. Установку ставят таким образом, чтобы вал барабана лебедей был перпендикулярен направлению дви-жения проволоки от скважины до середины барабана. Для подготовки глубинного прибора 6 к спуску конец проволоки от лебедки 7 пропускают через сальник лубрикатора, вывинтив его предварительно из корпуса. Закрепив конец проволоки в подвесной части прибора, его помещают в корпус лубрикатора и завинчивают сальник. Сальник затягивают так, чтобы надежно уплотнить проволоку, но при этом обеспечить возможность движения ее через сальник. Лебедка Азинмаш-8 (Азинмаш-8А и Азинмаш-8Б) монтируется на автомашине ГАЗ-66. Рекомендуемые материалыВариант 1 - Курсовая работа - Определение параметров водохозяйственной системы Контрольная работа -34% ЛЮБАЯ практика в Синергии! -20% Помощь с любой практикой в МТИ! -26% Помощь с закрытием всего семестра! Она предназначена для спуска и подъема в скважину измерительных приборов на глубину до 6000 м (глу- |
бинные манометры, термометры), а также для измерения глубины скважин и уровня жидкости в них. Привод ее осуществляется от коробки передач автомашины через карданный вал и узел цепной передачи. Для ручного подъема приборов предназначена рукоятка, смонтированная на барабане лебедки.
Техническая характеристика лебедки
Диаметр бочки барабана, мм . . . . . . . . . . . . . . . . . . . . . . . . . . 165
Длина бочки барабана, мм . . . . . . . . . . . . . . . . . . . . . . . . . . . 200
Диаметр проволоки, мм . . . . . . . . . . . . . . . . . . . . . . . . . . . . 1,6-1,8
Габаритные размеры, мм:
длина . . . . . . . . . . . . . . . . . . . . . . . . . . . . . . . . . . . . . . . . 1195
ширина . . . . . . . . . . . . . . . . . . . . . . . . . . . . . . . . . . . . . 895
высота . . . . . . . . . . . . . . . . . . . . . . . . . . . . . . . . . . . . . . . 892
Габаритные размеры агрегата, м:
длина . . . . . . . . . . . . . . . . . . . . . . . . . . . . . . . . . . . . . . . . 6,1
ширина . . . . . . . . . . . . . . . . . . . . . . . . . . . . . . . . . . . . . . . 2,1
высота . . . . . . . . . . . . . . . . . . . . . . . . . . . . . . . . . . . . . . . 2,8
Масса, кг:
агрегата . . . . . . . . . . . . . . . . . . . . . . . . . . . . . . . . . . . . . . 4320
лебедки (без проволоки) . . . . . . . . . . . . . . . . . . . . . . . . . . . . . 323
Для точного отсчета глубины спуска прибора лебедка оборудована мерительным аппаратом: мерного шкива с двумя нажимными роликами, предупреждающими проскальзывание проволоки, и счетчика, связанного с мерным шкивом одной парой передаточных шестерен.
Мерительный аппарат позволяет определить глубину положения прибора с точностью до 0,1 м. Лебедка управляется рычагами.
9.1 Исследование добывающих и нагнетательных скважин при установившихся режимах работы (методом установившихся отборов)
При исследовании фонтанных скважин методом установившихся отборов режим эксплуатации изменяют путем смены штуцера, а при исследовании компрессорных скважин —уменьшением или увеличением противодавления на устье (с помощью штуцера или регулировочного вентиля), либо расхода рабочего агента.
Режим эксплуатации нагнетательных скважин изменяют с помощью регулирующих устройств на насосной станции, а забойное давление определяют по манометру, установленному на
В общем случае для исследования добывающих скважин методом установившихся отборов необходимо на нескольких установившихся режимах эксплуатации (обычно трех-четырех) измерить ее дебит, обводненность продукции, газовый фактор и забойное давление или перепад (рпл—рзаб). В зависимости от конкретных условий программа измерений может быть сокращена. Так, если при всех режимах эксплуатации забойное давление остается выше давления насыщения нефти газом, то газовый фактор можно определить только на одном режиме цикла или воспользоваться данными предшествующих исследований. В тех случаях, когда имеется полная уверенность, что индикаторная диаграмма по скважине должна быть прямолинейной, достаточно ограничиться измерением дебита, обводненности, забойного давления и депрессии (рпл—рзаб) только на одном режиме.
Исследование может быть начато с режима минимального или максимального отбора. Время установления каждого нового режима зависит от свойств продуктивного пласта и на каждом объекте определяется опытным путем. При прочих равных условиях это время меньше при фильтрации в пласте однофазной жидкости и больше при фильтрации газированной жидкости.
На большинстве объектов, разрабатываемых при давлениях выше давления насыщения, скважины эксплуатируются на каждом режиме исследовательского цикла от одного до пяти дней.
Дебит и забойное давление измеряют в конце периода установления режима. После этого скважину переводят на следующий режим. Забойные давления на каждом режиме определяют только в тех случаях, когда скважины эксплуатируются при сравнительно больших депрессиях (более 0,5—1,0 МПа). Ошибки измерений при этом обычно не приводят к большому разбросу точек при построении индикаторных диаграмм в координатах q—рзаб. При малых депрессиях (порядка 0,2— 0,3 МПа) разброс может быть настолько большим, что индикаторную диаграмму в этих координатах построить не удается. В этих случаях на каждом режиме следует измерять и забойное и пластовое давление, а диаграмму строить в координатах q—
. Депрессия
, определяемая на каждом режиме, имеет, как правило, меньшую относительную ошибку, чем рзаб, так как при измерениях за один спуск прибора абсолютные ошибки рпл и рзаб примерно одинаковы и поэтому на разность (рпл—рзаб)=
почти не влияют. Однако при незначительных депрессиях (до 0,3—0,4 МПа) на точность определения
начинают оказывать влияние ошибки расшифровки бланков манометров. Тогда для измерений
следует пользоваться дифференциальными глубинными манометрами.
9.2 Исследование добывающих и нагнетательных скважин методом восстановления (падения) забойного давления.
При исследовании фонтанных и компрессорных скважин до изменения режима их эксплуатации необходимо измерить дебит и обводненность продукции, а также буферное и затрубное давление.
Для измерения забойного давления и регистрации к. в. д. в скважину спускают глубинный манометр или дифманометр на глубину середины интервала перфорации или как можно ближе к ней и продолжают эксплуатировать скважину на установившемся режиме в течение 15—20 мин, а затем закрывают задвижку на выкидной линии фонтанной скважины. На компрессорной скважине остановку осуществляют путем одновременного закрытия задвижки и прекращения подачи рабочего агента. Время восстановления давления на забое после остановки скважины на промыслах устанавливают опытным путем (обычно несколько часов). Если это время исчисляется днями, полная к. в. д. не снимается, а проводят отдельные измерения глубинным манометром, спускаемым на 15—20 мин через выбранные интервалы времени после остановки скважины.
Глубинные дифманометры с газовым заполнением обычно используют в тех случаях, когда депрессия на забое не превышает 20 % от забойного давления, а температура на заданной глубине (в интервале перфорации) практически не изменяется после остановки скважины. При установке глубинных приборов выше интервала перфорации форма к. в. д. может быть искажена за счет изменения температуры жидкости в ствол после остановки скважины, а также за счет изменения средней плотности жидкости в процессе восстановления давления, если скважина дает обводненную нефть. Влияние этих факторов особенно сильно сказывается, если чувствительным элементом прибора является сжатый газ. При достаточно большом расстоянии между средней глубиной интервала перфорации и глубиной спуска прибора и большой обводненности продукции скважины, влияние осаждения воды на забой после ее остановки может оказаться столь существенным, что прибор будет регистрировать падение забойного давления, в то время как оно в интервале перфорации растет.
При остановке нагнетательных скважин температура воды в стволе резко повышается за счет тепла окружающих пород. Поэтому обычно при исследовании таких скважин для построения кривых падения давления используют данные изменения устьевого давления после остановки. Эти данные используют в тех случаях, когда в скважине имеются насосно-компрессорные трубы (НКТ), башмак которых максимально приближен к интервалу перфорации, отсутствуют пакерующие устройства или устьевое оборудование и трубы негерметичны. При закачке воды через НКТ изменение давления контролируется с помощью манометра, установленного на устье затрубного пространства, а при закачке воды через затрубное пространство—с помощью манометра, установленного на буфере скважины. Если закачка осуществляется одновременно через НКТ и затрубное пространство, то перед исследованием воду закачивают только через затрубное пространство в течение 3—5 дней, необходимых для стабилизации режима закачки.
В тех случаях, когда к. в. д. регистрируется только устьевым манометром (буферным или затрубным), то с помощью этой кривой, пользуясь гидростатической формулой, можно построить достаточно точную кривую восстановления забойного давления, если известно изменение плотности жидкости в скважине во времени после ее остановки. Это изменение связано с изменением средней температуры жидкости в стволе. На ряде объектов проводят специальные исследования по выявлению температурных поправок на плотность и составляют таблицы или графики, по которым эти поправки определяют на разные моменты времени после остановки скважины в зависимости от ее приемистости.
Иногда после остановки нагнетательной скважины устьевое давление быстро снижается до атмосферного и зарегистрировать к. в. д. не удается. В таких случаях режим изменяют не путем остановки, а уменьшением расхода закачиваемой воды до такой величины, при которой давление на устье в течение всего периода регистрации кривой будет оставаться выше атмосферного.
9.3 Исследование скважин, оборудованных ШСН и ЭЦН.
Изменение режима эксплуатации глубинно-насосных скважин можно достигнуть: 1) изменением длины хода полированного штока; 2) изменением числа качаний балансира; 3) одновременным изменением хода штока и числа качаний. Если изменить дебит скважины этими способами не удается, что возможно в случаях, когда при всех доступных комбинациях длины хода и числа качаний теоретическая подача насоса превышает приток жидкости из пласта, прибегают к изменению глубины подвески насоса. В этих случаях на всех режимах динамический уровень жидкости как правило, остается у приема насоса и забойное давление может быть определено по гидростатической формуле
, где Н — глубина точки приведения; L — глубина приема насоса.
По скважинам, оборудованным ЭЦН, изменение режима эксплуатации производится чаще всего увеличением или уменьшением устьевого противодавления путем смены штуцера или закрытием задвижки на выходе.
Для регистрации к. в. д. и определения пластового давления скважины останавливают. Если в затрубном пространстве имеется избыточное давление, то одновременно с регистрацией к. в. д. на забое регистрируют и кривую восстановления давления в затрубном пространстве по показаниям манометра, установленного на устье.
В скважинах, оборудованных ЭЦН, кривые восстановления давления могут быть сняты с помощью лифтовых манометров, манометров, спускаемых на проволоке (если установлен суфлер), и в отдельных случаях с помощью дифманометров со специальными наконечниками. Однако качественные кривые могут быть получены лишь в случае, когда насос установлен вблизи пласта. На практике же ЭЦН устанавливают обычно на несколько сотен метров выше пласта, что исключает возможность качественных исследований. В необходимых случаях в интервале между насосом и продуктивным пластом подвешивается хвостовик из насосно-компрессорных труб, у башмака которого устанавливают лифтовый манометр. Чаще всего используют специальные устройства — суфлеры, устанавливаемые выше насоса и позволяющие с помощью обычных манометров, спускаемых в лифтовые трубы, измерять давление в затрубном пространстве вблизи насоса.
| | На рис. 9.2 показан суфлер конструкции ТатНИИ. Он состоит из муфты 11, служащей для соединения лифтовых труб и являющейся базой всего устройства; корпуса 7 с отверстиями, связанными с затрубным пространством посредством трубок 12, и клапанного устройства, состоящего из трубки 2 с отверстием 6, ползуна 7, пружины 8 и головки 4. Верхняя часть корпуса 1 выполнена в виде конуса и служит посадочным гнездом для наконечника 3 глубинного манометра. В нормальном состоянии ползун 7 отжат пружиной 8 в верхнее положение и отверстие 6 закрыто (внутренняя полость лифтовых труб 10 с затрубным пространством не сообщается). При спуске манометра его наконечник 3 садится на конус корпуса 1. При этом ползун 7 под действием веса прибора отжимается вниз, отверстие 6 открывается, что обеспечивает связь чувствительного элемента прибора с затрубным пространством. Точность посадки наконечника манометра обеспечивается направляющими пластинами 5, приваренными к его корпусу, а герметичность — уплотнительным устройством 9. |
Глубиннонасосные скважины в последние годы исследуют путем спуска глубинных приборов малого диаметра (25-30 мм) в затрубное пространство. Одна из схем оборудования устья скважины для спуска манометров показана на рис. 9.3.
|
| ◄ Рис. 9.3 Схема оборудования устья насосной скважины для спуска приборов в затрубное пространство В эксцентричной планшайбе 3, на которой подвешена колонна 7, устанавливается корпус 11 погружного лубрикатора (конструкция ВНИИ). В нижней части лубрикатора предусмотрен клапан 12, который может открываться и закрываться с помощью тяги 6, для уплотнения которой имеется сальник 4. При нормальной работе скважины клапан 12 закрыт. Перед спуском прибора в скважину необходимо отвернуть головку лубрикатора 7 (при закрытом уравнительном вентиле 9); через сальник головки пропустить конец проволоки от лебедки и закрепить его в головке прибора 10, а затем ввести прибор в лубрикатор и навинтить головку 7. Чтобы открыть клапан 12, необходимо предварительно сообщить внутреннюю полость лубрикатора с затрубным пространством путем открытия уравнительного вентиля 9. После этого клапан открывается с помощью тяги 5, спускают прибор в скважину. Газ из затрубного пространства выпускают при открытых вентилях 9 и 8. |
|
Рис. 9.4. Схема эксцентричной план-шайбы на устье скважины, оборудованной штанговым глубинным насосом. | Планшайба (рис. 9.4) создает односторонний увеличенный зазор между подъемными трубами и обсадной колонной. Рекомендуемые размеры планшайбы приведены в табл. 9.1. Таблица 9.1 Рекомендуемые размеры планшайбы в мм
|
Если по техническим причинам глубинные манометры нельзя спустить в скважину, то вместо кривой восстановления давления строят кривую восстановления уровня жидкости в затрубном пространстве. В этом случае вначале замеряют динамический уровень (2—3 раза), а после остановки насоса через определенные промежутки времени (1—2 мин) определяют текущее положение уровня жидкости. Частоту измерений подбирают опытным путем, она должна быть тем больше, чем выше скорость подъема уровня.
При исследовании скважин методом установившихся отборов во всех случаях, когда это технически возможно, применяют лифтовые или малогабаритные глубинные манометры.
9.4 Исследование наблюдательных и пьезометрических скважин экспресс-методами
Пьезометрические скважины, предназначенные для контроля за изменением давления в отдельных точках пласта и наблюдательные, предназначенные для контроля за перемещением водонефтяного контакта, как правило, не имеют эксплуатационного оборудования. В большинстве случаев эти скважины исследуются экспресс-методами, т. е. методами, проводимыми без эксплуатации скважин. Пьезометрические скважины часто используются в качестве реагирующих при гидропросушивании.
Методом подкачки газа можно исследовать переливающие и непереливающие скважины. В зависимости от оборудования скважины газ закачивается либо непосредственно в обсадную колонну (если скважина не оборудована насосно-компрессорными трубами), либо в затрубное пространство, либо в насосно-компрессорные трубы, либо, наконец, одновременно и в трубы и в затрубное пространство. В процессе закачки газа регистрируются изменение забойного и устьевого давления с помощью манометров, установленных на устье, и глубинного дифманометра.
Схема оборудования скважины без насосно-компрессорных труб для исследования методом подкачки газа приведена на рис. 9.5.
|
Рис. 9.5. Схема оборудования устья скважины при подкачке газа: Вместе с этой лекцией читают "13. Математическая модель изменения уровня жидкости". 1 и 6—манометры; 2—обсадная колонна; 3 — задвижка; 4 — вентиль; 5—лубрикатор; 7—лебедка; 8—компрессор;. 9—линия сжатого газа | Метод подлива жидкости применяют толь-ко для исследования непереливающих сква-жин. Этим методом одновременно проверяют степень сообщаемости ствола пьезометрической скважины со вскрытым продуктивным пластом. Способ исследования заключается в следую-щем: 1) измеряют начальный статический уровень (расстояние от устьевого фланца до уровня); 2) в скважину заливают воду; 3) прослеживают изменение уровня во времени после подлива. Статический и динамический уровни измеряют с помощью хлопушек, электрокон-тактных желонок или других устройств, спускаемых на проволоке или электрическом кабеле. Момент посадки спускаемого устройства на уровень определяют по звуку в случае спуска хлопушек или звонковых устройств; по показанию вольтметра или с помощью сигнальной лампочки в случае применения электроконтактных устройств; по ослаблению натяжения проволоки при спуске желонок, поплавков, грузов и т. п. |
Глубина уровня в момент посадки на него спускаемого устройства фиксируется по счетчику глубины или по специальным меткам-наплавкам на проволоке либо путем измерения рулеткой расстояния от нижнего торца спускаемого устройства до метки, на проволоке (против обреза устьевого фланца). Количество заливаемой воды определяют из условия, чтобы при отсутствии сообщаемости уровень в скважине поднялся на несколько метров. Эта предполагаемая высота подъема должна быть заранее рассчитана.
При исследовании непереливающих скважин экспресс-методами быстрое повышение уровня осуществляется не путем подлива, а погружением под уровень специальных вытесняющих баллонов (способ мгновенного подлива). Технологические операции при исследовании таким способом проводят в следующей последовательности: 1) измеряют начальный статический уровень, 2) под уровень погружают вытесняющие баллоны вместе с регистрирующим прибором (например, дифманометром «Онега-1», 3) баллоны и прибор выдерживают в скважине 1—3 часа для регистрации кривой падения уровня (время для разных объектов устанавливают опытным путем).
Если скважина не имеет связи с вскрываемым пластом, то для восстановления сообщаемости она временно эксплуатируется компрессорным способом (от нескольких часов до нескольких дней). За это время призабойная зона очищается от механических примесей и ржавчины. После проведения таких работ вновь проверяют сообщаемость ствола с пластом и в зависимости от результатов составляют заключение о пригодности или непригодности скважины для наблюдений.







1,5



















